
USER MANUAL

Check that the unit has not been damaged during transport
![]()
Read all cautions and warnings prior to the operation of this equipment.
Protection Against Fire

Fire
- Maintain a minimum of 1-foot distance from any type of flame.
- Do Not install the unit too close to a heat source.
- Make sure cables are properly secured away from movement.
- The maximum surface operating temperature is 125°F
- The unit must not be left on for long periods of time.
Protection Against Electrical Fire
![]()
Electrical
- Disconnect power before servicing.
- For connection to the main power supply proceed to page 5.
- This fixture must not be left on for long periods of time.
- This fixture is intended for indoor use, do not install this unit outdoors.
Protection Against Mechanical Hazards
Mechanical
- Use safety measures when hanging the unit.
- Use quality bolts when positioning unit
- Do not open, risk of electrical shock.
What is Included
1pc User Manual
Specifications
Part Numbers
Fixture
5052– Deco PVW20
Mechanical Specifications
Fastening System: Universal Ceiling Mount Brace
Power Connection: RJ45 in and out Y Connection
Housing Material: Aluminum
Cable Length: 8 Feet
Beam Angle: 120 degree
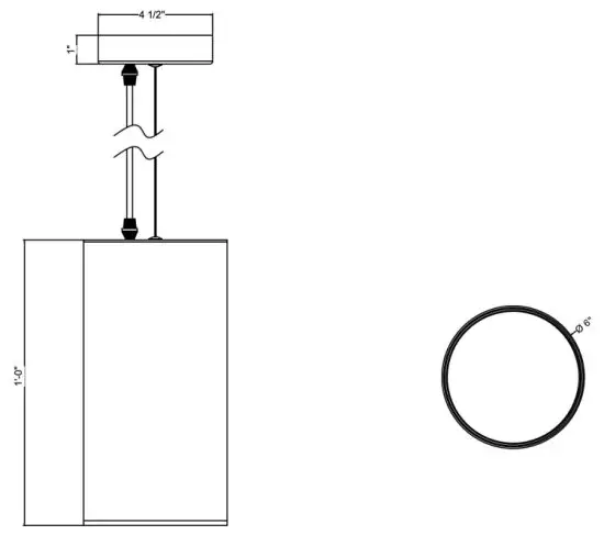
Size: 6’ x 12” (fixture)
Weight: 3.5lb
Electrical Specifications
LED Type: SMD 5050 Variable White
Color Temp WW: 2605K Warm White 6475K Cool White
LED Qty: 98
Each LED Watts: .20
Power Input: 24V
Total Max Power: 20W
Drive Method: Constant Voltage
Main Power Connection
Important information!
- Deco Lighting fixtures are specifically designed to be used with Deco Drivers.
- Maximum Cable distance of 100ft before voltage drop. (voltage drop will cause intensity drop)
- Max Power 20W output driver 1 unit per output
- Max Power 96W output driver 5 units per output
- All fixtures connected together must be the same type (do not connect Multiple Color or Single Color fixtures in the same output)
- Must use Cat 6, 24 AWG, or thicker to connect the fixture and fixture to fixture. (not included)

DMX-512 Control
When using the Deco PVW20 with Deco Drivers the fixture is intended to be used in Ch2 modes. The Deco Driver will be required to be set in Ch2 operating modes.
Ch2 Mode
Warm White
Cool White
Deco Driver Info
| Power Link | 20W Output Driver | Can connect 1 unit per output port |
| 96W Output Driver | Can connect 5 units per output port | |
| Ch Mode | Ch 2 | Use Ch2 Mode to control the unit |
Installation
Caution!
- The installation must be carried out by an authorized dealer or trained professional.
- Unit may cause severe injures if you have doubts concerning the safety do not install.
- Unit is to be 24inches away from flammable materials (decoration material)
When installing the fixture it is very important that you follow common safety procedures. Installation requires extensive experience including but not limited to calculating working loads, material being used, and periodic safety inspections. If you lack these qualifications, do not attempt the installation yourself, instead use a professional structural rigger.
The installation location of the Fixture has got to be built in a way that it can hold 10 times the weight for 1 hour. Installation should be checked at least one time every 2 years by a skilled person.

Installation
Step 1: Remove the suspension brace (Fig1) by removing the side screws (Fig3) on the canopy.
Step 2: Secure the suspension brace to the electrical box with a screw (Fig2)
Step 3: Make necessary power connections using the RJ45 in and out connections
Step 4: Secure the canopy to the suspension brace using (Fig3) screws Height Adjustment
Step 5: Deco PQ20 uses a 2 part cable strain relief. To loosen start by holding the bottom part of the strain relief and unscrewing the top part this will allow the excess power cable to be stored inside the fixture.

Step 6: To adjust the height of the pendant press on the center part of the steel cable holder and push the cable inwards. This will release the steel support cable allowing you to adjust the desired height there is a maximum of 6 feet cable length to be adjusted.

Size & Weight

| Fixture Size | 12″ (304.8mm) X 6″ X (152.4mm”) |
| Fixture Packaged | 6.75″ X 6.75″ X 15.5″ |
| Net Weight | 3.51b |
| Gross Weight | 3.91b |
Cleaning and Maintenance
Installation Maintenance: The operator has to make sure that the unit is operating safely and has the installation and electronics checked by an expert every 2 years.
The following points have to be considered during the inspection:
1) All screws used for installing the device or part of the device have to be tightly connected and must not be corroded.
2) There must not be any deformations on the housing, fixation, and installation spots.
3) The electronic power supply cables must not show any damages, material fatigue (e.g. porous cables), or sediments.
Further instructions depending on the installation spot and usage have to be adhered to by a skilled installer and any safety problems have to be removed.
4) Fixture must only be cleaned using soap and water
Warranty Information
Warranty Conditions
– Unless otherwise stated in writing, your product is covered by a one-year parts and labor limited warranty.
– LEDs and LAMPS are not guaranteed to match in color or output.
-It is the owner’s responsibility to furnish receipts or invoices for verification of purchase, date, and reseller or distributor. If the purchase date cannot be provided, the date of manufacture will be used to determine the warranty period.
-Goods returned under warranty must follow the proper authorization procedure and must be accompanied by a copy of the original invoice.
-Goods repaired under warranty will be returned to the owner with the freight prepaid by MSI via the most economical means of shipment.
-Repair or replacement as provided for under this warranty is the exclusive remedy of the consumer. MEGA SYSTEMS INC. makes no warranties, express or implied, with respect to any product, and Mega Systems specifically disclaims any warranty of merchantability or fitness for a particular purpose. Mega Systems shall not be liable for any indirect, incidental, or consequential damage, including lost profit, sustained or incurred in connection with any product or caused by a product defect or the partial or total failure of any product regardless of the form of action, whether in contract, tort (including negligence), strict liability or otherwise, and whether or not such damage was foreseen or unforeseen.
– Warranty is void if the product is misused, damaged, modified in any way, or for unauthorized repairs or parts. This warranty gives you specific legal rights, and you may also have other rights which vary from state to state.
Customer Support Mega Lite has a customer support line to provide set-up help and to answer any question should you encounter a problem. Please visit our website for any other related technical documents. For service-related issues please contact our service dept.
Monday—Friday 9am to 6pm CST
Voice: 210-684-2600
E-mail: [email protected]
Manual Version
Please Visit www.mega.lighting for the most up to date manual version
| Document Version | Date | Fixture Software | Notes |
| 1.1 | 1/03/2021 | N/A |

Mega Lite
18668 Highway 16N
Helotes, Texas 78023
Ph 210-684-2600 Fax 210-855-6279
www.mega.lighting / [email protected]
















