PME series
45mm Modular Style LED Tower Light
Installation Instructions![]()

PMEG Series LED Tower Light
Warning :Risk of electrical shock, live voltage may be present.
Review these instructions prior to perfor-ming any maintenance or assembly.
- De-energize the Tower Light power source.
Isolate the power source from the Tower Light assembly. - Do not operate this device at any voltage other than the voltage identified on the name plate.
- Mounting to conduit should adhere to the National Electrical CODE(NEC) and any applicable local Standards.
- For proper operation, wire as shown in wiring diagram.
- Do not pull on wires.
Assembly of TOWER LIGHT
Slide base cover down base unit and rotate until registration tab aligns with notch then rotate to secure. Follow the same procedure to secure lenses.
- Install fixing screw and tighten. See fig. 1
- Apply caps rotate to screw.
Base mount assembly
- Loosen screw on bottom of base unit Do not totally remove t h i s screw.
- Insert the mounting pole and tighten the screw at the bottom of base unit.
- If you have a plastic base mount, insert it i n t o the bottom of pole and tighten the screw(s).
LED Module assembly


Specification
| Power supply | 12VAC/DC , 24VAC/DC , 90-240VAC |
| Protection structure | IP52 |
| Lens color | 5 Color – Red, Yellow, Green, Blue, Clear |
| Flashing rate | App. 80±5times/minute |
| Buzzer volumel | App. 80±5dB, Continuous sound (pi ~~~~~~~~~~~) |
| Ambient Temperature | -15 to 40°C (no freezing) |
| Storage ambient temperature | -20 to 70°C (no freezing) |
| Approvals | CE , RoHS |
| Wire size | UL1007/22AWG |
Current Consumption (RMS value ±10%)
| Power supply | lstack | 2stacks | 3stacks | 4stacks | 5stacks | |
| 12VAC/DC | General | 0.06A | 0.10A | 0.17A | 0.20A | 0.24A |
| Buzzer | 0.07A | 0.11A | 0.18A | 0.21A | 0.25A | |
| 24VAC/DC | General | 0.03A | 0.07A | 0.11A | 0.15A | 0.18A |
| Buzzer | 0.06A | 0.09A | 0.14A | 0.17A | 0.20A | |
| 90 -240VAC | General | 0.02A | 0.05A | 0.07A | 0.10A | 0.12A |
Ordering infomation
![]()
- Mounting Style
G Plastic mount base P Aluminum Pole + Plastic mount base M Aluminum Pole + M20 screw plastic mount - Light Style
No mark Steady B Steady + Buzzer Z Steady + Flashing + Buzzer F Steady+Flashing – Buzzer type: 12V, 24V products only are available.
- Number of Stack
1 1 stack 2 2stacks 3 3 stacks 4 4 stacks 5 5 stacks - Power Supply
01 12VAC/DC FF 90~240VAC 02 24 VAC/DC - Lens Color (Top t o Bottom)
R Red Y Vallon G Green B Blue C Clear
Dimensions (Unit: 2mm)

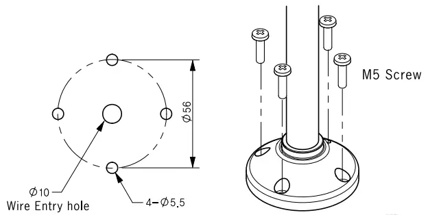
Mounting dimensions

PMEM type Mounting (unit: mm )
Well Mounting L-Bracket/MAN-DS25

Connections


Specifications and dimensions listed in the User Manual are subject to change without prior notice for product quality improvement.
118-1, Ungbigongdan-gil, Yangsan-si, Gyeongsangnam-do, Korea, 50524
TEL: 82-55-371-5200
http://www.menics.co.kr
FAX: 82-55-371-5202
E-mail: [email protected]



















