Model: SPENDW
SPEND LED Wooden Pendant Light
Instruction Manual
SPEND LED Wooden Pendant Light
All installations must be carried out by a qualified electrician following local regulations. Make sure that the power is switched off before installation. Please read and follow the ‘Installation instructions’ and ‘Safety instructions’ sections carefully before commencing installation. Installation of this model can change from time to time please read the instructions every time before installation. For detailed specifications, please go to our website eurotechlighting.co.NZ
| Code: | Colour: | Dimensions (mm): | Dimmable: | Driver: | Fixing Area (mm): | Kelvins: | Lumens: | Material: | Watts: |
| SPEND | Ash Solid Wood | 1200W x 80H | Yes | Driver Included | 300W x 45H | 4000K | 1680lm | Wood | 21W |
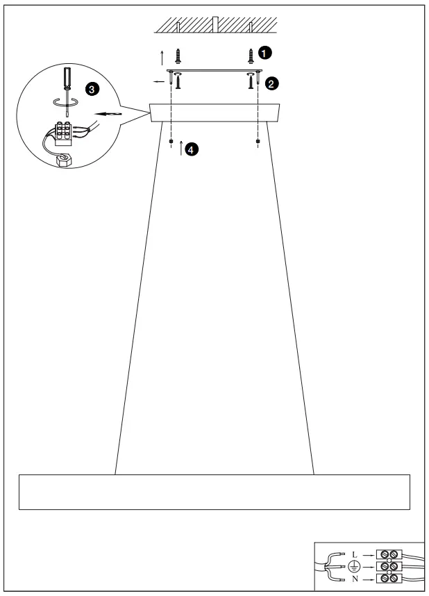
Installation Instructions
- Using mounting brackets as a guide drill two mounting holes. Knock two white expansion tubes provided into the holes.
- Turn two pieces screws into the white expansion tubes through the bracket holes to fix the bracket on the ceiling.
- Connect wires into the connector block provided paying attention to live, natural + earth markings.
- Once all wires are connected, place your LED luminaire into place. Ensure installation is correct before switching on the fitting to test.

Safety Instructions
Read these instructions carefully before commencing installation.
- The light source contained in this luminaire shall only be replaced by the manufacturer or this service agent or a similarly qualified person.
- This LED luminaire must be installed by a licensed electrician ONLY following all local regulations.
- Ensure that the cables will not be squeezed or damaged by sharp edges.
- Clean the light with a soft cloth.
- Misuse of/or changes to the appliance shall void all warranties.
For detailed specifications, please go to our website eurotechlighting.co.NZ
















