C2G 29973T Wireless Conference Room Video Hub User Manual

Introduction
29973 is a Full HD wireless transmission device.
This solution delivers uncompressed 1080p full HD video and audio content to your existing HDTV set wirelessly. It operates the transmission in 5.1 GHz~ 5.9 GHz frequencies, and it can adjust its communication frequency automatically in case of interference from another RF system. With built-in Omni-directional antennas, it can transmit uncompressed video content to 7 meters (20 feet) LOS (Line of sight) with no latency.
Package Contents
- 29973 Transmitter
- 29973 Receiver
- 1 x DC 5V/2A Micro USB Power Adapter
- 1x Power Adapter Cable
- 1x 12V/1A CD Power Brick
- 1 x HDMI Cable
- 1 x USB-C Cable
- 2 x Mounting Anchors
- 2 x Mounting Screws
- Manual
Product Overview
29973 Transmitter
Front of Wireless Transmitter

| FRONT OF TRANSMITTER | DESCRIPTION | |
| 1 | Source Selection Switch | Press switch to select input. Three LED lights indicate hub is powered on. |
| 2 | Source LED | LED light indicates which source is currently selected. |
| 3 | HDMI Input | Connect HDMI cable between this port and HDMI output port of source device. |
| 4 | HDMI Input | Connect HDMI cable between this port and HDMI output port of source device. |
| 5 | USB-C Input | Connect USB-C cable between this port and USB-C output port of source device. |
| 6 | USB-C Input | Connect USB-C cable between this port and USB-C output port of source device. |
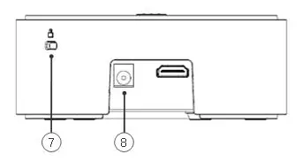
Rear of Wireless Transmitter

| REAR OF TRANSMITTER | DESCRIPTION | |
| 7 | Security Slot | Attach a specialized security cable to the Hub’s Security Slot. |
| 8 | Power Input | Connect 12V/1A DC universal power adapter to the power port. |
29973 Receiver
Wireless Receiver

RECEIVER | DESCRIPTION | |
| 9 | USB Micro-B | Connect to receiver’s power adapter. |
| 10 | HDMI Output | Connect to HDTV set via an HDMI cable. |
Installation
Step 1: Setup the transmitter
Connect a source device to the transmitter:
- Connect the supplied power adapter to the DC IN port of the transmitter and a wall socket. Once the transmitter is connected to power the LED indicator lights on the source selection switch will be white.
- Plug an HDMI cable or USB-C cable into transmitter’s corresponding connector.
- Plug the cable into the Source Device.
Step 2: Setup the receiver
HDTV set connection with receiver

- Connect the HDMI cable to the HDMI OUT jack of the receiver and to your HDTV set (or an HD projector).
- Connect the supplied power adapter to the Micro USB port of the receiver and a wall socket. When it’s connected to power the Power LED indicator will be white.
Step 3: Boot up the transmitter and receiver
- After the power cord is plugged into the electrical outlet, the Wireless Conference Room Hub will be turned on and link established automatically.
When transmitter power is unplugged, receiver will enter Standby mode (POWER LED of receiver is lit in red) when link is dropped for over 10mins. - When receiver is in Standby mode (Receiver POWER LED is lit in red), and transmitter is powered, the transmitter will wake up the receiver and automatically to establish a link.
- During the warm-up period, the POWER LED will blink white until the signal link between the transmitter and the receiver is established. It will take around 15 ~ 20 seconds for boot up and link establishment if the operation is in normal condition.
- Ensure your TV set or projector is in “HDMI input” mode and is powered on.

- If all operation is normal, the POWER LED and INFO/CHANNEL LED will be solid white.
Please refer to the below form containing detailed LED indicator and OSD description of transmitter / receiver:
LED/OSD Behavior
- The power LED will be solid white when the unit is powered on.
- The source LED will be solid white when the source is selected. (The default setting of the source is HDMI, as indicated by the solid white HDMI LED.)
Press the source button to switch to the input source; the switch sequence is: HDMI USB TYPE-C1 USB TYPE-C2 HDMI. - If there is signal (HDMI 5V , USB TYPE-C VBUS)in the source input:
- The TX unit will send the CEC message “TEXT VIEW ON” to turn on the TV set.
- The TX unit will then send the CEC message “ACTIVE SOURCE” to switch to the selected source of the TV set .
- For the “auto switch”:
If the input source A (maybe HDMI or USB TYPE-C1 or USB TYPE-C2) is selected originally, and then the signal (HDMI 5V or USB TYPE-C) is detected on source B (maybe HDMI or USB TYPE-C1 or USB TYPE-C2). The input source will be auto switched from source A to source B.- The TX unit will send the CEC message “TEXT VIEW ON” to turn on the TV set.
- The TX unit will then send the CEC message “ACTIVE SOURCE” to switch to the selected source of the TV set .
- If there is no signal to the source input: the TX unit will not send a CEC message.
- If there is no signal to the source input and if the end user plugs in the source cable and a signal is received:
- The TX unit will send the CEC message “TEXT VIEW ON” to turn on the TV set.
- The TX unit will then send the CEC message “ACTIVE SOURCE” to switch to the selected source of the TV set.
- If there is a signal to the source input and if the end user presses the source button to switch the source without a signal present: the TX unit will not send a CEC message, and the TV (display unit) will display a black screen.
- If there is a signal to the source input and if the end user then unplugs the source cable, the TX unit will not send a CEC message, RX will send 480P black screen and the OSD will display which input source is selected : “HDMI”, “USB Type-C-1”, or “USB Type-C-2”.
Step 4: Mounting the receiver to the Wall
- Mark pilot holes by holding mounting plate (2) on wall.
- Drill pilot holes from markings.
- Insert the supplied anchors (3) into the wall.
- Mount receiver (5) to mounting plate with the two supplied (4) screws.
- Align the four holes that had been used for the pilot holes to the four anchors in the wall.
- Use the four supplied screws (1) to screw into the anchors. Do not over tighten.

Troubleshooting


Supported Resolution

Audio Bit Rate Support
- Digital Audio from HDMI inputs: Up to 6Mbit/s bit-rate support.
- Support AC3 and DTS.
o 2-channel PCM audio: 16~24 bits audio sample with 32~48KHz sampling rate

Product Specifications

Firmware Update Procedure
- Connect the 29973 to a Windows 7 or Windows 10 PC/notebook via the Micro-USB interface.

- Press and hold the Power button. While holding the Power button, plug in the power cable.

- The power LED will flash 2 times/second. This indicates that the LUD29973 is attempting to ready the firmware update drive.

- Your notebook/PC will detect the firmware update drive within 3 seconds. When the firmware update drive is detected, the power LED will remain steady on (not flashing), and the PC/notebook will display a message box indicating it discovered a USB mass storage device.

- Updating the ST MCU firmware
- Select the new ST MCU firmware image file from the PC/notebook.

- Open the 29973 device firmware update drive on your PC/notebook.

- Copy the ST MCU firmware image file and paste it into the 29973 device firmware update drive folder.

- The device will then begin the ST MCU firmware update.

The power LED will flash 2 times/second until the firmware update is complete.
- When the firmware update is complete, all five LEDs on the 29973 (power and four source LEDs) will be solid on.

- Select the new ST MCU firmware image file from the PC/notebook.
- Updating the USB type C (Chrontel) firmware.
- Select the new Chrontel firmware image file from the PC/notebook.

- Open the 29973 device firmware update drive on your PC/notebook.

- Copy the Chrontel firmware image file and paste it into the 29973 device firmware update drive folder.

- The device will then begin the Chrontel firmware update.
The power LED will flash 2 times/second until the firmware update is complete.
- When the firmware update is complete, all five LEDs on the 29973 (power and four source LEDs) will be solid on.

- Select the new Chrontel firmware image file from the PC/notebook.
- To use the newly updated firmware, you must first recycle the power.
Federal Communication Commission Interference Statement
This device complies with Part 15 of the FCC Rules. Operation is subject to the following two conditions: (1) This device may not cause harmful interference, and (2) this device must accept any interference received, including interference that may cause undesired operation.
This equipment has been tested and found to comply with the limits for a Class B digital device, pursuant to Part 15 of the FCC Rules. These limits are designed to provide reasonable protection against harmful interference in a residential installation. This equipment generates, uses and can radiate radio frequency energy and, if not installed and used in accordance with the instructions, may cause harmful interference to radio communications. However, there is no guarantee that interference will not occur in a particular installation. If this equipment does cause harmful interference to radio or television reception, which can be determined by turning the equipment off and on, the user is encouraged to try to correct the interference by one of the following measures:
- Reorient or relocate the receiving antenna.
- Increase the separation between the equipment and receiver.
- Connect the equipment into an outlet on a circuit different from that to which the receiver is connected.
- Consult the dealer or an experienced radio/TV technician for help.
FCC Caution: Any changes or modifications not expressly approved by the party responsible for compliance could void the user’s authority to operate this equipment.
This transmitter must not be co-located or operating in conjunction with any other antenna or transmitter.
This device meets all the other requirements specified in Part 15E, Section 15.407 of the FCC Rules.
FOR MOBILE DEVICE USAGE (>20cm/low power)
Radiation Exposure Statement:
This equipment complies with FCC radiation exposure limits set forth for an uncontrolled environment. This equipment should be installed and operated with minimum distance 20cm between the radiator & your body.

When transmitter power is unplugged, receiver will enter Standby mode (POWER LED of receiver is lit in red) when link is dropped for over 10mins.













The power LED will flash 2 times/second until the firmware update is complete.



















