Emerson Commercial Residential Solutions C00030
Wireless Hub User Manual

GENERAL WARNING
Symbol warns the user about the presence of non-insulated “dangerous voltage” inside the product area, which may cause electric shock.
Symbol warns the user that the device is static sensitive.- The product generates radio frequency (RF) power. When using the product, care must be taken on safety issues related to RF interference as well as regulations of RF equipment. Do not use this product in aircraft, hospitals, petrol stations or in places where using cellular products is prohibited. Be sure that the product will not be interfering with nearby equipment. For example: pacemakers or medical equipment. Always keep the product with minimum safety distance of 20cm or more from human body.
- Emerson reserves the right to modify this manual without prior notice.
- This manual is part of the product and must always be kept near the device for easy and quick reference.
- Verify that the power supply voltage is correct before connecting the device. Warning: disconnect all the electric connections before performing maintenance.
- The customer shall bear full responsibility and risk for product configuration in order to achieve the results pertaining to installation and/or final equipment/system.
- It is good practice to bear the following in mind for the product:
♦ Prevent the electronic circuits from getting wet as contact made with water, humidity or any other type of liquid can damage them. Comply with the temperature and humidity limits specified in the manual in order to store the product correctly.
♦ The device must not be installed in environments where temperatures are out of the temperature and humidity limits specified in the manual.
♦ Do not clean the device with corrosive chemical products, solvents or aggressive detergents.
♦ The device must not be used in applications that differ from that specified in the following material.
1.1 PRODUCT DISPOSAL WEE
With reference to the DIRECTIVE 2012/19 / UE OF THE EUROPEAN PARLIAMENT AND OF THE COUNCIL of 4 July 2012 on Waste Electrical and Electronic Equipment (WEEE), and to the relevant national implementation regulations, we inform you that users of EEE in households:
There is an obligation not to dispose of WEEE as mixed urban waste and to separate waste collection of WEEE. Public or private collection systems required by local laws must be used for disposal. It is also possible, at the end of its life, to return the equipment to the distributor in case of purchase of a new one.
This equipment may contain hazardous substances; improper use or incorrect disposal could have negative effects on human health and the environment.
The symbol
shown on the product or on the packaging indicates that the product must be treated with
separate waste.
In case of incorrect disposal, sanctions can be applied as established by the local laws on waste disposal.
1.2 PRODUCT NOTICE
COPYRIGHTS: this manual is subject to copyright protection; all rights are reserved under international and domestic copyright laws.
This manual may not be copied or translated, in whole or in part, in any manner or format, without the written permission of Emerson.
All software utilized and/or distributed by producer is subject to copyright protection. All rights are reserved.
No party may use or copy such software in any manner or format, except to the extent that producer grants them a license to do so.
If this software is being loaded onto more than one computer, extra software licenses must be purchased.
1.3 TECHNICIAN USE ONLY
Only skilled persons can have access to this unit.
This unit must be installed by a suitably qualified technician, skilled person, who will install this unit in accordance with these instructions and the standards in their particular industry/country.
Operators of the unit should be aware of the regulations and standards in their industry/country for the operation of this unit. These notes are only intended as a guide and the manufacturer bears no responsibility for the installation or operation of this unit. Failure to install and operate the unit in accordance with these instructions and with industry guidelines may cause serious injury including death and the manufacturer will not be held responsible in this regard.
1.4 FCC Rules
This device complies with Part 15 of the FCC Rule. Operation is subject to the following two conditions:
- This device may not cause harmful interference
- This device must accept any interference received, including interference that may cause undesired operation.
This device has been tested and found to comply with the limits for a Class B digital device, pursuant to Part 15 of the
FCC Rules. These limits are designed to provide reasonable protection against harmful interference in a residential installation. This equipment generates, uses and can radiate radio frequency energy and, if not installed and used in accordance with the instructions, may cause harmful interference to radio communications. However, there is no guarantee that interference will not occur in a particular installation.
FCC Radiation Exposure Statement:
This device complies with FCC’s and IC’s RF radiation exposure limits set forth for an uncontrolled environment under the following conditions:
- This transmitter must not be co-located or operating in conjunction with any other antenna or transmitter.
- Changes or modifications not expressly approved by the party responsible for compliance could void the user´s authority to operate the equipment.
INSTRUCTIONS
2.1 Description
The REFCON Hub Box combines different wireless connectivity products in a junction box.
The REFCON Hub Box supports the REFCON refrigerated container (reefer) monitoring ecosystem. The container monitoring ecosystem ensures automated monitoring and control of containers at the site thus offering the technicians and crew remote visibility and digital records of the container performance.
The REFCON Hub interfaces with Bluetooth® compatible containers equipped with a REFCON Portable modem.
Data from these containers are linked to the REFCON Server system as shown on the illustration.
Type: 9999-807
This system is offered with a 4G/Wi-Fi modem solution integrated within the REFCON Hub and linked to the site system through secure connections.
Type: 9999-807
This System is offered with a LAN connectivity to link to the REFCON Server as illustrated.

2.2 Installation
The wireless hub is designed for DIN rail mounting.

The product shall be installed into a fire enclosure.
2.3 Main’s connection
This product uses earth for safety precaution inside.
Make sure Power Outlet used for this product has prober earth connection.
The equipment shall be earthed in the end application.
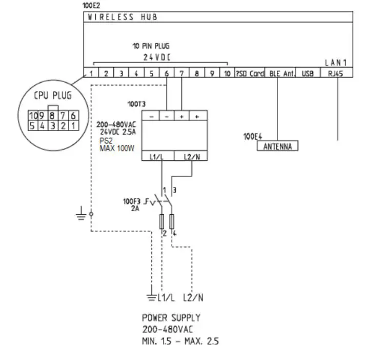
The delivered power to the Wireless Hub must be limited to PS2 (100W) or LPS (Limited Power Source).

2.4 Wireless Hub Power Connection
The Wireless Hub can be supplied through two different connectors. If 24Vac 50Hz/60Hz or 24Vdc is available, the power can be connected through the 10-pin crimp connector. If 5Vdc is available, the power can be connected through the 5Vdc Jack Power connector.
Power is not allowed to be connected on both connectors at the same time.
2.5 Malfunction
If the product does not operate as intended contact the provider. Do not try to make service on the product.
APPROVALS




















