Orion INSTRUMENTS MD Hydraulic Diaphragm Switch

Product Information
The MD/MT Hydraulic Diaphragm Switch MD is a pressure switch designed for hydraulic applications. It features a pressure capsule that is responsible for sensing the pressure and triggering the switch. The wetted parts, indicated in italics, come into direct contact with the hydraulic fluid.
The switch has an installation drawing that shows the different components and their positions. It includes a set screw cap for adjusting the switch settings.
The approximate dimensions of the switch are as follows:
- Length: 130.0 mm (5.11 inches)
- Width: 147.0 mm (5.78 inches)
- Height: 112.5 mm (4.43 inches)
- Cable Entry: 1/2 NPT(F) (Options Available)
- Pressure Port: 1/4 BSPF
Product Usage Instructions
- Ensure that the hydraulic system is properly installed and functioning.
- Select a suitable location for the MD/MT Hydraulic Diaphragm Switch MD, preferably close to the pressure source.
- Refer to the installation drawing to understand the different components and their positions.
- If necessary, adjust the set screw cap to set the desired switch settings.
- Connect the hydraulic fluid lines to the pressure port using appropriate fittings.
- If available, choose the desired cable entry option and connect the electrical cables accordingly.
- Once all connections are made, ensure that they are secure and leak-free.
- Power on the hydraulic system and monitor the pressure readings.
- Observe the switch operation as the pressure changes and ensure it functions as intended.
- If any issues are encountered, refer to the user manual for troubleshooting steps or contact customer support for assistance.
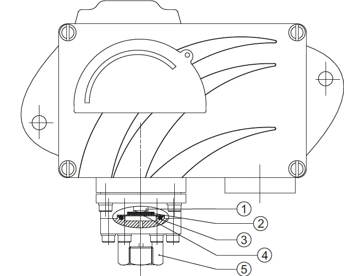
PRESSURE CAPSULE DETAILS
- Pressure Housing (SS316)
- O-Ring (PTFE )
- Diaphragm (PTFE )
- Plunger
- Cushioning Pad (Options Available)

INSTALLATION DRAWING













