CRYSTORAMA MAR-A8031-PN Marshall 1-Light Polished Nickel Sconce

MODEL #MAR-A8031-PN
Product Information
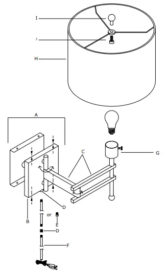
The product is a convertible piece that can be installed as a hard-wired or plug-in fixture. The model number of the product is MAR-A8031-PN. The product includes mounting hardware, wire nut, mounting plate, mounting screws, anchors, swing arm, connector, plug, rod, socket, shade, finial, and finial cap. The product may contain Lead, which is known to the State of California to cause cancer and/or birth defects or reproductive harm.
Product Usage Instructions
Hard-wired Installation:
- Remove the plug wires from the fixture wires.
- Remove the Nut (D) from the bottom of Back Plate (B) and cover the hole with plug (E).
- Attach the Shade (H) onto Socket (G) and screw on the finial (I).
Plug-in Installation:
- Connect Rod (F) to the bottom of Back Plate (B).
- Determine the desired location on the wall and mark two points on it with the same distance as between the holes on the Back Plate (B).
- Drill holes at the marked points and insert anchors into the holes in the wall. Attach the mounting plate onto the wall by anchor screws.
- Attach the Back Plate (B) onto the mounting plate.
Warning: This product may contain Lead which can cause cancer and/or birth defects or reproductive harm. For more information, please visit www.P65Warnings.ca.gov
ASSEMBLY INSTRUCTION


All electrical components must be installed by a licensed electrician in accordance with the National Electric Code and the appropriate local electrical codes.
You will need I-Medium 60 watts Max Bulb not included USE LED BULBS FOR EXTENDED USE
How to Install
This is a tnnvertible piece. Installation steps for both Hard-Wire and Plug-ln options are below. For Hard-wired installation, please proceed as follows:
- .Remove the plug wires from the fixture wires.
- Remove the Nut (D) from the bottom of Back Plate (B) and cover the hole with plug (E).
- .Attach the Shade (H) onto Socket (G) and screw on the finial (l).
For Plug-in installation, please proceed as follows:
- .Connect Rod (F) to the bottom of Back Plate (B).
- Determine the desired location you’d like to put this fixture on the wall, and mark two points on it with same distance as between the holes on the Back Plate (B)
- .Drill the holes at the marked points and insert the anchors into the holes in the wall, Attach the mounting plate onto the wall by anchor screws.
- Attach the Back Plate (B) onto mounting plate.
PART NUMBERS

- A.Mounting Hardware
(1)Wire Nut
(1)Mounting Plate
(4)Mounting screws
(4)Anchors - B. XM08031PNBKP61N
- C.(1)Swing arm D.(2)Connector
- E. (1)Plug
- F XM08031PNROD121N
- G. Socket
- H. XM08031SHA12.41N
- I. XM08031PNFIN
- J. (1 )Finial XM08031PNFIN CAP



















