CRYSTORAMA CLO-8000-BN Clover Modern Brushed Nickel Chandelier

Product Information
ASSEMBLY INSTRUCTION MODEL CLO-8000-BN
The CLO-8000-BN is a chandelier that requires installation by a licensed electrician in compliance with the National Electric Code and appropriate local electrical codes. The chandelier requires a 24-Candelabra Bulb 40 watts Max Bulb (not included) and is designed for extended use with LED bulbs. The chandelier comes with mounting hardware, wire nut, hickey, 1/4 IP NIPPLE, nut, flat washer, spring washer, flat tube, and crystal balls.
The product is made up of the following parts:
- A: Mounting Hardware (3)
- B: Wire Nut (1)
- C: Hickey (2)
- D: 1/4 IP NIPPLE (4)
- E: Nut (4)
- F: Flat Washer (4)
- G: Spring Washer
- H: Flat Tube (4)
- I: Long Threaded Crystal Ball (4)
- J: Top Metal Plate
- K: Hex Nuts
- L: Center Ring
- M: Check Ring (2)
- N: Fixture Loop
- O: Top Cap
- P: Hex Nut (2)
- Q: Upper Rods (3)
- R: Center Stem
- S: Lower Rods (3)
- T: Wiring Box
- U: W: Dimensions in inches
Product Usage Instructions
- Ensure that all electrical components are installed by a licensed electrician in accordance with the National Electric Code and appropriate local electrical codes.
- Put the check ring over the hex nut on top of the wiring box.
- Screw the lower rod and center stem onto the top of the wiring box.
- Slide the center ring over the lower rods and center stem and secure the center ring with a hex nut and check ring.
- Screw the upper rods onto the center.
- Place the top metal plate over the upper rods and secure it with hex nuts.
- Pull the wire from the center stem through the hickey until taut and put the top cap over it and secure it with a fixture loop.
- Insert each long threaded crystal ball through the bottom of the ring, then secure it from the top with the crystal ball (without nipple).
- Remove Flat Tube (X) and Rod (Y) by twisting the screws with a screwdriver then install the final crystal balls to fill the hole in the ring.
- Install a safety cable bypassing the long threaded pipe on the hickey through the safety cable and securing it with a nut.
Warning: This product can expose you to Lead, which is known to the State of California to cause cancer and/or birth defects or reproductive harm. For more information go to www.P65Warnings.ca.gov
ASSEMBLY INSTRUCTION
- WARNING Electrical Danger Turn Power Off
- All electrical components must be installed by a licensed electrician in accordance with the National
- Electric Code and the appropriate local electrical codes.
- You will need a 24-Candelabra Bulb 40 watts Max Bulb not included USE LED BULBS FOR EXTENDED USE This fixture is DRY rated
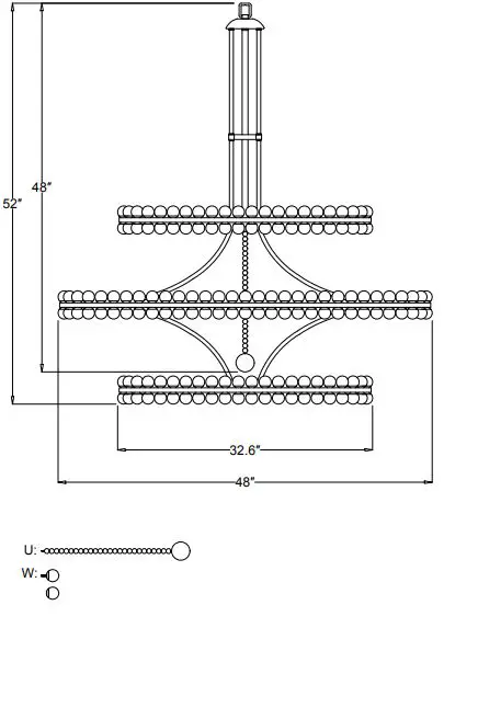
Dimension
How to Install
Do not remove Flat Tube (X) and Rod (Y) until instructed to do so.
- 1 .Put the check ring over the hex nut on top of wiring box.
- Screw the lower rod and center stem onto the top of wiring box.
- Slide the center ring over the lower rods and center stem and secure the center ring with hex nut and check ring.
- Screw the upper rods onto the center.
- Place the top metal plate over the upper rods and secure it with hex nuts.
- Pull the wire from center stem through the hickey until taut and put it the top cap over it and secure with fixture loop.
- Insert each long threaded crystal ball through the bottom of the ring,then secure it from the top with the crystal ball (without nipple).
- Remove Flat Tube (X) and Rod (Y) by twisting the screws with a screwdriver then install the final crystal balls to fill the hole in the ring.
Installation of safety cable
- Pass the long threaded pipe on the hickey through the center of outlet box.Attach it to the ceiling joist and secure it with nuts.
- Feed wires and safety cable up through chain and the hole of screw collar loop.Have the wires and safety cable exit through the side of hickey.
- Feed safety cable through the cable lock and coil it around the hickey twice.Then feed the cable through the lock again and tighten it with lock screw.
- Continue to run safety cable through the top of outlet box and secure it to the ceiling joist.
CRYSTAL SETS:
- U.Ø16mmx26,Ø60mmx1
- W.Ø40mmx188, Crystal ball with long thread
- Ø40mmx188, Crystal ball
- WARNING: This product can expose you to Lead, which is known to the State of California to cause cancer and/or birth defects or reproductive harm. For more information go to www.P65Warnings.ca.gov
Part Number
- A.Mounting Hardware
- (3) Wire Nut
- (1)Hickey
- (2)1/4″ IP NIPPLE
- (4)Nut
- (4)Flat Washer
- (4)Spring Washer
- B.(1)Canopy;05.5″x0.98″h;XMO8890BNCAN5.5IN
- C.(2)Quick Link
- D.(1 )Chain; 72″Lx 06.0mmT;XMO8000BNCHA6.0MM
- E.(1)Top Loop
- F.(1)Top Cap
- G. (4)Hex Nut
- H.(4)Washer
- 1.(1)Top Metal Plate
- J.(4)Upper rod;00.5 x13.4″h;XMO8000BNRODU 13.4IN
- K. (1)Center Stem;00.75 x23.8″h; XMO8000BNSTEM23.81N
- L. (4)Check Ring
- M. (4)Hex Nut
- N.(1 )Center Ring
- O. (4)Lower rod; 00.5 x9.5″h; XM08000BNRODL9.5IN
- P. (4)Check Ring
- Q.(4 )Hex Nut
- R.(8)Arm;09/16″
- S.(1 )Metal ring
- T.(2)Bottom ring
- U.(1) Strand Crystal
- V.(24)Candle Sleeve;01″x2.8″h;XMO8890BNCDL2.8IN
- W.(376)Crystal Ball;01.57″
- X.(4)Flat tube
- Y.(4)Rod;00.5″x21.5″h



















