CRYSTORAMA BRY-8002-BF Bryant 2-Light Black Forged Wall Sconce

WARNING
- Electrical Danger
- Tum Power off
All electrical components must be Installed by a licensed electrician In accordance with the National Electric Code and the appropriate local electrical codes.

You will need 2- Medium Base Bulb 60 Watts Recommended 100 Watts Max. USE LED BULBS FOR EXTENDED USE THE FIXTURE IS DAMP-RATED.
How to install
- Install the mounting plate to the outlet box using two outlet box screws.
- Install the backplate onto the mounting plate, and secure it with the screws.
- Install the glass shade onto the socket cover and secure it with a socket ring.
- Install the bulb(not included) into the socket.
- Put the banding ring over the top of the glass shade
Dimension
FRONT VIEW

TOP VIEW

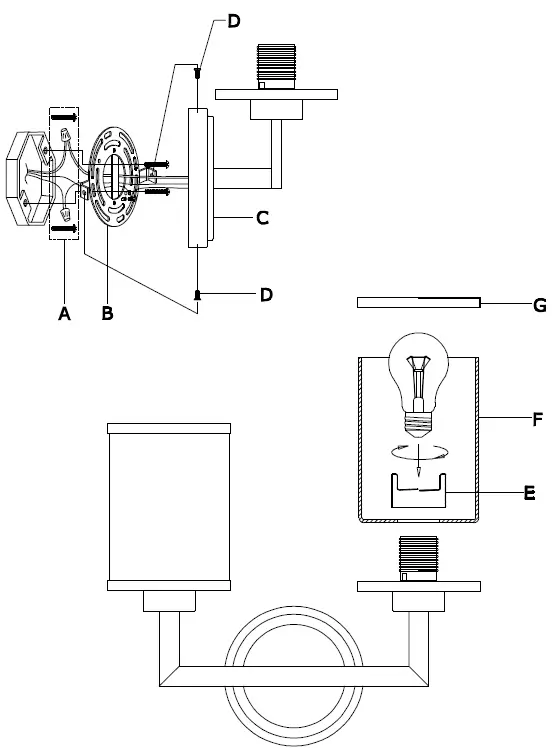
Part Number
- A. (1)-Mounting hardware
- B. (1)-Mounting plate
- C. (1)-Backplate WS-1/2″xHl”(XSU8002BKBKPS.SIN)
- D. (2)-Screw
- E. (2)-Socket ring
- F. (2)-GLASS shade6-1/2″X4-3/4″(XSU8002BFSHA6.625IN)
- G. (2)-Banding ring

WARNING:
This product can expose you to Lead which is known to the state of California to cause cancer and/or birth defects or reproductive harm. For more information go to www.P65Wamings.ca.gov.
















