CRYSTORAMA 2262-AG Jennings 1 Light Sconce

Product Overview

Product Information
- Product Name: Crystorama Lighting Fixture
- Model Number: 2262-AG
- Manufacturer: Crystorama
- Website: www.crystorama.com
Product Description:
The Crystorama Lighting Fixture is a stylish and elegant lighting solution designed to provide illumination and enhance the aesthetic appeal of any space. It features a metal frame with a fabric shade, offering a contemporary and sophisticated look. The fixture is dry rated and can be used in a variety of indoor settings.
Product Dimensions
- Overall Dimensions: Length: 11″, Width: 4-1/2″, Height: 3/4″
- Fabric Shade Dimensions: Length: 11″, Width: 6″, Height: 3-7/8″

Product Usage Instructions
- Ensure the power is turned off before starting the installation process. This is crucial for safety purposes.
- Attach the mounting plate to the outlet box using the provided outlet box screws. Make sure it is securely fastened.
- Connect the fixture wires to the supply wires in the outlet box. Ensure proper wire connections and use wire connectors if necessary.
- Install the backplate onto the mounting plate and secure it using the mounting screws provided.
- Insert the bulb (not included) into the socket. Use a medium base bulb with a recommended wattage of 40 Watts and a maximum wattage of 60 Watts. For extended use, it is recommended to use LED bulbs.
- Attach the metal frame onto the backplate and secure it using the screws provided.
- Once the installation is complete, turn on the power to test the lighting fixture.
Important Safety Information
Electrical components must be installed by a licensed electrician in accordance with the National Electric Code and the appropriate local electrical codes. Failure to do so may result in electrical danger.
You will need 1-Medium Base Bulb 40 Watts Recommended 60 Watts Max. For Type B bulb only USE LED BULBS FOR EXTENDED USE This fixture is Dry rated
This product contains chemicals known to the state of California to cause cancer and/or birth defects or reproductive harm. For more information, please visit www.P65Warnings.ca.gov
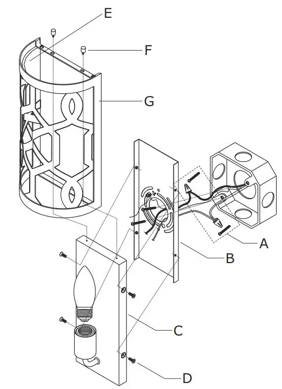
Parts List
| Part Number | Description |
|---|---|
| A | (1)-Mounting hardware |
| B | (1)-Mounting plate |
| C | (1)-Backplate L11”xW4-1/2”xH3/4” #XRF2262AGBKP11IN |
| D | (4)-Mounting screw |
| E | (1)-Fabric shade L11”xW6”xH3-7/8” #XRF2262SHA11IN |
| F | (2)-Screw |
| G | (1)-Metal frame |

How to install
- Install the mounting plate to the outlet box using two outlet box screws.
- Connect fixture wires to supply wires in outlet box.
- Install backplate onto the mounting plate, and secure with the mounting screws.
- Install the bulb(not included) into the socket.
- Install metal frame onto the backplate, and secure with the screws.


















