E12 Video Door Panel
User Guide
Unpacking
Before you being using the device, please check the version you obtained and ensure that the following items are included in the shipped box:
Universal Accessories:

roduct Overview

Installation Environment
Indoor and outdoor installation is supported.
If installing the device outdoors, please do not place the device under direct sunlight.
If installing the device indoors, please keep the device at least 2 meters away from light, and at least 3 meters away from the window and door.

Installation
![]() | ![]() | ![]() |
| According to the position of the reserved wires on the wall, stick the wall-mounting template vertically to ensure that the wires can come out of the shadow position of the template. Drill (6 mm drill bit required) four screw holes with a depth of 25mm in the screw holes of the template. | Insert four plastic wall anchors into the holes. | Fix the wall-mounting bracket on the wall by tightening four STx20 screws to the plastic wall anchors. |
![]() | ![]() | ![]() |
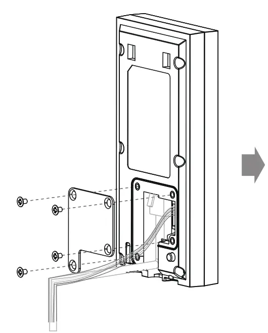
| Connect the wires to the interface of the device as needed (for details, refer to “Device Wiring”). After arranging the wires, tighten the back cover using four M3x4 screws to the device. | Hang the device onto the two square hangers on the wall-mounting bracket, then use the Torx Wrench attached to tighten the bottom of the device with two Torx screws. | The installation is completed. |
Application Network Topology

Device Wiring

Warning
When you connect a device containing a coil, such as a relay or an electromagnetic lock, it is necessary to protect the intercom against voltage peak while switching off the induction load. For this way of protection, we recommend a diode 1 A / 200 V (included in the accessories) connected antiparallel to the device.
IP Announcement
- While E12 starts up normally, hold the call button for several seconds after the LED light turns blue, and the voice system will enter IP announcement mode.
- In announcement mode, the IP address will be announced periodically.
- Press the Call Button again to the announcement mode.
- In announcement mode, the phone announces “IP 0.0.0.0” if no IP address is gained.
Operation
Make a call:
- Press the call button to call the indoor SIP Phone.
- During the talk, the called party can press a pre-configured code number to unlock the door.
Receive a call:
E12 supports Auto Answer by default. Incoming calls from indoor devices will be answered automatically.
Configuration
- Access the Web UI: Input the IP address into a web browser to configure the phone.
- Account Registration: On web UI, go to the path: Account -> Basic page Register Account and fill in the account information. ( Please refer to the user manual for more information)
- Configure the Push Button: On web UI, go to the path: Intercom -> Basic -> Push Button to configure the call number.
- Configure the code to open the relay: On web UI, go to the path: Intercom -> Relay&Input -> Relay ID/DTMF, and choose the DTMF code number in the corresponding area.
Indicators
| Name | Status | Description |
| Status Indicator | Blue Light Always On | Normal status |
| Calling | ||
| Blue Breathing Light | Receiving a call | |
| Blue Light Always On > Red Light Always On > Purple Light Always On | Restarting | |
| Red Breathing Light | The network is unavailable / Obtaining network | |
| Purple Light Always On | Talking | |
| Red/Purple Light Flashing | Firmware upgrading |
Note: For more LED settings, please refer to E12 WebUI: Intercom -> LED Setting.
Notice Information
Information contained in this document is believed to be accurate and reliable at the time of printing. This document is subject to change without notice, any update to this document can be viewed on Akuvox’s website: http://www.akuvox-.com
© Copyright 2021 Akuvox Ltd. All rights reserved.
http://www.akuvox.com/
AKUVOX (XIAMEN) NETWORKS CO., LTD.
ADD: 10/F, NO.56 GUANRI ROAD, SOFTWARE PARK II, XIAMEN 361009, CHINA
www.akuvox.com

























