Akuvox R20A-2 Compact 2 Wire Video Doorphone

Unpacking
Before you be using the device, please check the version you obtained and ensure that the following items are included in the shipped box:
Universal Accessories:

Wall-mounting Accessories :

Flush-mounting Accessories :

Product Overview

Installation Environment

- Indoor and outdoor installation is supported.
- If installing the device outdoors, please don’t place the device under direct sunlight, it will bring a bad effect or be broken with the high temperature.
- If installing the device indoors, please keep the device at least 2 meters away from light, and at least 3 meters away from window and door.
Installation
On-Wall Mounting
Step 1: Wall-mounting bracket Installation
With embedded one-gang junction box(86×86 mm or 2×3 inches in size) in the wall.
- Fix the wall-mounting bracket on the embedded box with two M4x30 screws.
- Mark the two holes of the wall-mounting bracket on the wall.
- Remove the bracket to drill (5 mm drill bit required) the two marked fixing holes on the wall with a depth of 25 mm. Then insert two plastic wall anchors.

- Fix the wall-mounting bracket on the 2×3 inches junction box with two M4x30 screws.
- Finish the wall-mounting bracket installation.
- Tighten the wall-mounting bracket on the wall and junction box using two ST4x20 screws and two M4x30 screws.

Without 86 embedded boxes in the wall
- Mark the four holes of the wall-mounting bracket on the wall for the screws.
- Use a hand drill with 5mm diameter bit to make four 25 mm depth holes in the marked positions.
- Insert four plastic wall anchors into the holes.
- Fix the wall-mounting bracket with four ST4x20 screws.

Step 2: Back cover Installation
- For convenient wiring, hang R20A-2 on the wall-mounting bracket with rope.
- Make cables go through the back cover, connecting to the corresponding interfaces of the main board.
- Fasten the back cover with four M2.5×6 screws, then fix four wall-mounting screws on the back of R20A-2.

- After successful Installation, check the stability of the device.
- Insert the four wall-mounting screws on the device into the corresponding holes on the wall-mounting bracket, and then press down to slide the wall-mounting screws into the groove. Then use the Allen Wrench to tighten the device with two Allen screws.
- Select a suitable size rubber plug to push all the cables into the back cover. Fix cable locking plate to the back cover with two M2.5×6 screws.

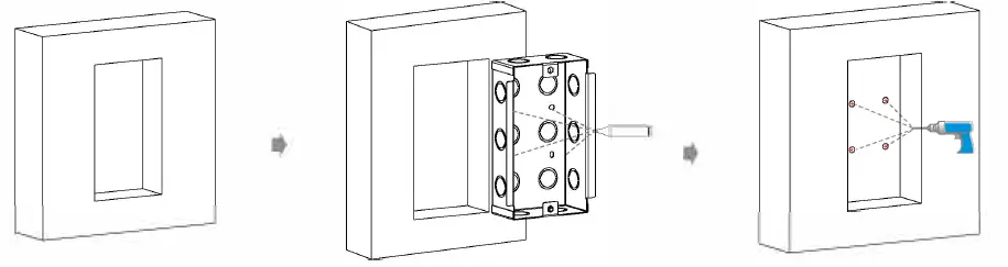
In-Wall Mounting
Step 1: Flush Mounting Embedded/Box Installation
- According to the position of the cable, cut a square hole in wall. (height•width•depth=18Q•101•50 mm). Note: The size of the hole should be a little larger than the recommended value that it can accommodate all needed cables.
- Insert the embedded box into the hole and make sure the cables of the device can route through the cable hole then mark the four screw holes of the wall embedded box on the wall.
- Take down the embedded box then use a 5 mm hand drill to make holes with a depth of 25 mm at the marked

- Fix the embedded box with four ST4x20 screws. Then use cement or non-corrosive structural adhesives to fill the gap between the wall and the embedded box.
- Place the embedded box into the square hole until the edges of which align to the wall and make all cables go through the cable hole.
- Insert four plastic wall anchors into the holes.

Or you can choose another simple method without fixing ST 4×20 screws
- For flush mounting installation, it is recommended to fill the gaps around the embedded box for waterproofing (to prevent water from entering the back cover of the door phone from the gap).
- For waR mounting installation, ii is recommended to lock the wan-mounted bracket and the wall so that the EVA pasted on the bottom of the wan mounting bracket is close to the wall without a gap (to prevent water from entering the back cover of the door phone from the gap).
- Or it is recommended to use a rain cover.
Step 2: Decorative Panel and Back cover Installation
- Use four M3x6 Cross-head screws to fix R20A-2 on the decorative panel.
- For convenient wiring, hang R20A-2 on the embedded Box with rope.
- Make cables go through the back cover, connecting to the corresponding interfaces of the main board. Fasten the back cover with four M2.5×6 screws.

- After successful installation, check the stability of the device.
- Place the device into the embedded box, then use an L-Type Spline End Wrench lo lighten the device with two M4x15 screws.
- Select a suitable size rubber plug to push all the cables into the back cover. Fix cable locking plate to the back cover with two M2.5×6 screws.

Device Wiring

Application Network Topology

IP Announcement
- While R20A-2 starts up normally, hold the call button for several seconds after the Status LED turns blue, the voice system will enter IP announcement mode.
- In announcement mode, the IP address will be announced periodically.
- Press the Call Button again to quit the announcement mode.
- In announcement mode, the phone announces “IP 0.0.0.0” if no IP address is gained.
Configuration
- Access the Web UI: Input the IP address into a web browser to configure the phone.
- Account Registration: On web UI, go to the path: Account-> Basic page to register an account and fill in the account information.( Please refer to the admin guide for more information)
- Configure the Push Button: On web UI, go to the path: Intercom-> Basic-> Push Button to configure the call number.
- Configure the code to open the relay: On web UI, go to the path: Intercom -> Relay -> Relay ID/DTMF and choose the DTMF code number in the corresponding area.
Operation
Make a call:
- Press the call button to call the indoor SIP Phone.
- During the talk, the called party can press a pre-configured code number to unlock the door.
Receive a call:
R20A-2 supports Auto Answer by default. The incoming call will be answered automatically.
Indicators

Notice Information
Akuvox R20A-2 firmware contains third-party open source software under the terms of the GNU General Public License(GPL). Akuvox is committed lo meeting the requirements of the GNU General Public License (GPL) and will make all required source code available. The source code of software under the terms of GNU GPL can be downloaded online: http://www.akuvox.com/gpl. Information contained in this document is believed lo be accurate and reliable at the lime of printing. This document is subject lo change without notice, any update lo this document can be viewed on Akuvox’s website: http://www.akuvox.com © Copyright 2021 Akuvox Lid. All rights reserved.
AKUVOX (XIAMEN) NETWORKS CO., LTD.
ADD: 10/F, NO.56 GUANRI ROAD, SOFTWARE PARK 11, XIAMEN 361009, CHINA www.akuvox.com




























