LED SCY-500 CW Beam Effect
User Manual

DANGER! Electric shock is caused by short-circuiting I am careful with your operations. With a dangerous voltage, you can suffer a dangerous electric shock when touching the wires. Never open the housing. Keep the device away from rain and moisture.
Please read these instructions carefully before using the product. They contain important information for the correct use of the product.
Every person involved with the installation, operation and maintenance of this device has to
- be qualified
- follow the instructions of this manual
- consider this manual to be part of the total product
- keep this manual for the entire service life of the product
- pass this manual on to every further owner or user of the product
- download the latest version of the user manual from the Internet
INTRODUCTION
Thank you for having chosen one of our products. If you follow the instructions given in this manual, we are sure that you will enjoy this device for a long period of time.
Product Features
LED effect light with cold white COB LEDs and stroboscope
- 5 high-power cold white 15 W COB LEDs
- Auto, music, master/slave, and DMX mode
- 3 built-in auto and music show programs
- Cold white LEDs are separately controllable
- Addressing and setting via control panel with 4-digit LED display
- Convenient wireless control via included IR remote control EUROLITE IR-7
- Sound control via built-in microphone with adjustable microphone sensitivity
- Supports QuickDMX – the wireless DMX system from Eurolite
- Built-in phantom-powered USB port for QuickDMX receivers (accessories)
- 2, 3, 5 or 9 DMX channels selectable
- Swivel mounting bracket
- P-Con terminals for power linking up to 8 units
- Switch-mode power supply for operation between 100 and 240 volts
SAFETY INSTRUCTIONS
WARNING!
Please read the safety warnings carefully and only use the product as described in this manual to avoid accidental injury or damage.
Intended use
- This device is an LED projector for creating decorative lighting effects. This device is designed for professional use in the field of event technology, e.g. on stage. It is not suitable for household lighting.
- Only use the device according to the instructions given herein. Damages due to failure to follow these operating instructions will void the warranty! We do not assume any liability for any resulting damage.
- We do not assume any liability for material and personal damage caused by improper use or noncompliance with the safety instructions. In such cases, the warranty/guarantee will be null and void.
- Unauthorized rebuilds or modifications of the device are not permitted for reasons of safety and render the warranty invalid.
Danger due to electricity
- The device is suitable for indoor use only. Do not use it outdoors. Never expose it to rain or moisture. Do not store it in rooms exposed to moisture.
- To reduce the risk of electric shock, do not open any part of the device. There are no serviceable parts inside the device.
- Only connect the device to a properly installed mains outlet. The outlet must be protected by a residual current breaker (RCD). The voltage and frequency must exactly be the same as stated on the device. If the mains cable is equipped with earthing contact, then it must be connected to an outlet with a protective ground. Never defeat the protective ground of a mains cable. Failure to do so could result in damage to the device and possibly injure the user.
- The mains outlet must be easily accessible so that you can unplug the device quickly if need be.
- Never touch the mains plug with wet or damp hands. There is the risk of potentially fatal electric shock.
- The mains cable must not be bent or squeezed. Keep it away from hot surfaces or sharp edges.
- Never pull the mains cable to disconnect the mains plug from the mains outlet, always seize the plug.
- Unplug the device during lightning storms, when unused for long periods of time, or before cleaning.
- Do not expose the device to any high temperatures, direct sunlight, dripping or splashing water, strong vibrations, or heavy mechanical stress.
- Do not place any objects filled with liquids on the device.
- Do not place any open sources of fire, such as burning candles, on or directly next to the device.
- Make sure that objects cannot fall into the device, in particular metal parts.
- Only have repairs to the device or its mains cable carried out by qualified service personnel. Repairs are required when the device or the mains cable is visibly damaged, liquid has been spilled or objects have fallen into the device; when the device has been exposed to rain or moisture, has been dropped or malfunctions occur.
- Cleaning of the device is limited to the surface. Make sure that moisture does not come into contact with any areas of the terminal connections or main voltage control parts. Only wipe off the product with a soft lint-free and moistened cloth. Never use solvents or aggressive detergents.
Danger to children and people with restricted abilities
- This product is not a toy. Keep it out of the reach of children and pets. Do not leave packaging material lying around carelessly. Never leave this device running unattended.
- This device may be used only by persons with sufficient physical, sensorial, and intellectual abilities and having corresponding knowledge and experience. Other persons may use this device only if they are supervised or instructed by a person who is responsible for their safety.
Warning – the risk of burns and fire
- The admissible ambient temperature range (Ta) is -5 to +45°C. Do not operate the device outside of this temperature range.
- The housing temperature (Tc) can be up to 50°C during use. Avoid contact with persons and materials.
- Do not illuminate surfaces within 10 cm of the device. This value is indicated on the device by the symbol.
- Do not use the device near highly flammable materials. Always place the device at a location where sufficient air circulation is ensured. Leave 50 cm of free space around the device. Never cover the air vents of the housing.
- Only operate the device in a moderate climate, never in a tropical climate.
Warning – the risk of injuries
- Do not look directly at the light source. Persons with light-sensitive epilepsy may suffer from epileptic seizures or fall unconscious.
- Make sure that the product is set up or installed safely and expertly and prevented from falling down.
Comply with the standards and rules that apply in your country, in particular EN 60598-2-17. - If you lack the qualification, do not attempt the installation yourself, but instead, use a professional installer.
Improper installation can result in bodily injury and or damage to property. - The manufacturer cannot be made liable for damages caused by incorrect installations or insufficient safety precautions.
- For overhead use, always secure the device with a secondary safety attachment such as a safety bond or safety net.
- Make sure that the area below the installation place is blocked when rigging, derigging, or servicing the device.
- For commercial use, the country-specific accident prevention regulations of the government safety organization for electrical facilities must be complied with at all times.
Caution – material damage
- This device must not be connected to the mains voltage by means of a dimmer.
- Lighting effects are not designed for permanent operation. Consistent operation breaks will ensure that the device will serve you for a long time without defects.
- Never switch the device on and off at short intervals. This will considerably reduce the service life of the device.
- If the device has been exposed to drastic temperature fluctuation, do not switch it on immediately. The resulting condensation may destroy the device. Allow the device to reach room temperature before connecting it. Wait until the condensation has evaporated.
- Please use the original packaging to protect the device against vibration, dust, and moisture during transportation or storage.
- If a serial number label is affixed to the device, do not remove the label as this would make the guarantee void.
About batteries
- Do not try to short-circuit, recharge, disassemble or heat batteries (danger of explosion!).
- Remove the batteries if the device is not used for a longer period of time.
- Damaged/leaking batteries may cause harm to your skin–use safety gloves.
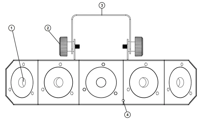
DESCRIPTION OF THE DEVICE

| (1) COB LED, CW | (3) Mounting bracket |
| (2) Fixation screw | (4) Infrared sensor for the remote control |

| (5) DMX output | (10) Microphone |
| (6) DMX input | (11) Fuse holder |
| (7) Safety eyelet | (12) Power input |
| (8) USB port for QuickDMX wireless receiver | (13) Power output |
| (9) LED display and operating buttons |
INSTALLATION
WARNING! Risk of injury caused by falling objects
Devices in overhead installations may cause severe injuries when crashing down. Make sure that the device is installed securely and cannot fall down. The installation must be carried out by a specialist who is familiar with the hazards and the relevant regulations.
The device may be fastened to a truss or similar rigging structure. The device must never be fixed swinging freely in the room.
- The rigging structure must support at least 10 times the weight of all fixtures to be installed on it.
- Block access below the work area and work from a stable platform when installing the device.
- Use rigging hardware that is compatible with the structure and capable of bearing the weight of the device. Please refer to the “Accessories” section for a list of suitable rigging hardware.
- Secure the device with a safety bond or other secondary attachment. This secondary safety attachment must be sufficiently dimensioned in accordance with the latest industrial safety regulations and constructed in a way that no part of the installation can fall down if the main attachment fails. An appropriate eyelet is mounted on the device for fixation of the safety bond. Fasten the safety bond in such a way that, in the event of a fall, the maximum drop distance of the device will not exceed 20 cm.
- To align the device, release the fixation screws at the mounting bracket, adjust the desired inclination angle and retighten the fixation screws.
- After installation, the device requires inspections periodically to prevent the possibility of rot, deformation and looseness.

CONNECTIONS

DMX512 control
A DMX512 data link is required in order to control the device via DMX. The device provides 3-pin XLR connectors for DMX connection.
- Connect the output of your DMX controller to the DMX input DMX IN of the device with a DMX cable.
- Connect the DMX output DMX OUT of the device to the DMX input of the next unit in the chain. Always connect one output to the input of the next unit until all units are connected.
- At the last unit, the DMX cable has to be terminated. Plug the terminator with a 120 Ω resistor between Signal (–) and Signal (+) in the DMX output of the last unit.
- If the cable length exceeds 300 m or the number of DMX devices is greater than 32, it is recommended to insert a DMX-level amplifier to ensure proper data transmission.
XLR connection:

Wireless DMX transmission with QuickDMX
The device features an alternative DMX input for a QuickDMX receiver (sold separately). This connector allows for the wireless transmission of DMX control signals to the device. The connector is designed as a USB port which provides the required 5 V operating voltage for the receiver. With QuickDMX devices, extensive cabling between the DMX controller and the device is not required.
Occupation of the USB port:

MAINS CONNECTION

The device uses an auto-range power supply that accepts input voltages between 100 and 240 volts.
- Connect the device via the mains cable to a grounded mains socket. Thus the unit is switched on.
- To switch off the unit, disconnect the power plug.
- Do not connect the unit to the mains voltage via a dimmer. For a more convenient operation, use a mains outlet that is switchable.
- The jack POWER OUT allows for the power supply of further devices. To interconnect several devices, connect the jack POWER OUT to the input POWER IN of the next unit until all units are connected. Matching power cables with P-Con plugs are available as accessories. In this manner, up to 8 devices can be linked at 230/240 input voltage and up to 4 devices at 110/115 input voltage.
OPERATION
After connecting the device to the mains it is ready for operation. The display indicates the last operating mode. The operating modes can be selected by means of the display and the control buttons. All settings remain stored even if the device is disconnected from the mains. The device can be operated in stand-alone mode via the control board and the EUROLITE IR-7 remote control or in DMX-controlled mode via any commercial DMX controller and with a phantom-powered USB port for QuickDMX receivers.
Menu structure
Press the MODE button so many times until the desired function is indicated in the display. Use the ENTER button to select the function. With the buttons UP and DOWN you can select the mode. Confirm with entering. If you do not do so, the device goes back to the main functions after 10 seconds without saving your settings. If you wish to go back to the main functions without saving your settings, press MODE.
| Mode | Display | Function | ||
| DMX channel | Addr | 9CH | d001-512 | 9-channel mode and start address |
| 5CH | d001-512 | 5-channel mode and start address | ||
| 3CH | d001-512 | 3-channel mode and start address | ||
| 2CH | d001-512 | 2-channel mode and start address | ||
| Automatic mode | Auto | Au 1 — 3 | Auto program | |
| Sound control | Soun | So 1 — 3 | Sound program | |
| Running speed in automatic mode | SPEE | SP 1-9 | Program running speed slow > fast | |
| Microphone sensitivity for sound control | SEnS | SE 1-9 | Microphone sensitivity low > high | |
| White color setting | Colo | u000-255 | Cold white 0-100% | |
| Dimmer | diMM | dl 1-d1 9 | Total brightness dark > bright | |
| Silent scene | SILE | on | LEDs off if there is no music signal | |
| oFF | LEDs remain on if there is no music signal | |||
| DMX lost | LoSt | bLac | LEDs go off | |
| Hold | Spot holds the last received signal | |||
| FuLL | All LEDs 100% on | |||
| Auto | Goes to pre-selected auto program 01-03 | |||
| Slave mode | SLAU | SLAU | Slave mode | |
| IR remote control | InFr | on | IR remote control on | |
| oFF | IR remote control off | |||
| Firmware version | V1.0 | V1.0 | Current firmware version number | |
Stand-alone mode
Automatic mode
In automatic mode, 3 show programs are available that run at an adjustable speed.
- Press the MENU button so many times until Auto is indicated in the display. Confirm with the ENTER button. Use the buttons UP and DOWN to select the desired show program. Confirm with the ENTER button.
- Press the MENU button so many times until SPEE is indicated in the display. Confirm with the ENTER button. Use the buttons UP and DOWN to adjust the running speed of the program from SP 1 (slow) to SP 9 (fast). Confirm with the ENTER button.
Sound control
Via the integrated microphone, the unit can perfectly reproduce the show programs to the rhythm of the music (sufficient bass provided).
- Press the MENU button so many times until Soun is indicated in the display. Confirm with the ENTER button. Use the buttons UP and DOWN to select the desired show program (So01~So03). Confirm with the ENTER button.
- Press the MENU button so many times until SPEE is indicated in the display. Confirm with the ENTER button. Use the buttons UP and DOWN to adjust the running speed of the program from SP 1 (slow) to SP 9 (fast). Confirm with the ENTER button.
- Press the MENU button so many times until SEnS is indicated in the display. Confirm with the ENTER button. Use the buttons UP and DOWN to Adjust the microphone sensitivity to the volume of the music (SE 1 = low, SE 9 = high).
- If you enable the silent scene mode (on setting) in menu item SILE, the LEDs will be switched off if the volume is too low or if there is no sufficient bass beat. If you disable this mode (offsetting) the LEDs remain on during periods without music.
White color setting
In the mode Colo can the cold white LEDs be adjusted for brightness? The device will constantly emit the brightness adjusted.
- Press the MENU so many times until Colo is indicated in the display. Confirm with the ENTER button.
- Now the display indicates the letter u*** for the warm white setting and the corresponding brightness value. Use the UP and DOWN buttons to set the desired brightness.
- Confirm with the ENTER button. Now you can set the brightness value for the cold white setting U*** with the UP and DOWN buttons.
Total brightness
Menu diMM allows adjusting the total brightness for all stand-alone operating modes.
- Press the MENU button so many times until diMM is indicated in the display. Confirm with the ENTER button.
- Use the buttons UP and DOWN to adjust the desired brightness (dI 1 = dark, dI 9 = bright). Confirm with the ENTER button.
Behavior at missing DMX-signal
In DMX lost mode the program offers different options when no DMX signal is received.
- Press the MENU button repeatedly until the display shows the DMX lost menu. Press ENTER to confirm.
- Select the desired program with the UP and DOWN buttons (see Menu structure). Confirm with ENTER.
Interconnecting several devices (master/slave operation)
Several devices may be interconnected (max. 32). Then all slave units can be synchronized and controlled with the master unit without the need for a DMX controller. The devices must be set to the corresponding operating modes.
- Configure all slave units before connecting the master unit: Press the MENU button so many times until SLAU is indicated in the display. Confirm with the ENTER button.
- Connect the DMX output of the master unit to the DMX input of the first slave unit. Then connect the DMX output of the first slave unit to the DMX input of the second slave unit, etc. until all units have been connected in a chain. Make sure the master unit is the first in the chain. Do not connect a DMX controller to the DMX input of the master unit.
- Set the master unit to the desired operating mode. The interconnected devices will now operate in sync.
Remote control IR-7
The device must be activated for remote control. For this, set the menu item InFr to on. When actuating a button, always direct the remote control towards the sensor. There must be no obstacles between the remote control and the sensor.

| Button | Function |
| BLACKOUT | LEDs off |
| AUTO | Automatic mode: program selection with (+)/(—) |
| SOUND | Sound control: program selection with (+)/(—) |
| STROBE | Strobe effect for automatic mode and sound control; flash rate setting with (+)/(—) |
| SPEED | Running speed in automatic mode and sound control; setting with (+)/(—) |
| SENSITIVITY | Microphone sensitivity; setting with (+)/(—) |
| DMX | DMX mode |
| MANUAL | Color mode; select a color with W |
| FADE | Color fading |
| 1-9 | Total brightness; 1 = dark, 9 = bright |
Notes:
- The remote control is supplied with a battery inserted. An insulating foil between the battery and the battery contacts prevents the battery from being discharged during storage. Prior to the first operation remove the foil from the battery support on the rear side of the remote control. Otherwise, the operation of the remote control is not possible.

- If the range of the remote control decreases, replace the battery. For this purpose, on the rear side of the remote control press the small bar with the groove to the right and at the same time remove the battery support. For operation, one 3 V button cell type CR 2025 is required. When inserting, pay attention that the positive pole of the button cell shows upwards in the support.
- Remove the battery from the remote control as a precaution if the device is not used for a longer period of time.
DMX operation
Setting the number of DMX channels and the DMX starting address
For operation with a controller with DMX512 protocol, the device is equipped with 9 control channels.
However, it can also be switched to a mode with 2, 3, or 5 channels if different functions are required. To be able to operate the device with a DMX controller, the DMX starting address must be set. The starting address depends upon which DMX controller is being used. Please refer to the controller’s documentation.
- Press the MENU button so many times until Addr is indicated in the display. Confirm with the ENTER button.
- The display indicates 2 CH (2 DMX channels), 3 CH (3 DMX channels), 5 CH (5 DMX channels), or 9 CH (9 DMX channels). Use the buttons UP and DOWN to select the desired DMX channel mode. Confirm with the ENTER button.
- Now the display indicates the menu item for the DMX starts address d***. Use the buttons UP and DOWN to set the address. Confirm with the ENTER button.
- The display will not flash when DMX signals are being received. If no control signals are available, the display will flash.
Note: Please make sure that you do not have any overlapping channels in order to control each device correctly and independently from any other fixture on the DMX chain. If several devices are addressed similarly, they will work synchronically.
Functions in DMX mode
2-channel mode
| Channel | Value | Function |
| CHI Master dimmer | 000 — 255 | Total brightness 0-100% |
| CH2 Internal programs | 000 — 009 | No function |
| 010 — 049 | Auto program 1 with increasing speed | |
| 050 — 089 | Auto program 2 with increasing speed | |
| 090 — 129 | Auto program 3 with increasing speed | |
| 130 — 169 | Sound program 1 with increasing speed | |
| 170 — 209 | Sound program 2 with increasing speed | |
| 210 — 255 | Sound program 3 with increasing speed |
3-channel mode
| Channel | Value | Function |
| CH1 | 000 — 255 | White (0-100%) |
| CH2 Master dimmer | 000 — 255 | Total brightness 0-100% |
| CH3 Sound control/ Strobe effect | 000 — 000 | No function |
| 001 — 005 | Sound control | |
| 006 — 010 | No function | |
| 011 — 255 | Strobe with increasing speed 0-100% |
5-channel mode
| Channel | Value | Function |
| CH1 | 000 – 255 | LED 1 (0-100%) |
| CH2 | 000 – 255 | LED 2 (0-100%) |
| CH3 | 000 – 255 | LED 3 (0-100%) |
| CH4 | 000 – 255 | LED 4 (0-100%) |
| CH5 | 000 – 255 | LED 5 (0-100%) |
9-channel mode
| Channel | Value | Function |
| CH1 Master dimmer | 000 — 255 | Total brightness 0-100% |
| CH2 Strobe effect | 000 — 009 | No function |
| 010 — 255 | Strobe with increasing speed 0-100% | |
| CH3 | 000 — 255 | LED 1 (0-100%) |
| CH4 | 000 — 255 | LED 2 (0-100%) |
| CH5 | 000 — 255 | LED 3 (0-100%) |
| CH6 | 000 — 255 | LED 4 (0-100%) |
| CH7 | 000 — 255 | LED 5 (0-100%) |
| CH8 | 000 — 255 | All white LEDs on (0-100%) |
| CH9 Internal programs | 000 — 009 | No function |
| 010 — 049 | Auto program 1 with increasing speed | |
| 050 — 089 | Auto program 2 with increasing speed | |
| 090 — 129 | Auto program 3 with increasing speed | |
| 130 — 169 | Sound program 1 with increasing speed | |
| 170 — 209 | Sound program 2 with increasing speed | |
| 210 — 255 | Sound program 3 with increasing speed |
CLEANING AND MAINTENANCE
The outside of the device should be cleaned periodically to remove contaminants such as dust etc. The lenses, in particular, should be clean to ensure that light will be emitted at maximum brightness.
- Disconnect the device from power and allow it to cool before cleaning.
- Clean the surface with a soft lint-free and moistened cloth. Never use alcohol or solvents as these may damage the surface. Make sure that no liquids can enter the device.
- The device must be dry before reapplying power.
There are no serviceable parts inside. Do not open the housing. Do not try to repair the device by yourself as this may result in damage. Maintenance and service operations are only to be carried out by authorized dealers. Should you need any spare parts, please use genuine parts. Should you have further questions, please contact your dealer.
Replacing the fuse
If the fine-wire fuse of the device fuses, only replace the fuse by a fuse of same type and rating.
- Disconnect the device from power and allow it to cool.
- Open the fuse holder of the mains connection with a fitting screwdriver.
- Remove the old fuse from the fuse holder and replace it with a new fuse.
- Carefully push the fuse holder back into its position before reapplying power.
PROTECTING THE ENVIRONMENT
Disposal of old equipment
When to be definitively put out of operation, take the product to a local recycling plant for disposal which is not harmful to the environment. Devices marked with this symbol must not be disposed of as household waste. Contact your retailer or local authorities for more information.
Remove any inserted batteries and dispose of them separately from the product.
You as the end user are required by law (Battery Ordinance) to return all used batteries/ rechargeable batteries. Disposing of them in household waste is prohibited. You may return your used batteries free of charge to collection points in your municipality and anywhere where batteries/rechargeable batteries are sold. By disposing of used devices and batteries correctly, you contribute to the protection of the environment.
TECHNICAL SPECIFICATIONS
| Fuse: | T 1 A Fuse replaceable |
| LED: | 5 x high-power 15 W CW |
| Flash rate: | 0 – 20 Hz |
| DMX channels: | 2; 3; 5; 9 |
| DMX input: | 3-pin XLR (M) mounting version |
| DMX output: | 3-pin XLR (F) mounting version |
| Power connection: | Mains input P-Con (blue), mounting version Power supply cord with safety plug (provided) |
| Cooling: | Super silent fan |
| Control: | Stand-alone DMX QuickDMX via USB IR remote control Master/slave function Sound to light via Microphone |
| Beam angle (1/2 peak): | Beam 4° |
| Multibeam effect 90° | |
| Housing color: | Black |
| Display type: | 4 digits 7-segment LED display |
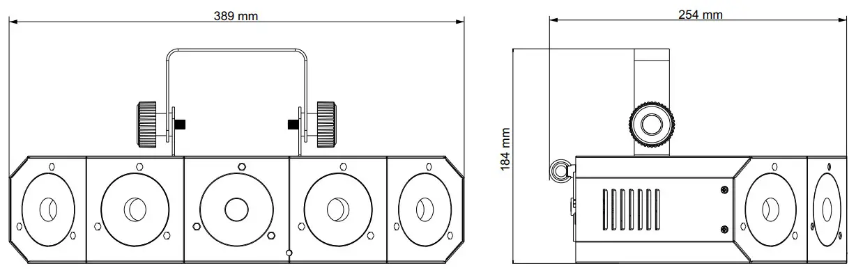
| Dimension: | Width: 38.9 cm |
| Depth: 25.4 cm | |
| Height: 18.4 cm | |
| Weight: | 3.40 kg |
| Remote control | |
| Battery: | 1 x Button cell 3.0 V CR2025 lithium manganese (provided) |

Accessories:
| EUROLITE TPC-10 Coupler, silver | No. 59006856 |
| EUROLITE Safety Bond A 3x600mm up to 5kg, silver | No. 58010310 |
| EUROLITE DMX cable XLR 3pin 3m black | No. 3022785H |
| PSSO DMX cable XLR 3pin 3m black Neutrik | No. 30227810 |
| PSSO PowerCon Connection Cable 3×1.5 3m | No. 3023503R |
| EUROLITE IR-7 Remote Control | No. 50530561 |
| EUROLITE QuickDMX USB Wireless Transmitter/Receiver | No. 70064704 |
| EUROLITE QuickDMX Wireless Transmitter/Receiver | No. 70064703 |
All information is subject to change without prior notice. © 01.06.2021
![]()
LED SCY-500 CW Beam Effect
LED-Effektscheinwerfer mit kaltweißen COB LEDs und Stroboskop
LED effect light with cold white COB LEDs and stroboscope
![]()
No. 51918673
www.eurolite.de
Eurolite is a brand of Steinigke Showtechnic GmbH Andreas-Bauer-Str. 5 97297 Waldbüttelbrunn Germany
D00113216 Version 1.0 Publ. 01/06/2021




















