Auto-Lock Kit
Garage Door Lock Installation Instructions
Auto-Lock Contents
| GARAGE DOOR LOCK – ORDER NO. 100040 | ||
| ITEM | DESCRIPTION | QTY |
| 1 | GARAGE DOOR LOCK | 1 |
| 2 | COUNTERSUNK HEAD SCREW ZN M6 X 14 | 2 |
| 3 | TAPTITE “P” BLACK SCREW M3 X 12 | 4 |
| 4 | BATTERY C-LR14 | 2 |
| 5 | WIRELESS BASE STATION MODULE | 1 |
| 6 | DRILLING TEMPLATE LABEL | 1 |
WARNING! Ensure the opener is not engaged when the Auto-lock is being used with only the bolt unit. Failure to do so may void the warranty of the opener.
CAUTION: Ensure bolt-on Auto-lock is free to move during limit setup.
Bracket Kit (Kit sold separately)
| ITEM | STRIKER BRACKET FOR DOOR: | KIT |
| 7 | PANELIST, PANELIST GEN II, PANELIST ICON, PANELMASTA, FIRMAPANEL, P7, DESIGN-A-DOOR, ENVIROPANEL, SMOOTH PANEL & TOUCH PANEL | MC0104 |
| 8 | STORMSHIELD | MC0105 |
| 9 | TONGUE AND GROOVE | MC0106 |
| ITEM | DESCRIPTION | QTY |
| 10 | FLANGE HEAD TEK SCREWS 20 X 25 CL4 | 4 |
| 11 | MUSHROOM HEAD BOLTS ¼” – 20 X ½” | 3 |
| 12 | FLANGE NUT ¼” | 3 |
WARNING!
This device will slide a bolt into the guide track automatically when the door is closed.
Not suitable for garages that have only one exit.
For emergency release press the emergency unlocks button on the lock. This will disengage the lock from the guide track and allow you to disengage the opener and open the door. The lock will reengage after the next complete cycle.
It is our strong recommendation that your operator is fitted with SAFETY BEAMS.
Safety Beams detect any obstructions in the door/gate’s path and override automatic operation if one presents.
For USE ONLY with the following garage door operators: ATS-2 & ATS-3.
NOTE: The grantee is not responsible for any changes or modifications not expressly approved by the party responsible for compliance. Such modifications could void the user’s authority to operate the equipment.
To comply with FCC/IC RF exposure limits for general population / uncontrolled exposure, the antenna(s) used for this transmitter must be installed to provide a separation distance of at least 20cm from all persons and must not be co-located or operating in conjunction with any other antenna or transmitter.
Important Safety Instructions
WARNING!
- DO NOT attempt to disassemble, repair or modify the product.
This will invalidate the warranty. - DO NOT allow children to play with the Auto-Lock.
- DO NOT install in garages that have only one exit.
- DO NOT cover, paint or lubricate the product.
CAUTION:
BURNS
- DO NOT handle damaged or leaking batteries
- The Auto-Lock Kit contains sealed lead-acid batteries that must be disposed of properly at the end of their useful life.
MUSCLE STRAIN
- DO NOT attempt to lift the door manually when the Auto-lock is engaged.
prior to installation
Preparation – setting the door limits
Ensure the door limits have been set on the opener, prior to installing the Auto-lock. Refer to the opener manual for instructions.
install batteries
a. Insert batteries 4 into the drive unit.
b. Place the cover back on the drive unit and secure with 4 x screws 3.

WARNING! remove all manual locking systems prior to installing the lock. Any damage as a result of a manual lock will void the warranty for the door, Auto-lock, and opener.
program lock
a. Press and hold the info button
on the drive unit until the light goes red.
b. Then press the lock/unlock button to test the drive unit.
standard installation (side mount)
preparation – no brackets, mounting on track

a. With the door closed, mark the position of the top of the second door wheel on the inside of the track.
b. Place the drilling template 6 label with the Datum line on top of the line marked inside.

c. Using a 6mm and 18mm stepped drill, drill marked holes through the guide and remove any burs from the holes.
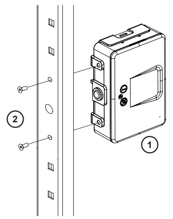
d. Assemble the Autolock 1 to the track using 2 x screws 2,

e. Close the door and check the position of the lock to the wheel, there should be a 10mm clearance.
f. Test the operation of the AutoLock by pressing the lock/unlock button to ensure the lock bolt fully engages through the guide without interference.
PROCEED TO CONNECT THE BASE STATION TO THE OPENER.
limited side room installation (door mount)
preparation – brackets, mounting on door

a. Remove the lock drive unit from the lock mechanism by depressing the two tabs on the top and bottom of the unit and pulling them apart.

b. Close door and mark mounting position of both striker and lock, by holding in place.
c. Open the door and affix the striker bracket 6 to the track with 3 x bolts 11 and nuts 12.
d. Close the door, align the lock mechanism 1 on the bottom panel door stile so that the lock bolt engages fully into the striker bracket 6, and fix using 4 x flange head tek screws 10.
e. Fit the lock drive unit to the lock mechanism.

f. Test the operation of the AutoLock by pressing the lock/unlock button to ensure the lock bolt fully engages the striker without interference.
StormShield and Tongue & Groove installation (kits sold separately)
preparation – mounting on the door stile

a. Fit the mounting bracket 8 or 9 to the lock mechanism 1 using 2 x countersunk head screws M6 x 14 3.

b. Close the door to determine the mounting position between the reinforcing braces on the bottom door panel and mark. Mount the bracket and lock mechanism as marked with the 4 flange head tek screws 20 x 25 CL4 10, however, do not fully tighten as further final adjustment may be required.
c. With the door in the closed position align the striker bracket with the lock
d. Drill 3 x ¼ holes as marked in the track lock and fix with 3 x bolts 11 and nuts 12.

e. Test the operation of the AutoLock by pressing the lock/unlock button to ensure the lock bolt fully engages the striker without interference.
connect the base station to opener
a. Disconnect the power supply to the opener.
b. For ATS-3 AM:
i. Remove the left-hand side pocket from the opener.
ii. Reach inside the opener and pull out the 4-pin harness and connect to the wireless base station module.
For ATS-2 AM:
iii. Remove the back cover to expose the control board.
iv. Reach inside the opener and pull out the 4-pin harness and connect to the wireless base station module.
c. Place the module into the pocket and refit the cover.
d. Reconnect power to the opener and test operation.
e. Upon completion of a full cycle the lock will engage into the track.

If a PE Beam is installed ensure that the channels on the base station on each device are different.
The channel on the base station can be changed by sliding the switch in either direction.
emergency operation
Press the emergency lock/unlock button on the front of the Auto-Lock to disengage the locking bolt from the guide track and allow you to disengage the opener and open the door.
WARNING! The emergency lock/unlock button on this product is not to be used as a primary means of locking the door under normal circumstances.
The emergency lock/unlock button is to be used only in case of a power outage or emergency.

battery change
a. Replace lock batteries (2 x C-LR 14) immediately when the Auto-lock LED’s red and green lights flash 3 times or are flashing slowly.
b. Remove the cover by unscrewing the four screws on the main cover.
c. Replace batteries, refit cover, and secure with screws.
d. Operate opener to complete a full open/close cycle and ensure Auto-lock engages.
Remove screws to open the main cover
LED status
lock position status
The status normally displays for 10secs after lock movement/button press.
| LED STATUS INDICATORS | ||
| RED | GREEN | LOCK STATUS |
| FLASHING RAPIDLY | LOCKING | |
| ON | LOCKED | |
| FLASHING RAPIDLY | UNLOCKING | |
| ON | UNLOCKED | |
| ON | ON | ERROR |
| FLASHING SLOWLY | FLASHING SLOWLY | LOW BATTERY |
| FLASHING ALTERNATIVELY | FLASHING ALTERNATIVELY | NO LINK WITH BASESTATION |
troubleshooting
| problem | cause | remedy |
| door not moving | communication failure | switch off power to the opener, the switch back on after 30 secs (If a battery backup is installed press & hold the STOP/ SET button on the opener until power ceases). Press the lock/ unlock button on the lock to test the operation. Press the (i) button on the lock & refer to the LED status table above. |
| main light flashes 3 times on the opener | low battery indicator | replace the batteries as per instructions below. |
| door not moving and no lights on the lock | limited battery power | press the (i) button on the lock to see if there is power in the battery. no lights – change battery lights – check LED status table. |
| main light flashing 5 times on the opener | lock is not unlocked and preventing the door from moving | check lock, test by pressing the emergency release button on the lock, and then test door operation. |
| a lock is not unlocking and preventing doors movement | lock jammed door wheel is pushing on the lock barrel. | remove the lock drive unit from the locking mechanism and test the manual operation of the bolt by engaging and disengaging the lock manually. check the lock barrel is not catching on the track. |
| red and green lights are both solid on the lock. | error with lock | Press the unlock button on the lock to test the operation. switch off power to the opener, then switch back on after 30 secs (If a battery backup is installed press & hold the STOP/ SET button on the opener until power ceases). Press the lock/ unlock button on the lock to test the operation. If it does not move contact your installer. |
| red and green lights on one lock flashing slowly | low battery | change battery, then test the operation of the lock by pressing the lock / unlock button. |
| red and green lights flashing alternatively | no link to the opener | Press the unlock button on the lock with flashing lights to disengage the bolt. Call your installer for assistance. |
Radiation Exposure Statement
This device complies with Part 15 of the FCC Rules / Innovation, Science and Economic Development (ISED) Canada’s license-exempt RSS(s). Operation is subject to the following two
conditions:
(1) This device may not cause harmful interference, and
(2) This device must accept any interference received, including interference that may cause undesired operation.
This equipment complies with FCC and ISED radiation exposure limits set forth for an uncontrolled environment. This equipment should be installed and operated with a minimum distance of 20cm between the radiator and the body.
FCC Caution: Any changes or modifications not expressly approved by the party responsible for compliance could void the user’s authority to operate this equipment.
FCC Class B Information
This equipment has been tested and found to comply with the limits for a Class B digital device, pursuant to part 15 of the
FCC Rules. These limits are designed to provide reasonable protection against harmful interference in a residential installation.
This equipment generates, uses, and can radiate radio frequency energy and, if not installed and used in accordance with the instructions, may cause harmful interference to radio communications. However, there is no guarantee that interference will not occur in a particular
If this equipment does cause harmful interference to radio or television reception, which can be determined by turning the equipment off and on, the user is encouraged to try to correct the interference by one or more of the following measures:
- Reorient or relocate the receiving antenna.
- Increase the separation between the equipment and receiver.
- Connect the equipment into an outlet on a circuit different from that to which the receiver is connected.
- Consult the dealer or an experienced radio/TV technician for help.
CAN ICES-003 (B) / NMB-003
Automatic Technology America
Vineyard Centre II, 1452 Hughes Road, Grapevine, Texas 76051, United States of America
P: +1 817 873 5076 W: www.automatictechnology.com

















