Quick Start Guide
SP230 Series
2×2 Dual Band PtP/PtMP
802.11ac Wave 2 Access Point 
Package Contents
Note: SP230 and SP230-S5 both provide two waterproof cable glands.
Installation Requirements
TERMS OF USE: All Ethernet cabling runs must use CATSe, 24 AWG (or above) Shielded Twisted Pair (STP) cabling. In addition, please cut the cable into a proper length, strip the cables on both ends, and crimp the wires into R145 connectors. It is the professional installer’s responsibility to follow local country regulations, including operation within legal frequency channels, output power, indoor cabling requirements, and Dynamic Frequency Selection (DFS) requirements.
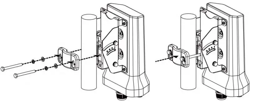
Mounting the Access Point on the Pole
![]() | |
| Attach the mounting bracket to the device using four screws (included in the packaging). Securely tighten the screws. | Attach the clamp to encircle the pole and the mounting bracket. Securely tighten the clamp. |
Note: Please avoid having obstacles or metal plates surround the access point.
Two-dimensional Mounting Kit (Optional accessory_SP-MKM5) Pole-Mount
![]() | |
| Attach the intermediate steel plate to the device using four M5 screws (included in the packaging). Securely tighten the screws. | Attach the two-dimensional mounting bracket to the intermediate steel plate using four M4 screws (included in the packaging). Securely tighten the screws. |
Attach the pole-supported bracket and align the area where the flat head screws will be attached. Insert two flat head screws into a two-dimensional mounting bracket, and tighten them approximately. 
Note: The pole-supported bracket can accommodate up to 6 cm (2.36″) in diameter.
Wall-Mount
- Separate it into two parts: half-mounting bracket and M-type bracket and unscrew four hex head machine bolts on the two-dimensional mounting bracket.
- Attach the intermediate steel plate to the device using four MS screws (included in the packaging). Securely tighten the screws.

- Attach the half-mounting bracket to the device with an intermediate steel plate using four M4
- Attach M-type bracket to the device onto the wall, using four M5 screws + screw anchors
![]() | |
| screws (included in the packaging) Securely tighten the screws. | (included in the packaging). Securely tighten the screws. |
Attach the half-mounting bracket to the M-type bracket, then screw four hex head machine bolts. Securely tighten the screws. 
Anti-theft Steel Rope (Optional accpssory_SP-CBM5)
![]() | |
| Insert three anti-theft screws (included in the packaging) to the device through the mounting bracket. Securely tighten these three screws. Attach the clamp to encircle the pole and the mounting bracket. Securely tighten the clamp. | Firstly, encircle the Anti-theft steel rope as following the left diagram, then encircle on the pole. Secondly, insert the last anti-theft screw (included in the packaging) to the device with an anti-theft steel rope. Securely tighten the screw. |
Grounding Connection & Protect from Lightning
- Make your device’s GND port connect to the ground wire.
- The ground wire connects to the earth. In addition, the grounding wire meets to the 6-AWG copper grounding wire.
Note: Be sure that grounding is available and that it must comply with local and national electrical codes. For additional lightning protection, use lightning rods and lightning arrestors.
Safety Notice
- Do not install the device close to any electrical grounding device or lightning protection system. Place the device’s own grounding and lightning protection system apart from any electrical grounding device and lightning protection system as far as possible.
- Protect components from electrostatic discharge: Please wear an ESD wrist strap or handle the power adapter by its edge and do not touch any component or printed circuit boards, especially for module devices.
- Make sure to keep the temperature and humidity of the installation location at an optimal level.
- An excellent grounding system guarantees the stable operation of the device, as well as protects the device from lightning, interference, and electrostatic discharges.
- Supply stable power to the device. Unstable power may cause the device to malfunction. The device supports a PoE power supply and is recommended if the device is installed near grid lines within less than 100 meters radius.
Installing a Waterproof Cable Gland for Ethernet Port (Optional accessory_SP-WP-CM20)
- Dismantle all the components of the waterproof cable gland and plug the cable through it. Thread and assemble one by one: (1) sealing nut (2) plastic ring (3) rubber (4) locking nut. Securely tighten all the components.
Powering the Access Point
Connect the PoE cable into the WAN/PoE IN port of the device.
Note: Please wait for 5-10 seconds while powering on.
Note: For PoE Out applications, the LAN port provides DC 48V, Max. 208mA, and up to 10W power supply. The positive side of the 48V is connected to pins 4 and 5, the negative side is connected to pins 7 and 8.
Warning: Do NOT attempt to connect any non-PoE devices to the LAN port and make sure the input power should comply with PoE Out standard.
LED Indicator
| Color | Behavior | Description |
| Red | Steady | Initializing |
| Flashing | Power / system on | |
| Green | Steady | Internet connection detected |
| Flashing | No internet connection detected |
Access Point Configuration
The SP230 default AP mode is TAP mode, which obtains IP addresses from DHCP Option 43 protocol. The SP230-S5 is FAP mode.
Note: In TAP mode, the AP must be able to go with wireless LAN controllers (WLCs) for bulk configuration and performing other commands of access points. Please refer to WLC QSG for settings first, then go back to finish the AP configuration. https://www.zcom.com.tw/index/downloads?kevword=&meterialtype=49
Step 1. Power on the AP. As the status of the LED indicator from flashing changes to steady green, the connection is successful.
Note: Please make sure the DHCP server is enabled on the network once accomplished WLC settings. The access point must receive its IP address through a DHCP server.
Note: Switching from DHCP to assign a static IP address or DNS and L2 discovery mode to the access point, please refer to the user manual for more information. https://www.zcom.com.tw/index/downloads?kevword=&meterialtype=25
If the access point cannot connect to WLC by DHCP broadcast, please refer to the following optional settings. Optional: Set up a static IP address
Note: The following procedure assumes that Windows 10 is the operating system. Procedures for other operating systems are similar.
Step 1. On your computer, configure your network adapter from the “Local Area Connection “settings as follows:
- Start-*Control Panel-*Network & Internet4Change Adapter Options4Ethernet
Step 2. Edit the TCP/IPv4 address setting as follows: - Properties-*Internet Protocol Version 4(TCP/IPv4)
Step 3. Select “Use the following IP address” and make the following entries: - IP address: 192.168.1.168 (or any available address in the 192.168.1.x network, except 192.168.1.1
- Subnet mask: 255.255.255.0
Leave the “Use the following DNS server address” field empty.
Step 4. Click “OK” to save your changes.
Login into the access point
Step 5. Launch a Web browser; type default URL https://192.168.1.1 to connect to the access point. When a security alert dialog box appears, click OK/Yes to proceed.
Step 6. When the login page appears, enter the following: Username: root/Password: password
Step 7. Click login.
Customizing the Wireless Settings
On the Web interface menu, Select Status-*General in the menu bar. Check your switchmode item to select “Connect with via IP”, and set up your WLC IP address on “Wireless Switch Address 1”.
GP
Note: IP address of WLC needs to be assigned (ex. 192.168.1.228) while on the operation.
Note: If you need a standalone access point, please change to FAP mode.
FAP Mode
The default AP mode is TAP mode, before FAP configurations please change AP mode.
Step 1. Currently in TAP Mode: On the Web interface menu, click System-*AP mode.
Step 2. Select Fat AP from the drop-down list.
Step 3. Click save & apply to take effect.
Note: For FAP mode, please refer to the user manual for more information. https://www.zcom.com.tw/index/clownloads?keyword=&meterialtype=25
Bridge Mode
Bridge mode allows two or more wireless access points to communicate with each other for the purpose of joining multiple LANs. The default AP mode is TAP mode, before bridge mode configurations please change to FAP mode.
Note: For bridge mode settings, please refer to the user manual for more information. httbs://www.zcom.com.tw/index/downloads?keyword=&meterialtype=25
Technical Specifications
Pysical
| Physical Dimensions (LxW x H) | 151 x 75.5 x 235 mm (5.94 x 2.97 x 9.25 in) | WAN/PoE In Port | One 10/100/1000 Mbps port |
| One 10/100/1000 Mbps port | |||
| Weight | 1000 grams (2.2 lbs.) | LAN Port One 10/100/1000 Mbps port | |
| Antenna | SP230 | 2.4GHz: Embedded 5.5 dBi antennas 5GHz: Embedded 6.5 dBi antennas | |
| SP230-S5 | 2.4GHz: Embedded 5.5 dBi Omni antenna 5GHz: Embedded 10.43 dBi directional antennas | ||
| Power Supply | DC 48V, 0.5A PoE | ||
| LAN/PoE Out | 48V/10 Watts (Max.), Passive PoE (Pairs 4, 5+; 7, 8 Return) | ||
| Power Consumption | Max. 12 Watts | ||
Environmental
| Temperature | Humidity | ||
| Operating | -40°C to 70°C (-40°F to 158°F) | 10% to 90% (Non-condensing) | |
| Storage | -40°C to 80°C (-40°F to 168°F) | 10% to 90% (Non-condensing) | |
Compliance
FCC CAUTION
Changes or modifications not expressly approved by the party responsible for compliance could void the user’s authority to operate this equipment. This device complies with Part 15 of the FCC Rules. Operation is subject to the following two conditions.
- This device may not cause harmful interference, and
- This device must accept any interference received, including interference that may cause undesired operation.
This equipment has been tested and found to comply with the limits for a Class A digital device, pursuant to part 15 of the FCC Rules. These limits are designed to provide reasonable protection against harmful interference when the equipment is operating in a commercial environment.
This equipment generates, uses, and can radiate radio frequency energy and, if not installed and used in accordance with the instruction manual, may cause harmful interference to radio communications. Operation of this equipment in a residential area is likely to cause harmful interference in which case the user will be required to correct the interference at his own expense.
This radio transmitter has been approved by FCC.
Note: Operations in the 5.15-5.25GHz band are restricted to indoor usage only.
You are cautioned that changes or modifications not expressly approved by the party responsible for compliance could void the user’s authority to operate the equipment.
Radiation Exposure Statement
- This equipment complies with radiation exposure limits set forth for an uncontrolled environment.
- This equipment should be installed and operated with a minimum distance of 26 cm between the radiator and your body.
- This transmitter must not be co-located or operating in conjunction with any other antenna or transmitter.
CE Marking
CE marking on this product represents the product is in compliance with all directives that are applicable to it.
![]()
| AT | BE | BG | CY | CZ | DE | DK | EE | EL | ES | Fl | FR | HR | HU |
| IE | IT | LV | LT | LU | MT | NL | PL | PT | RO | SE | SI | SK |
BFWA (Broadband Fixed Wireless Access) members noted in blue
Note: This device meets Max. TX power limit per ETSI regulations.
The following applies to products that operate in the 5 GHz frequency range:
Note: This device is restricted to indoor use only when operating in the 5150 – 5350 MHz frequency range within all member states.
Note: Operation in the 5.8 GHz frequency band is prohibited in BFWA member states. Other countries listed may use the 5.8 GHz, frequency band.
WEEE Compliance Statement
European Directive 2012/19/EU requires that the equipment bearing this symbol on the product and/ or its packaging must not be disposed of with unsorted municipal waste. The symbol indicates that this product should be disposed of separately from regular household waste streams. It is your responsibility to dispose of this and other electric and electronic equipment via designated collection facilities appointed by the government or local authorities. Correct disposal and recycling will help prevent potential negative consequences to the environment and human health. For more detailed information about the disposal of your old equipment, please contact your local authorities, waste disposal service, or the shop where you purchased the product.
EU Declaration of Conformity
Hereby, Z-COM, Inc. declares that the radio devices are in compliance with Directive 2014/53/EU. The full text of the EU declaration of conformity is available at the following internet address: https://www.zcom.com.tw/index/downloads?keyword=&meterialtype=56
NCC Statement (NCC wan)
| PN | Item | Picture | SP230 | SP230-S5 |
| SP-CBM5 | Anti-theft steel rope + alien wrench + four screws | ![]() | V | V |
| SP-MKM5 | Two-dimensional mounting kit • Two-dimensional mounting bracket • Pole-supported bracket • Intermediate steel plate • Two flat head screws • Four self-tapping screws • Four screw anchors • Four machine screws (M4) • Four machine screws (M5) | ![]() | V | V |
| SP-WP-CM20 | Waterproof cable gland | V | V | |
| SP-48063-XX | 48V PoE Injector + power cord | ![]() | V | V |
Note: When ordering power adaptors, you must specify the destination region by indicating -the US, -EU instead of -XX.
Contact Information
All information may be changed by Z-COM at any time without prior notice or explanation to the user. For further information please refer to our website: www.zcom.com.tw
Z-COM, Inc.
www.zcom.com.tw
Copyright CO 2021 Z-COM Inc.
All rights reserved.





















![Ptzoptics 20x 3g-sdi Gen 2 Live Streaming Ptz Camera User Manual [pt20x-sdi-gy-g2 Pt20x-sdi-wh-g2] Ptzoptics 20x 3g-sdi Gen 2 Live Streaming Ptz Camera User Manual [pt20x-sdi-gy-g2 Pt20x-sdi-wh-g2]](https://static-data1.manualsee.com/1/img/440/60714/2021/02/PTZOptics-20x-3G-SDI-GEN-2-Live-Streaming-PTZ-Camera-User-Manual-PT20X-SDI-GY-G2-PT20X-SDI-WH-G2.jpg)







