Danby DRCA240BSS 2.5-cu ft Air Fry Slide-in Electric Range

Welcome
Welcome to the Danby family. We are proud of our quality)t products and we believe in dependable service. We suggest that you read this owner s manual before plugging in your new appliance as it contains important operation information safety information, troubleshooting, and maintenance tips to ensure the reliability and longevity ot f your appliance.
Visit www.Danby.com to access self-service tools, FAQs, and much more. For additional assistance call l-800-263-2629. Note the information below; you will need this information to obtain service under warranty.
You must provide the original purchase receipt to validate your warranty and receive service.
- Model Number:
- Serial Number:
- Date of Purchase:
Need Help?
Before you call for service, here are a few things you can do to help us serve you better.
Read this owner’s manual:
It contains instructions to help you use and maintain your appliance properly.
If you receive a damaged appliance:
Immediately contact the retailer or builder that sold you the appliance.
Save time and money:
Check the troubleshooting section at the end of this manual before calling. This section will help you solve common problems that may occur.
- 1 -800-26- Danby ( 1 -800-263-2629)
Important Safety Information
READ AND FOLLOW ALL SAFETY INSTRUCTIONS
WARNING – TIP-OVER HAZARD
- A child or adult can tiP, the appliance and be killed.
- Verify the anti-tip bracket has been properly installed to the floor.
- Ensure the anti-tip bracket is re-engaged when the range is moved.
- Do not operate tlie range without the anti-tip bracket in place and engaged.
- Failure to follow these instructions can result in death or serious burns to children or adults.
ANTI-TIP DEVICE
To reduce the risk of range tipping by abnormal usage or improper door loading, the range must be secured by installing an anti-tip device. There are two different anti-tip devices included with this appliance.
Note: If the range is ever relocated the anti-tip bracket must be removed and installed at the new location.
BRACKET
The anti-tip bracket can be installed on either the left or the right rear leg by following the instructions below.
- Place the anti-tip bracket on the floor where the range will be installed.
- Mark the locations of the two holes in the anti-tip bracket.
- Use a 5/16″ mason!Y drill bit to drill a hole in the floor and insert the provided plastic anchor.
- Secure the bracket to the floor using the provided screws.
- Slide the range into position ensuring that the anti-tip bracket is positioned over the rear foot of the appliance as per the below images.

CHAIN
There are two anti-tip chains that should be installed on both sides of the appliance.
- Screw the chains into the walls on either side of where the aP,pliance will be located.
- Attach the otlier ends of the chains to the sides of the appliance using a screw and locking nut.

WARNING
SUFFOCATION AND RISK OF CHILD ENTRAPMENT
To avoid the possibility of child entrapment please take the following precautions oefore throwing out the appliance:
- Remove the oven door completely
- Never allow children to operate, play with or crawl inside the electric range
NOTICE – BEFORE FIRST TIME USE
Before use of this range for the first time, the heating elements have a protective coating, which must be burned off before use. To do this:
- Open the oven door and set the temperature control knob to 450° F.
- Turn the function selector to the bake element and the broil element separately for approximately 15 minutes.
- It is important to ensure adequate ventilation during this period.
The burners also have a protective coating which must be burned off before use. To do this:
- Set the burner selector to the maximum setting for 5 minutes.
- It is important to ensure adequate ventilation during this period.
- Switch off the burners after 5 minutes and allow to cool completely.
DANGER – FIRE RISK
- It is recommended that this appliance be connected to a separate circuit that is not shared with any other appliance.
- Never clean appliance parts with flammable fluids. These fumes can create a fire hazard or explosion. Never use or store gasoline or other flammable vapors or liquids inside or in the proximity of this appliance, failing to do so may result in a fire hazard or explosion.
- Before cleaning or servicing this appliance, unplug the appliance completely from the electrical outlet. Failure to do so can result in electrical shock or death.
- Do not attempt to repair or replace any part of your appliance unless it is specifically recommended in this manual. All other servicing should be referred to a qualified service technician.
- For our safety, this appliance should never be used Jas a source of heat or as a space heater. The stove top elements should not be operated without proper cookware.
- All OPenings in the wall behind the appliance and the floor under the appliance shall be sealed.
- KeeP. the area around the appliance is clear and free from combustible materials, gasoline, and other flammable vapors.
- Do not obstruct the flow of air around the appliance.
- Always disconnect the electrical supply to the appliance before servicing.
GENERAL SAFETY REQUIREMENTS
Ensure the appliance is properly installed and grounded by a qualified technician. Children should not be left alone or unattended in the area where the appliance is in use. Children should never be allowed to sit or stand on any part of the appliance.
Do not store items of interest to children in cabinets above a range or on the back guard of a range. Children climbing on the range to reach items could be seriously injured. To eliminate the risk of burns or fire by reaching over heated surface units, cabinet storage space located above the surface units should be avoided. If cabinet storage is to be provided the risk can be reduced by installing a range hood, that projects horizontally a minimum of 5 inches (12.7 cm) beyond the bottom of the cabinets. Loose-fitting or hanging garments should never be worn while using the appliance.
Use only dry pot holders. Moist or damp pot holders on hot surfaces may result in burns from steam. Do not let the pot holder touch hot heating elements. Do not use a towel or other bulky cloth. If power is lost to an electric cooktop while a surface element is ON, the surface element will turn back on as soon as power is restored. In the event of power loss, failure to turn all surface element knobs to the OFF P, Position may result in the ignition of items on or near the cooktop, leading to serious injury or death.
To avoid the possibility of a burn or an electric shock, always be certain that the controls for all surface elements are at the OFF position, and that all coils are cool before attempting to lift or remove a coil cooking element. This range is designed and manufactured solely for cooking domestic (household) food and is not suitable tor any non-domestic application and therefore should not be used in a commercial environment. The range warranty will be void if the range is used within a non-domestic environment.
DO NOT TOUCH HEATING ELEMENTS OR AREAS NEAR THEM
Heating elements on the surface or in the interior of the appliance may be hot even though they are dark in color. Areas near the heating elements may become hot enough to cause burns. During and after use do not touch or let clothing or other flammable materials contact the heating elements or areas near them until they have had sufficient time to cool. The surfaces of the appliance may become hot enough to cause burns, among them are the oven vent openings and surfaces near these openings, oven doors, and oven windows.
WARNING
To reduce the risk of burns, do not move this appliance while it is hot. To reduce the risk of injury due to the tipping of the appliance, verify the re-installation ot this ap Pliance into the anti-tipping device provided after returning the license to the original installed position.
WARNING
The manufacturer declines all liability for injury to persons or damage to property caused by incorrect or improper use of the range.
COOK TOP SAFETY REQUIREMENTS
Use the proper pan size. This appliance is equipped with four burners of different sizes. Select utensils that have flat bottoms large enough to cover
the surface of the heating element. The use of undersized utensils will expose a portion of the heating element to direct contact and may result in the ignition of clothing. Proper relationship ot utensils to burner will also improve efficiency.
Never leave the appliance unattended while in use. Boilover causes smoking and greasy spills can ignite. Never leave oil unattended while frying. If allowed to heat beyond its smoking point, the oil may ignite resulting in a fire that may spread to surrounding cabinets. Use a deep fat thermometer whenever possible to monitor oil temperature. To avoid oil spillover and fire, use a minimum amount of oil when shallow pan-frying and avoid cooking frozen foods with excessive amounts of ice.
Ensure that reflector pans or drip bowls are in place. The absence of these pans or bowls during cooking may subject wiring or components underneath to damage. Only: certain types of glass, ceramic, earthenware or other glazed utensils are suitable for range-top service without breaking due to sudden changes in temperature. To reduce the risk of burns, ignition of flammable materials and spillage due to unintentional contact, the handle of a utensil should be positioned so that it is turned inward and does not extend over adjacent burners. Removable heating elements should never be immersed in water. Do not cook on a broken cooktop. If the cooktop should break, cleaning solutions and spillovers may penetrate the broken cooktop and create a risk of electric shock. Contact a qualified technician immediately.
OVEN SAFETY REQUIREMENTS
Use care when opening the door. Allow hot air or steam to escape before removing or replacing food. Do not heat unopened food containers. Build up of pressure may cause the container to burst and result in injury. Keep oven vents unobstructed. Always place oven racks in the desired location while the oven is cool. If the rack must be moved while the oven is hot, do not let the pot holder contact the hot heating element in the oven. Do not use the oven if a heating element develops a glowing spot during use or shows other signs of damage. An allowing spot indicates the heating. 9 elements may fail and present a potential burn( tire, or shock hazard. Turn the oven off immediately and have the heating element replaced by a qualified service technician.
Do not line the oven walls, racks, or burner bowls with aluminum foil. Do not place shelves, pans, baking trays, broil trays, or other cooking utensils in the bottom of the oven chamber. Always place it on an oven shelf. Never clean the oven with any high-pressure steam cleaning devices. Do not leave anything on the top of the oven vent. Never cover the oven vent opening with aluminum foil or any other material.
BEFORE BEGINNING
Carefully unpack the appliance and ensure there is no damage to the oven, cooktop, or structure and that the oven door opens and closes properly. Remove all Packing materials such as plastic bags, polystyrene foam, packing straps, etc. Keep packing materials out of reach of children at all times to prevent possible serious injury. The range has been thoroughly tested for safe and efficient operation. However, as with any appliance, there are specific installation and safety, precautions that must be followed to ensure safe and satisfactory operation.
Keep these instructions for future reference. Installation of this appliance requires basic mechanical skills and roughly 1 to 3 hours of time. Proper installation is the responsibility of the installer. Product failure due to improper installation is not covered under the warranty. Before beginning the installation, switch the power off at the service panel and lock the service disconnecting means to prevent power from bein9 switched on accidentally. If the service disconnects means cannot be locked securely fastened a warning device such as a tag to, the service panel.
GROUNDING INSTRUCTIONS
This appliance must be grounded. Grounding reduces the risk of electrical shock by providing an escape wire for the electrical current. This appliance has a power cord that has a grounding wire with a 4-prong plug. The power cord must be plugged into an outlet that is properly grounded. If the outlet is a 2-prong wall outlet, it must be replaced with a properly grounded 4-prong wall outlet. The rating F,>late indicates the voltage and frequency the appliance is designed for.
WARNING
Improper use of the grounding plug can result in a risk of electric shock. Consult a qualified electrician if the grounding instructions are not completely understood, or if doubt exists as to whether the appliance is properly grounded.
Do not connect the appliance to extension cords, adapters, or together with another appliance in the same wall outlet. Do not splice the power cord. Do not under any circumstances cut or remove the ground prong from the power cord. If the power supply cord is damaged, it must be replaced by the manufacturer, its service agent, or a similarly qualified person in order to avoid hazards.
Note: Turning the aPpliance off does not disconnect the appliance from the power supply.
It is recommended that the power cord and the plug be placed parallel with the floor so that the cord runs parallel with the floor.
INSTALLATION INSTRUCTIONS
ACCESSORIES
- Anti-tip bracket (1 set)
- Anti-tip chain (2 sets)
- Oven racks (x2)
- Air fryer rack(xl)
- Screws (x7)

DIMENSIONS
The dimensions of this appliance are:
- A. 36 ~ 36.4 inches (91 .5 ~ 92.5 cm) from the floor to the cooktop
- B. 25.4 inches (64.5cm) deep
- C. 23.4 inches (59.5 cm) wide

It is the installer’s responsibility to comply with installation clearances specified in the manual. The minimum cabinet OPening dimensions and clearances must be used. The minimum spacings must be maintained between the appliance cooking surface and the horizontal surface above the cooktop.
30 inches (65 cm) is the minimum clearance between the top of the cooking surface and the bottom of an unprotected wood or metal cabinet.
LEVELING INSTRUCTIONS
The appliance must be level to operate safely and Properly. There are four leveling legs located at the corners of the bottom of the appliance. Adjust the leveling legs until the appliance is level. Use a carpenter’s level to confirm.
OPERATING INSTRUCTIONS
SURFACE COOKING CONTROLS
The surface heating elements of the appliance are designed for a variety of heat settings. MAX indicates the highest setting. MIN indicates the lowest setting.
Changing to a higher heat setting will happen faster than changing to a lower heat setting as 1t will take time for the heat to dissipate. To use the surface burner, push the control knob in and turn to the desired setting. The knob only needs to be pushed in when moving out of the “OFF” POsition. When the knob is in any position other than “OFF”, it can be turned without pushing in.
Ensure that the element is turned off when cooking is finished. An indicator light will glow when any heating element is turned on. Use medium or heavyweight cookware. Aluminum cookware conducts heat faster than other metals. Cast-iron and coated cast-iron cookware are slow to absorb heat but generally cook evenly at low or medium heat settings. Steel pans may cook unevenly if not combined with other metals.
Do not overfill cookware with fat that may spill over when adding food. Frosty foods bubble vigorously. Watch foods frying at high temperatures. Keep range and hood deans from accumulated grease. To conserve the most cooking energy, pans should be flat on the bottom and have straight sides and tightfitting lids. Match the size of the saucepan to the size of the surface element. A pan that extends more than an inch beyond the edge of the drip pan traps heat, which causes “crazing’ (fine hairline cracks) on porcelain, and discoloration ranging from blue to dark gray on chrome drip pans.
Wipe spills off the elements with a damp cloth as soon as they cool down. Be sure the control knob is set to OFF.
Never leave an empty pot or one that has boiled dry on a hot surface element. The pot could overheat and damage the pot or the surface of the appliance. Always be sure that all control knobs are turned OFF and that the indicator lights are off when the appliance is not in use.
SURFACE COOKING KNOB
Never leave food unattended while cooking. Boilovers cause smoking. Greasy spillovers may catch fire. Note that the icon above the knob indicates which burner the knob controls.
OVEN COOKING CONTROLS
The oven has four available functions that can be set using the function selector knob.
- OFF
- Light
- Broil
- Bake
- Air Fry

The oven knob is used to choose the oven cooking temperature °and is °marked in 50-degree increments, from 200 F to 450 F.
To use the oven turn the function selector knob to bake and turn t e oven temperature knob to the desired cooking temperature.
OVEN BAKING AND ROASTING
- Position the shelves in the oven. If cooking on two shelves at the same time, stagger the pans for the best heat circulation.
- Close the oven door. Turn the function selector knob to bake. Turn the oven temperature knob to the desired temperature.
- Allow the oven to preheat if required.
- Place the food on the center of the oven shelf. Allow at least 2 inches between the end of the pan and the oven wall or any adjacent pans.
- Check the food regularly. Remove once done and ensure the oven is turned off.
BAKING AND ROASTING TIPS
- Follow a tested recipe and measure the ingredients carefully. If you are using a package mix, follow the label directions.
- Do not open the oven door while baking or roasting. Heat will be lost and the cooking time might need to be extended. If you must Open the door, open it partially and close it as quickly as possible.
- Roasting is cooking by dry heat. Tender meat or poultry can be roasted uncovered. Roasting temperatures, which should be low and steady, keep spattering to a minimum. When roasting it is not necessary to sear, baste, cover, or add water to the meat.
- Frozen roasts of meat can be cooked without thawing, but allow 10 to 25 minutes of additional time per pound of meat (10 minutes per pound for roasts under 5 pounds, more time for larger roasts).
- Thaw frozen poultry before roasting to ensure even cooking. Some commercial frozen poultry can be cooked successfully without thawing. Follow the directions given on the package label.
OVEN BROILING
Broiling involves cooking food by intense radiant heat from the upP.er element in the oven. Most fish and tender cuts of meat can be broiled. Follow these steps to keep spattering and smoking to a minimum.
- If the meat has fat or gristle around the edge, cut vertical slashes through both about 2″ apart. If desired, fat may be trimmed, leaving a layer about 1 /8″ thick.
- Place the meat on a broiler grid in a broiler pan designed for broiling. Always use the grid so the tat drips into the broiler pan; otherwise, the juices may become hot enough to catch fire.
- Place the shelf in one of the top two positions for most broiling.
- Place the food in the oven and close the door. Always broil with the door closed.
- Turn the oven function selector knob to BROIL.
- Turn the oven temperature knob to the desired cooking temperature.
- Food can be turned in during broiling if necessary. Be cautious of hot air or steam when opening the oven door.
- Make sure to turn the oven temperature knob to OFF once broiling is complete.
BROILING TIPS
- If desired, marinate meats or chicken before broiling or brush with barbecue sauce in the last 5 – 10 minutes of cooking.
- When arranging food on a pan, do not let fatty edges hang over the sides as the dripping fat will soil the oven as it cooks.
OVEN SHELVES
To remove the shelves from the oven, Pull the shelf outward, tilt the front end upward, and pull it out.
Place the shelves, and place the shelf on the support with the stop locks facing up and toward the back of the oven. Tilt up the front and push the shelf toward the back of the oven until it goes past the bump on the shelf support, then lower the front of the shelf and push it all the way into the oven. The oven has three different shelf support positions to accommodate different cooking requirements.
SHELF POSITIONS
- Most baking is done on the second or third shelf position from the bottom of the oven.
- When baking multiple items, use two shelves positioned on the second and third shelf supports from the bottom of the oven.
- Bake angel food cakes on the first shelf position from the bottom of the oven.
- Roasting is usually done on the bottom shelf position.
Cookware Tips
The physical characteristics of pots and pans influence the performance of any cooking system. Therefore, emphasis must be placed on the choice of proper cookware.
- Use cooking vessels with flat bottoms and tight-fitting lids to conserve energy and shorten cooking time.
- Only certain types of glass, glass/ceramic, ceramic, earthenware or other glazed utensils are suitable for cooktops. Manufacturers suggest using low to medium heat selections when
- Pan size should match the element size. A slightly larger pan covers the entire element and prevents spillovers from contacting the heat surface and burning in. Using a smaller pan than the element is a waste of energy.
- To avoid spattering and to maximize efficiency, pan bottoms should be clean and dry before coming in contact with the elements.
- Wipe spills off the elements with a damp cloth as soon as they have cooled down, which will save clean-up time than you clean them later. Be sure the control is OFF.
If a surface unit stays red for a long time, the bottom of the pan is not flat enough or is too small for the surface unit. Prolonged usage of incorrect utensils could result in damage to the surface unit, cooktop, wiring, and surrounding areas. To prevent damage use the correct utensil, start cooking on the “HI” position, and turn the control down to continue cooking.
Never leave an empty utensil or one which has boiled dry, on a hot surface unit. The utensil could overheat and damage the utensils or surface unit.
Always be sure that all control knobs are turned to the “OFF” position and the indicator lights are OFF when you are not cooking.
WARNING
Make sure that the handles of cookware do not stick out over the edge of the range to avoid being knocked over by accident. This also makes it more difficult for children to reach the cooking pots/pans.
Electric Connection
WARNING
Improper grounding can result in the risk of electric shock. If the power cord is damaged, have it replaced by an authorized Furrion Products service center.
- The appliance must be properly installed and grounded by a qualified technician in accordance with the National Electrical Code ANSI/NFPA No. 70 (Latest Edition) and local electrical code requirements. Installation should be made by a licensed electrician.
- The range may be connected by means of permanent “Hard Wiring” or “Power Supply Cord Kit”. Power supply cord is not supplied for USA market, but is available through your local electric supply house.
- Use only 3-conductor or 4-conductor UL listed range cord rated at 40 amps, 8AWG with 125/250V minimum voltage range. These cords may be provided with strain relief or conduit connectors.
- Furrion provides a separate power cord that is included in the part list for Canadian users. Before use please follow the instructions in section 4-Wire Power Cord Installation on page 16 to connect the power cord.
- The range must be connected to the proper electric voltage and frequency as specified on the rating label.
- The range can be connected directly to the fused disconnect (or circuit breaker box) through flexible, armored or non-metallic sheathed, copper cable (with grounding wire). Allow two to three feet of slack in the line so that it can be moved if servicing is necessary.
- For personal safety, the range must be properly grounded.
- Remove the house fuse or open the circuit breaker before beginning installation.
- Do not repair or replace any parts of the appliance by your own unless the repair is allowed and the parts are recommended by the manufacturer. All other maintenance should be made by a qualified technician.
- To minimize the possibility of electric shock, disconnect this appliance from the AC power supply before attempting any maintenance.
NOTE:
Turning the appliance off does not disconnect the appliance from the power supply. We recommend having a qualified technician to service your appliance.
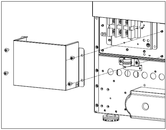
3-Wire Power Cord Installation
- Remove the Terminal Block Access Plate on the back of the range by removing the fixing screw.
- Loosen the screws securing the strain relief bracket.
- Insert all 3 power cords (L 1, L2, Grounding) passing through the bracket.
- Loosen the 2power leads terminal (L 1, L2) nuts and washers on the terminal block
- Plug the 2 wire terminals into the terminal block as shown, and then tighten the nuts.
- Loosen the ground nut and plug the grounding wire terminal into the nut as shown. Then tighten the nut.
- Tighten the screws of the bracket when all cords are plugged and secured.
- Assemble the Terminal Block Access Plate.
NOTE: The neutral or ground wire of the power cord must be connected to the GROUND NUT. The power leads must be connected to L 1 and L2.
4-Wire Power Cord Installation
- Remove the Terminal Block Access Plate on the back of range by removing the fixing screw.
- Loosen the screws securing the strain relief bracket.
- Insert all 4 power cords (L 1, L2, N, Grounding) passing through the bracket.
- Loosen the 3 power cord terminal (L 1, L2, N) nuts and washers on the terminal block
- Plug the 3 wire terminals into the terminal block as shown, and then tighten the nuts.
- Loosen the ground nut and plug the grounding wire terminal into the nut as shown. Then tighten the nut.
- Tighten the screws of the bracket when all cords are plugged and secured.
- Assemble the Terminal Block Access Plate.
NOTE:
The neutral wire of the power cord must be connected to the neutral terminal located in the center of the terminal block. The ground wire of the power supply cord must be attached to the frame of the range by using the green-colored grounding screw. The power leads must be connected to L 1 and L2.
CARE & MAINTENANCE
Porcelain oven interior
With proper care, the porcelain enamel interior will retain its finish for many years. Soap and water can be used to clean the interior. Heavy splattering or spills may require cleaning with a mild abrasive cleaner. Do not allow spills with high acid content such as milk, tomatoes, fruit juices or pie filling, to remain on the surface. They may cause dull spots even after cleaning. Household ammonia may make cleaning easier. Place 1 /2 cup of ammonia in a shallow glass pan and leave in a cold oven overnight. The ammonia fumes will help loosen burned grease and food.
Cautions about using spray-on oven cleaners
Do not spray oven cleaner on the electrical controls and switches as it could cause a short circuit and result in sparking or fire. Do not spray oven cleaner directly onto the oven heating elements. Do not allow a film from the oven cleaner to remain on the temperature sensor as it could cause the oven to heat improperly. The sensor is located on the rear of the oven. Carefully wipe the bulb clean after each oven cleaning, being careful not to move the sensor since a change in its position could affect how the oven bakes.
Do not spray oven cleaner on the outside of the oven door, landless, or any exterior surface of the oven, cabinet, or painted surfaces. The cleaner can damage these surfaces.
Oven shelves
Clean the shelves with an abrasive cleaner or steel wool. After cleaning, rinse the shelves with clean water and dry them with a clean cloth.
Oven heating elements
Do not clean the baked element or the broil element. Any food residue will burn off when the elements are heated.
Control knobs
The control knobs may be removed for easier cleaning. Make sure the knobs are in the “OFF” position and then pull straight off the stems for cleaning. The knobs can be cleaned by hand. Make sure the insides of the knobs are dry before replacing the appliance.
Painted surfaces
The Painted surfaces include the sides, the control panel, and the door. Clean these with soap and water or a vinegar and water solution. Do not use commercial oven cleaners, cleansing powders, steel wool, or harsh abrasives on any painted surface.
REMOVABLE OVEN DOOR
The oven door is removable but it is heavy. It is recommended that at least two people work together to remove it.
To remove the door:
- Open the door to the full open position.
- Pull the hinge locks up over the hinge hooks on both sides.
- Grasp the door firmly on both sides, lift slightly and pull it straight out and away from the oven.
To replace the door:
- Firmly grasp both sides of the door at the top.
- Insert and seat the upper and lower hinge arms into the oven slots.
- Push the hinge locks down from the hinge hooks.
- Close the oven door and make sure it is working properly. If it seems uneven or does not close completely, remove it again and repeat the steps to replace it.
Note: Do not attempt to close the door until it is properly installed. The hinges could be damaged.
REMOVABLE STORAGE DRAWER
To clean the lower storage drawer, pull it out until it cannot be pulled any further, and then lift it upwards. To replace the storage drawer in the appliance, place the shelf on the side rails and push inward.
OVEN LIGHT REPLACEMENT
Important:
Before replacing the oven light bulb make sure the electrical power is disconnected from the appliance. Failure to do so may result in electric shock or burn.
Be sure to let the light cover and bulb cool completely before replacing them. Removing the oven door can make this process easier.
To replace the light bulb:
- Remove the protective light cover. Do not remove any screws to remove the light cover.
- Do not touch the light bulb with a wet cloth. Replace the light bulb with an appliance light bulb suitable tor high temperatures and having the same specifications: 230V, 60Hz, 25W, G9.
- Replace the protective cover.
GLASS DOOR WINDOW
To clean the outside of the glass door window{ use a glass cleaner. Rinse and polish with a dry cloth. Avoid scratching or impacting the glass window. Doing so may cause the glass to break.
TROUBLESHOOTING
Danby Consumer Care: 1-800-263-2629
Hours of Operation:
Monday to Thursday 8:30 am – 6:00 pm Eastern Standard Time Friday 8:30 am – 4:00 pm Eastern Standard Time
Information in this manual is subject to change without notice.
| PROBLEM POSSIBLE CAUSE | |
| No power | • A fuse may be blown or the circuit breaker tripped • Plug not fully inserted into the wall outlet |
| Surface elements not working properly | • The elements are not properly installed • The controls are not set correctly • The drip pans are not set securely in the cooktop |
| Food does not broil properly | • Oven temperature is not properly set • Shelf position is too low • Cookware is not suited for broiling • Aluminum foil is being used and is blocking airflow |
| Food does not bake or roast properly | • Oven temperature is not properly set • Shelf position is incorrect • Oven was not pre-heated • Cookware is not suited for baking or roasting |
| The oven light does not work | • Light bulb is loose • Light switch is not operating correctly |
DANBY PRODUCTS LIMITED, ONTARIO, CANADA Nl H 6Z9. DANBY PRODUCTS INC., FINDLAY, OHIO, USA 45840. www.Danby.com.






![Samsung Front Control Slide-in Electric Range With Air Fry [ne63t8511ss] User Manual Samsung Front Control Slide-in Electric Range With Air Fry [ne63t8511ss] User Manual](https://static-data1.manualsee.com/1/img/335/18027/2020/12/00-96.jpg)











![Samsung Front Control Slide-in Electric Range With Smart Dial & Air Fry [ne63t8711ss] User Manual Samsung Front Control Slide-in Electric Range With Smart Dial & Air Fry [ne63t8711ss] User Manual](https://static-data1.manualsee.com/1/img/343/18039/2020/12/00-98.jpg)





