SAMSUNG NE63T8311SS-AA 6.3 cu. ft. Smart Slide-in Electric Range with Convection in Stainless Steel

Important note to the consumer
Anti-tip device
WARNING
To reduce the risk of tipping the appliance, the appliance must be secured by properly installed anti-tip devices packed with the appliance.
- A. A child or adult can tip the range and be killed.
- B. Install the anti-tip device to the structure and/or the range at rear right (or rear left) of the range bottom.
- C. Engage the range to the anti-tip device by leveling leg at rear right (or rear left) of the range bottom.
- D. Re-engage the anti-tip device if the range is moved.
- E. See installation instructions for details.
- F. Failure to do so can result in death or serious burns to children or adults.
READ THESE INSTRUCTIONS COMPLETELY AND CAREFULLY. Important note to the installer
- Read all instructions contained in these installation instructions before installing the range.
- Remove all packing materials from the oven compartments before connecting the electrical supply to the range.
- Observe all governing codes and ordinances.
- Save for the local electrical inspector’s use.
- Be sure to leave these instructions with the consumer.
Important note to the consumer
Keep these instructions for the local electrical inspector’s use.
- As when using any appliance generating heat, there are certain safety precautions you should follow.
- Be sure your range is installed and grounded properly by a qualified installer or service technician.
- For the range to ventilate properly, make sure the range’s vents are not blocked or covered, and that there is enough clearance at the top, back, sides, and underneath the range. The vents allow the necessary exhaust for the range to operate properly with correct combustion and get the good cooking result.
- Make sure the wall coverings around the range can withstand the heat generated by the range.
- To eliminate the need to reach over the surface elements, avoid having cabinet storage space above the cooktop.
- The range should not be placed on a base.
For your safety
WARNING
- If the information in this manual is not followed exactly, a fire or electrical shock may result causing property damage, personal injury, or death.
- Before beginning the installation, switch the power off at the service panel and lock the service disconnecting switch to prevent power from being switched on accidentally. When the service disconnecting switch cannot be locked, securely fasten a prominent warning device, such as a tag, to the service panel.
- This appliance must be properly grounded.

Preparing to install the range
Prepare tools & Parts
The tools you will need
What’s included with your range
Additional materials you may need
Checking the installation site
Clearances and dimensions
To install the range, refer to the following figure.
CAUTION
This range has been designed to comply with the maximum allowable wood cabinet temperatures of 194 °F. Make sure the wall covering, countertops, and cabinets around the range can withstand the heat (up to 194 °F) generated by the range. If not, discoloration, delamination, or melting may occur.
- A. Cabinet opening min 30″ (76.2 cm)
- B. Acceptable electrical outlet area
IMPORTANT: If your cabinets are over 363⁄4″ high, you must install this range on a hard, heat resistant support that raises the surface of the range so that it is about even with the countertop.
CAUTION
You must use the rear filler kit to install the range in a freestanding cutout cabinet. For more information, see “Optional rear filler kit” as shown below.
NOTE
If you install the product in a kitchen island, you must maintain minimum 21/2″ from cutout to back edge of the countertop and minimum 3″ from cutout to side edges of the countertop.
Optional rear filler kit
Used to fill gap between the range back and wall. Adds a filler strip to the rear of the range. This kit can only be used when the opening in the countertop is 25″ deep.
- Unscrew the screws affixing the vent cover.

- Assemble the filler strip to the back of the range using the removed screws.
NOTE
If the countertop depth is greater than 25″, there will be a gap between the filler kit and the back wall.
Minimum dimensions

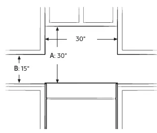
IMPORTANT: To eliminate the risk of burns or fire caused by reaching over heated surface units, avoid having cabinet storage space located above the surface units. If you have cabinet storage space over the heating elements, you can reduce the risk by installing a range hood that projects horizontally a minimum of 5 inches beyond the bottom of the cabinets.
- A. A minimum of 30″ is required between the top of the cooking surface and the bottom of an unprotected wood or metal cabinet; a minimum of 24″ is required if the bottom of the wood or metal cabinet is protected by not less than 1⁄4″ of flame retardant millboard covered with not less than no.28 MSG of sheet steel, 0.015″ of stainless steel, 0.024″ of aluminum, or 0.020″ of copper.
- B. A minimum of 15″ is required between the countertop and the adjacent cabinet bottom.
To avoid breakage
CAUTION
Do NOT lift or handle the unit by the cooktop glass or door handle.
- The counter top around the cut-out should be flat and leveled.
- Before installing the unit, measure the heights of the two cabinet sides (C1-C4), front and back (See Fig. 1) from the floor to the top of the counter.

- Level the range using the four leveling legs so that the height from the floor to the underside of the cooktop glass frame is greater than the tallest cabinet measurement by at least 1⁄16″.
- Slide the unit into the cabinet (DO NOT PUSH THE UNIT HARD). Make sure the center of the unit aligns with the center of the cabinet cut-out.
Connecting the power
Step 1. Meeting electrical connection requirements
CAUTION
For personal safety, do not use an extension cord with this appliance. Remove the house fuse or open the circuit breaker before beginning installation.
This appliance must be supplied with the proper voltage and frequency, and be connected to an individual, properly grounded branch circuit, protected by a circuit breaker or fuse having amperage as specified on the rating plate. The rating plate is located on the bottom side of the control panel.
We recommend you have the electrical wiring and hookup of your range connected by a qualified electrician. After installation, have the electrician show you where your main range disconnect is located.
Check with your local utilities for electrical codes which apply in your area. Failure to wire your oven according to governing codes could result in a hazardous condition. If there are no local codes, your range must be wired and fused to meet the requirements of the National Electrical Code, ANSI/NFPA No. 70–Latest Edition. You can get a copy by writing:
National Fire Protection Association
Batterymarch Park
Quincy, MA 02269
Effective January 1, 1996, the National Electrical Code requires that new construction (not existing) utilize a 4-conductor connection to an electric range.
When installing an electric range in new construction, follow Steps 2 and 3 for a 4-wire connection.
You must use a 3-wire or 4-wire, single-phase A.C. 208Y/120 Volt or 240/120 Volt, 60 hertz electrical system.
If the electrical service provided does not meet the above specifications, have a licensed electrician install an approved outlet.
Use only a 3-conductor or a 4-conductor UL-listed range cord. These cords may be provided with ring terminals on the wire and a strain relief device.
A range cord rated at 40 amps with 125/250 minimum volt range is required. A 50 amp range cord is not recommended but if used, it should be marked for use with nominal 13⁄8″ diameter connection openings. Care should be taken to center the cable and strain relief within the knockout hole to keep the edge from damaging the cable.
- Because range terminals are not accessible after the range is in position, a flexible service conduit or cord must be used.
NOTE
If the power connection is plugged in improperly, the following message appears on the display. - LCD, PMOLED: Wire installation fail
- LED: bAd LinE
Reconnect the power connection properly, and the message disappears.
ALL NEW BRANCH-CIRCUIT CONSTRUCTIONS, MOBILE HOMES, RECREATIONAL VEHICLES, AND INSTALLATIONS WHERE LOCAL CODES DO NOT ALLOW GROUNDING THROUGH NEUTRAL, REQUIRE A 4-CONDUCTOR UL-LISTED RANGE CORD.
Step 2. Accessing the power cord connection
Loosen and then remove the rear access cover screw with a screwdriver. Remove the rear access cover by pull right and then out. The terminal block will then be accessible.
Specified rating of power-supply-cord kit and circuit protection
| Range rating, watts | Specified rating of power- supply-cord kit and circuit protection, Amps | Diameter (inches) of range connection opening | ||
| 120/240 volts 3-wire | 120/208 volts 3-wire | Power cord | Conduit | |
| 8750-16500 | 7801-12500 | 40 or 50 A | 13⁄8″ | 11⁄8″ |
This appliance must be supplied with the proper voltage at the proper frequency and must be connected to a dedicated, properly grounded branch circuit protected by a 40 amp or larger circuit breaker.
NOTE
- For power cord installations, go to Step 3 on page 4.
- For conduit installations, go to Step 4 on page 5.
Step 3. Installing the power cord

For power cord installations, hook the strain relief over the power cord hole (13⁄8″) located below the rear of the drawer body. Insert the power cord through the strain relief and tighten the device.
- You must install the power cord with a strain relief.
- Attach the strain relief to the 13⁄8″ opening in the conduit connection plate.
CAUTION
You must check voltage after connecting power cord.
| Live 1 – Neutral | 120 V |
| Live 2 – Neutral | 120 V |
| Live 1 – Live 2 | 208 V / 240 V |
Installing a 3-wire power cord
WARNING
The neutral or ground wire of the power cord must be connected to the neutral terminal located in the center of the terminal block. The power leads must be connected to the lower left and the lower right terminals of the terminal block.
- Remove the 3 lower terminal screws from the terminal block.
- Insert the 3 terminal screws through each power cord terminal ring and into the lower terminals of the terminal block. Be certain that the center wire (white/neutral) is connected to the center lower position of the terminal block.
- Tighten screws securely to the terminal block. DO NOT remove the ground strap connection.
- Go to Step 5 on page 6 to continue with the installation.
Installing a 4-wire power cord
WARNING
The neutral wire of the supply circuit must be connected to the neutral terminal located in the lower center of the terminal block. The power leads must be connected to the lower left and the lower right terminals of
the terminal block. The 4th grounding lead must be connected to the frame of the range with the ground plate and the ground screw.
- Remove the 3 lower terminal screws from the terminal block. Remove the ground screw and ground plate and retain them.
- Cut and discard the ground strap. Do not discard any screws.
- Insert the ground screw into the power cord ground wire terminal ring, through the ground plate, and into the frame of the range.
- Insert the 3 terminal screws (removed earlier) through each power cord terminal ring and into the lower terminals of the terminal block. Be certain that the center wire (white/neutral) is connected to the center lower position of the terminal block. Tighten screws securely to the terminal black.
- Go to Step 5 on page 6 to continue with the installation.
Step 4. Installing the conduit
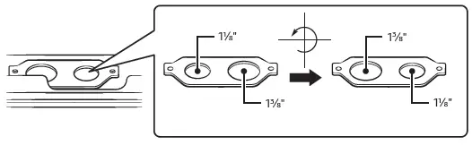
Remove the conduit connection plate and rotate it as shown below.
The conduit hole (11⁄8″) must be used.
- Prepare the conduit cord as shown in Figure 1. Install the conduit cord as shown in Figure 2.
- For conduit installations, insert the strain relief (not included) into the conduit hole (11⁄8″). Then thread the conduit cord through the body of the strain relief and fasten the ring. Reinstall the bracket.

CAUTION
You must check voltage after connecting power cord.
| Live 1 – Neutral | 120 V |
| Live 2 – Neutral | 120 V |
| Live 1 – Live 2 | 208 V / 240 V |
Installing a 3-wire conduit
- Aluminum building wire may be used but it must be rated for the correct amperage and voltage. Connect the wires as described below.
- The wire you use, the location and enclosure of splices, etc., must conform to good wiring practices and local codes.
- Loosen the 3 lower terminal screws from the terminal block.
- Insert the center bare wire (white/neutral) tip through the bottom center terminal block opening. On certain models, the wire will need to be inserted through the ground strap opening and then into the bottom center block opening.
- Insert the two side bare wire tips into the lower left and the lower right terminal block openings.
- Tighten the screws until the wire is firmly secured (35 to 50 inch-lbs.). Do not over-tighten the screws since it could damage the wires.
- Go to Step 5 on page 6 to continue with the installation.
Installing a 4-wire conduit

- Aluminum building wire may be used but it must be rated for the correct amperage and voltage to make the connection. Connect the wires as described below.
- The wire you use, the location and enclosure of splices, etc., must conform to good wiring practices and local codes.
- Loosen the 3 lower terminal screws from the terminal block. Remove the ground screw and ground plate and retain them.
- Cut and discard the ground strap. Do not discard any screws.
- Insert the ground bare wire tip between the range frame and the ground plate (removed earlier) and secure it in place with the ground screw (removed earlier).
- Insert the bare wire (white/neutral) tip through the bottom center of the terminal block opening.
- Insert the two side bare wire tips into the lower left and the lower right terminal block openings.
- Tighten the screws until the wire is firmly secured (35 to 50 inch-lbs.). Do not over-tighten the screws since it could damage the wires.
- Go to Step 5 on page 6 to continue with the installation.
Step 5. Replacing the access cover
To replace the rear access cover on the range back. Insert the double projections on the bottom of the cover into the pockets located below the opening, and then insert and tighten the rear access cover screw.
Installing the range
Installing the anti-tip device
WARNING
To reduce the risk of tipping, you must secure the appliance by properly installing the Anti-Tip device packed with the appliance.
- Refer to the installation instructions supplied with the bracket.
- If the anti-tip device is not installed properly, an adult or child stepping on or sitting on the range door could tip the range and suffer serious injuries caused by spilled hot liquids or by the range itself.
NOTE
To install the Anti-Tip bracket, release the leveling leg. A minimum clearance of 21⁄32″ (16.5 mm) is required between the range bottom and the kitchen floor.
- Install the bracket using the template
The Anti-Tip bracket is packaged with a template. The instructions include information necessary to complete the installation. Read and follow the instructions on the sheet (template) for range installation. - Level the range
Level the range by adjusting the leveling legs with a wrench.
- Check your adjustments
Use a spirit level to check your adjustments. Place the level diagonally on the oven rack or surface cooktop, and confirm the range is level in the two directions shown below.
A. Check direction A.
B. Check direction B.
If the spirit level indicates that the range is not level, adjust the leveling legs with a wrench.
CAUTION
For your safety, do not attempt to modify or straighten front legs. Front leveling legs on the range are designed to be slanted to prevent accidental tipping.
Finalizing the installation

- Move range close enough to the opening to plug into the receptacle.
- Slide the range into position ensuring that the rear left (or rear right) leg slides under the Anti-Tip bracket.
- Carefully tip the range forward to insure that the Anti-Tip bracket engages the back brace and prevents tip-over.
- Turn on the electrical power. Check the range for proper operation as described in the user manual.


CAUTION
NOTE


A. Check direction A.

![Samsung Front Control Slide-in Electric Range With Air Fry [ne63t8511ss] User Manual Samsung Front Control Slide-in Electric Range With Air Fry [ne63t8511ss] User Manual](https://static-data1.manualsee.com/1/img/335/18027/2020/12/00-96.jpg)








![Samsung Front Control Slide-in Electric Range With Smart Dial & Air Fry [ne63t8711ss] User Manual Samsung Front Control Slide-in Electric Range With Smart Dial & Air Fry [ne63t8711ss] User Manual](https://static-data1.manualsee.com/1/img/343/18039/2020/12/00-98.jpg)

![Samsung Front Control Slide-in Electric Range With Convectio [ne63t8311ss] User Manual Samsung Front Control Slide-in Electric Range With Convectio [ne63t8311ss] User Manual](https://static-data1.manualsee.com/1/img/338/18032/2020/12/Samsung-Front-Control-Slide-in-Electric-Range-with-Convectio-NE63T8311SS-featured.png)




