SILVERCREST SHF 1400 A1 Digital Air Fryer User Guide
DANGER may result from ignoring the user instructions and safety information!
- This quick reference guide is not a substitute for the online user instructions.
- Before you begin, read the safety information chapter in this quick reference guide or in the online user instructions.
Online user instructions
Scanning this QR code takes you directly to the Lidl Service website (www.lidl-service.com), where you can enter the article number (IAN) 352840_2010 to open the online user instructions.
Symbols on your device
This symbol warns you against touching the hot surface.
The food-safe material of devices with this symbol will not change the taste or smell of food.
Items supplied
- 1 hot air fryer
- 1 pan 10
- 1 frying basket 5 with screen assembly 6
- 1 quick reference guide
Technical specifications
| Model: | SHF 1400 A1 |
| Mains voltage: | 220 – 240 V ~ 50 Hz |
| Protection class: | I |
| Power rating: | 1,400 W |
Overview


- Housing
- Heating element (at the top of the interior)
- Touch display with indications and sensor buttons
- MAX Marking for the maximum filling level of the frying basket (maximum filling level is 2.3 litres)
- Frying basket
- Screen assembly
- Safety catch
- Button for unlocking the frying basket
- Handle of the frying basket
- Pan; the liquid from cooking collects here
- Power cable with mains plug
- Spacer with cable spool
- Air outlet
Intended purpose
The hot air fryer is intended for the cooking of food in hot air at a temperature of up to max.
200 °C. The hot air fryer is designed for private, domestic use. The hot air fryer must only be used indoors. This device must not be used for commercial purposes.
Foreseeable misuse
The hot air fryer is not suitable for heating liquids.
Safety information
- This device can be used by children from the age of 8 and people with restricted physical, sensory or intellectual abilities or people without adequate experience and/or understanding, if they are supervised or instructed on how to use this device safely and if they are aware of the resulting dangers. Children must not play with the device. Cleaning and user maintenance must not be performed by children unless they are older than 8 years and supervised.
- Children under the age of 8 must be kept away from the device and the power cable.
Do not touch any hot parts of the device such as the air outlet on the back. The frying basket should only be touched at the handle.- During frying, hot steam escapes from the air outlet. Be careful not to put your hands into the steam.
- If the mains power cable of this device should become damaged, it must be replaced by the manufacturer, the manufacturer’s customer service department or a similarly qualified specialist, in order to avoid any hazards.
- This device is not intended to be operated using an external timer or a separate remote control system.
- Please take note of the chapter on cleaning.
- Please make sure that the hot air fryer can never be pulled down (e.g. with the power cable) by children. In cases of scalding there is danger to life!
- The device, the power cable and the mains plug must not be immersed in water or any other liquids.
- Never touch the device with wet hands.
- Do not use the device if the device or the power cable has any visible damage, or if the device has previously been dropped.
- Never leave the device unattended while it is plugged in.
- Never cover the device or place it on soft objects (e.g. towels).
- Make sure that there is free space on all sides and above the device.
- Do not use the hot air fryer directly under wall units or wall sockets and not near to any curtains, paper or any similar flammable objects.
- Do not touch the hot surfaces of the device or the interior. Use oven gloves or potholders.
- Allow the device to cool down completely before you clean it or put it away.
How to use
- Remove all packing material. The interior in particular must be completely free of packaging remains such as polystyrene particles.
DANGER – fire hazard!
On the back of the device you will find the air outlet 13. Hot air escapes from the air outlet during operation.
- Never cover the air outlet 13.
- Do not use the hot air fryer directly under wall units or wall sockets and not near to any curtains, paper or any similar flammable objects.
- Make sure that there is free space on all sides and above the device.
- Remove the cardboard between frying basket 5 and pan 10.
- Remove the sticker from the screen assembly 6.
NOTE: when in operation for the first time, some smoke and odour may be generated by the device. This is due to the assembly materials used for the heating element and is not a fault in the product. Ensure adequate ventilation.
- Remove protective films and adhesive strips from the device, but do not remove the rating plate on the underside of the device.
- Check that all accessories are present and undamaged.
- Clean the device and all accessories before using for the first time.
- Place the device on a dry, level, nonslip, heat-resistant surface.
- Insert the mains plug 11 into a wall socket corresponding to the specifications of the rating plate. The wall socket must also be easy to reach after switching on the device.
Cleaning
DANGER of burns!
- Let the device cool down before moving or cleaning it.
DANGER! Risk of electric shock!
- Pull out the mains plug 11 from the wall socket before cleaning the hot air fryer.
- The hot air fryer must not be immersed in water.
WARNING! Risk of material damage!
- Do not clean using sharp objects or abrasive cleaning agents.
NOTE: please note that water drops may still be present in cavities after drying. Allow all parts to air dry completely.
After every use
- Clean the device and all accessories used after each use and remove all food residues.
For additional information on cleaning and looking after the device and accessories, please see the online user instructions.
The touch display at a glance

- 14 Program symbols
- 15 °C Temperature unit
- 16 Numbers display (e.g. temperature, cooking time)
- 17 min Cooking time unit
- 18
Button: display cooking temperature - 19
Button: increase temperature / extend cooking time - 20
Button: switching on/off / program Start/Stop - 21
Button: reduce temperature / shorten cooking time - 22
Button: display cooking time - 23
Button: press repeatedly to select a program - 24
Heating symbol: is lit when the device is heating - 25
Fan symbol: flashes when the fan is in operation
Operation
DANGER of burns!
- During operation, the surfaces of the device may become hot. Do not touch any hot parts of the device such as the air outlet 13 on the back.
- Use oven gloves or potholders to touch the pan 10 and frying basket 5.
- During frying, hot steam escapes from the air outlet 13. Be careful not to put your hands into the steam.
- Do not move or transport the hot air fryer while it is switched on.
WARNING! Risk of material damage!
- The device must not be operated under any circumstances without the frying basket 5!
Power connection
- When the device is set up, plug the mains plug 11 into an earthed wall socket that corresponds to the specifications on the rating plate. The wall socket must also be easy to reach after switching on the device.
The touch display
On the touch display 3 there are symbols that only display functions, e.g. the heating symbol
24.
Other symbols (also) represent a button, e.g. the Start/Stop button
20. The term ‘buttons’ is used in this instructions for buttons and keys to make the text easier to read.
Switching on/off
- Press the Start/Stop button
20 to switch on the device from standby mode.- The display 3 shows the program symbols 14 and the lower bar with the buttons
18 – 23. - The preset temperature 180 °C and the preset cooking time 15 min are displayed flashing alternately.
- The display 3 shows the program symbols 14 and the lower bar with the buttons
- Press the Menu button
23 repeatedly to select the desired program. - Press the Start/Stop button
20 again in order to start the device. - While the device is running, press and hold the Start/Stop button
20 to switch the device to standby mode. - To completely switch off the device and disconnect it from the mains, pull out the mains plug 11.
Manual settings
- Use the temperature button
18 and the setting buttons
19/
21 to set the temperature between 80 °C and 200 °C:- Press the temperature button
18. - Quickly press the setting buttons
19/
21 for 5 °C steps. Keep pressed for fast forward/reverse.
- Press the temperature button
- Use the cooking time button
22 and the setting buttons
19/
21 to set the cooking time between 1 and 60 minutes: - Press the cooking time button
22. - Quickly press the setting buttons
19/
21 for 1-minute steps.
Keep pressed for fast forward/reverse.
- Press the cooking time button
Using Programs
NOTES:
- Make sure that the food will not touch the hot heating element 2 at the top of the interior and become stuck there.
- QUICK START FUNCTION
Switch the device on from standby mode with the Start/Stop button
20. Press the Start/Stop button
again to start cooking at the preset temperature 180 °C for the preset cooking time 15 min.
- Prepare the foods and place them in the frying basket 5.
- Place the frying basket 5 in the pan 10.
- Slide the pan 10 into the housing 1.
- Switch on the device with the Start/Stop button
20. - Press the Menu button
23 repeatedly to select the desired program. The corresponding symbol flashes. - Start the cooking process with the Start/ Stop button
20.
Interrupting the cooking process
You can interrupt the cooking process at any time, e.g. to check the degree of browning.
- Take the pan 10 by the handle 9 and remove it from the housing 1. When the pan is taken out, the device automatically switches itself off.
- Reinsert the pan 10 into the device. The device switches on again automatically until the cooking time has expired.
End of the cooking process
- An audio signal sounds when the program has finished. The fan continues to run for approx. 1 minute.
- You need a heat-resistant surface for the pan 10 and the frying basket 5 and a plate or bowl (pre-heated if necessary).
- To disconnect the device from the mains pull the mains plug 11 after use.
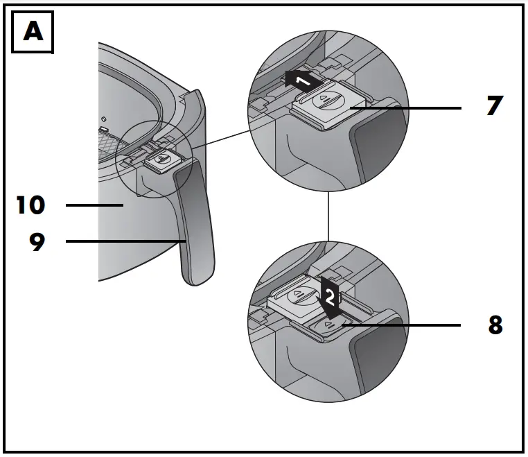
- Use the handle 9 to pull the pan 10 out of the housing 1. Place the pan 10 on the heat-resistant surface.
- Figure A: slide the safety catch 7 in the direction of the arrow.
- Press the button for unlocking the frying basket 8 and lift the frying basket 5 upwards out of the pan 10.
- Place the frying basket 5 on the heat-resistant surface. Place the food on the prepared plate / in the prepared bowl.
- Allow the device and accessories to cool down before cleaning them.
The programs at a glance / cooking table
- The following table provides basic settings advice for the specified foods.
- The temperatures and cooking times specified in the cooking table are reference values. Depending on the quality, size and quantity of the food, and on your taste, you can vary the temperature and time.
| Symbol in the touch display | Program/use | preset temperature (adjustable range) | preset time (adjustable range) |
![]() | Frozen French fries 1 (optimal quantity approx. 400 g, maximum quantity approx. 640 g) | 180 °C (80 – 200 °C) | 20 min. (1 – 60 min.) |
![]() | Bacon | 180 °C (80 – 200 °C) | 10 min. (1 – 60 min.) |
| Poultry in pieces, e.g. legs 2 (optional quantity 4 pieces) | 180 °C (80 – 200 °C) | 22 min. (1 – 60 min.) | |
![]() | Shrimps | 180 °C (80 – 200 °C) | 12 min. (1 – 60 min.) |
![]() | Steaks, chops | 200 °C (80 – 200 °C) | 15 min. (1 – 60 min.) |
![]() | Muffins, cakes and baked goods | 160 °C (80 – 200 °C) | 15 min. (1 – 60 min.) |
![]() | Vegetables 2 (optional quantity approx. 750 g) | 180 °C (80 – 200 °C) | 22 min. (1 – 60 min.) |
| Fish | 180 °C (80 – 200 °C) | 14 min. (1 – 60 min.) |
The superscript numbers 1,2 have the following meaning:
- Shake or turn after one third and two thirds of the cooking time.
- Shake or turn halfway through the cooking time.
NOTE: the temperature can be increased or reduced in 5 °C increments within the adjustable range.
For additional information on operating the device and for recipes, please consult the online user instructions.
Symbols used
![]() | Geprüfte Sicherheit (certified safety). Devices must comply with the generally acknowledged rules of technology and the Ger- man Product Safety Act (Produkt- sicherheitsgesetz – ProdSG). |
![]() | With the CE marking, HOYER Handel GmbH declares the conformity with EU guide- lines. |
![]() | Devices with this symbol may only be operated indoors (dry en- vironment). |
![]() | This symbol reminds you to dis- pose of the packaging in an envi- ronmentally friendly manner. |
![]() | Recyclable materials: cardboard (except corrugated cardboard) |
| Direct current | |
| AC voltage | |
![]() | It is a recyclable product which is subject to an extended producer responsibility and for which the rules of waste separation apply. |
Service Centre
If you require service, please contact our Service Centre:
Service Great Britain
Tel.: 0800 404 7657
E-Mail: [email protected]
Service Ireland
Tel.: 1890 930 034
(0,08 EUR/Min., (peak))
(0,06 EUR/Min., (off peak))
E-Mail: [email protected]
Service Cyprus
Tel.: 8009 4409
E-Mail: [email protected]
Service Malta
Tel.: 80062230
E-Mail: [email protected]
IAN: 352840_2010
![]()































