VON DUPRIN 6400 Electric Strikes

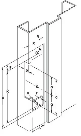
Frame Prep Dimensions
| MEASUREMENT | FRACTIONAL INCHES | DECIMAL INCHES | METRIC mm |
| A | 1-1/4” | 1.250 | 31.75 |
| B | 4-7/8” | 4.875 | 123.83 |
| C | 3-3/8” | 3.375 | 85.73 |
| D D2 | 1-19/32” 1-21/32” | 1.590 1.650 | 40.40 42.00 |
| E | 3/8” | 0.375 | 9.53 |
| F F2 | 1/8”* 3/16”* | 0.125* 0.188* | 3.18* 4.78* |
| G | 1-11/16” | 1.688 | 42.86 |
| X | Vertical Centre Line of Door Lock and Mounting Face Plate** | ||
| K | 4-1/8” | 4.125 | 104.78 |
| M | 12-24 | N/A | N/A |
NOTE
Use D2 & F2 for new door prep.

Note: Specifications are subject to change without notice.
- Dimension F is measured from the face of the mounting tab to the face of the frame.
- Dimension X on the drawing is determined by the vertical centerline of the door. If the latch incorporates a deadlocking pin, additional steps will be necessary to ensure proper operation of the deadlocking pin. Measure the thickness of the deadlocking pin and add this thickness to dimension X to relocate the vertical centerline at an appropriate distance on the frame.
Cutting ANSI Prep Frames
- Place the folded template square on the frame. Align horizontal holes marked on the template with the mounting holes in the frame.

- Peel the adhesive backing and paste the folded template square to the frame.

- Cut the frame inside the unshaded area marked on the template. Install strike per installation instructions 24201428.

Cutting frames WITHOUT ANSI Prep
- Mark the horizontal lock body centerline on the door.
- Close the door and transfer the lock body centerline to the frame
- If the door isn’t flush to the frame in the closed position, mark the depth of the closed door on the frame. Measure half of the door thickness back toward the door stop and mark the vertical door centerline on the frame.

- Align the proper template lock centerline horizontally with the lock body centerline marked on the frame. Peel the adhesive backing and paste the folded template square to the frame.
- If the door isn’t flush to the frame when closed, tear the template at the fold line. Align the faceplate portion vertically with the door centerline and match the template lock centerline with the lock body centerline marked on the frame.
- Paste the front portion of the template on the face of the frame to align with the faceplate portion.

- Cut the frame inside the unshaded area marked on the template. Follow the mounting tab installation instructions. Install strike per installation instructions 24201428.

If mounting tabs are required
- Fasten the mounting tab to the faceplate of the strike and select the appropriate shims for the installation
- Using the assembled strike and tabs as a template, place them against the frame and mark the mounting hole locations
- Remove and drill a C\zn” hole in the frame for each mounting tab and countersink the frame
- Remove the tabs from the faceplate and install them in the frame using the 12-24 x C\,” machine screws supplied
- Tabs are plated and drilled and tapped for this purpose

Customer Service
1-877-671-7011: www.allegion.com/us. © Allegion 2014 24236283 Rev. 12/14-c.




















