MultiFlow
UNVENTED INSTANTANEOUS WATER HEATER
Installation and User Guide
HSMF9500N 9.5kW Multiflow Instant Water Heater
IMPORTANT:
This booklet should be left with the user after installation and demonstration.
It should be kept in a safe place, as you may need to refer to it for general instructions or future maintenance.
INTRODUCTION
Thank you for purchasing a quality Heatstore MultiFlow unvented instantaneous water heater.
To enjoy your new unit at its best, please read this manual thoroughly to familiarise yourself with all instructions BEFORE beginning installation or using the appliance.
If you experience any difficulty with the installat ion or operation of your new water heater, then please refer to the “What to do if things go wrong” section in this manual before contacting us.
IMPORTANT SAFETY INFORMATION
THERE IS A RISK OF PERSONAL INJURY.
THERE IS A RISK OF DAMAGING TO APPLIANCE.
| THIS APPLIANCE MUST BE INSTALLED, COMMISSIONED AND SERVICED BY A QUALIFIED PERSON IN ACCORDANCE WITH THE NATIONAL AND LOCAL REGULATIONS IN FORCE IN THE COUNTRY OF INSTALLATION. ALSO TAKE INTO CONSIDERATION. • HEALTH AND SAFETY AT WORKS ACT • IEE REGULATIONS • BS CODES OF PRACTICE • LOCAL AND NATIONAL BUILDING REGULATIONS • LOCAL AND NATIONAL WATER REGULATIONS | |
| THIS APPLIANCE MUST BE INSTALLED FOR HAND WASHING ONLY. NOT INTENDED FOR CONSUMPTION, WASHING DISHES OR USE IN A COMMERCIAL KITCHEN. | |
| THIS APPLIANCE CAN BE USED BY CHILDREN AGED FROM 8 YEARS AND ABOVE AND PERSONS WITH REDUCED PHYSICAL SENSORY OR MENTAL CAPABILITIES OR LACK OF EXPERIENCE AND KNOWLEDGE IF THEY HAVE BEEN GIVEN SUPERVISION OR INSTRUCTION CONCERNING USE OF THE APPLIANCE IN A SAFE WAY AND UNDERSTANDING THE HAZARDS INVOLVED. CHILDREN SHALL NOT PLAY WITH THE APPLIANCE. CLEANING AND USER MAINTENANCE SHALL NOT BE MADE BY CHILDREN WITHOUT SUPERVISION. | |
| THIS APPLIANCE IS INTENDED TO BE PERMANENTLY CONNECTED TO THE FIXED ELECTRICAL WIRING OF THE MAINS SUPPLY WITH ITS OWN DEDICATED SUPPLY. | |
| ENSURE THAT THE MAINS WATER SUPPLY MEETS THE REQUIREMENTS FOR YOUR SPECIFIC MODEL MULTIFLOW LISTED ON PAGE 3 OF THIS INSTRUCTION BOOKLET. | |
| THIS APPLIANCE MUST NOT BE FITTED IF DAMAGED IN ANYWAY OR WHERE IT MAY BE SUBJECTEDTO FREEZING CONDITIONS. DO NOT SWITCH THE APPLIANCE ON IF YOU SUSPECT IT OF BEING FROZEN. WAIT UNTIL YOU ARE SURE IT HAS THAWED OUT. | |
| THE UNIT MUST NOT BE FITTED TO ANY TYPE OF THERMOSTATIC MIXER VALVE/ TAP OR PERCUSSION STYLE TAPS. | |
| THIS APPLIANCE MUST ONLY BE USED FOR HEATING WATER PROVIDED TO A HAND WASHING SINK. THIS PRODUCT IS NOT SUITABLE FOR KITCHEN SINKS OR BATH TUBS. | |
| IF A NON-RETURN VALVE IS FITTED IN THE INLET FEED TO THE UNIT, THEN THE INSTALLATION MUST ALSO INCLUDE A 3.5 BAR PRESSURE REDUCING VALVE AND A 6 BAR PRESSURE RELIEF (EXPANSION) VALVE. | |
| ISOLATE THE MAINS ELECTRICAL & THE WATER SUPPLY APPLIANCE BEFORE SERVICING, MAINTENANCE OR CLEANING. | |
| ONLY CLEAN THIS PRODUCT WITH A DAMP MICROFIBER CLOTH – DO NOT USE HARSH CHEMICALS THAT MAY TARNISH THE APPLIANCE. | |
| DO NOT COVER APPLIANCE. | |
| DURING OPERATION PARTS & SURFACES MAY BECOME HOT – AVOID ACCIDENTAL CONTACT. | |
| THIS APPLIANCE IS NOT SUITABLE FOR OUTDOOR USE OR AN AREA WHERE WATER JET COULD BE USED. |
HOW YOUR POWERSTREAM WORKS
The MultiFlow instantaneous water heater is designed to provide instant hot water at a fixed heating capacity. By opening the water outlet, the appliance flow switch activates and in turn energizes the heating element. The neon light on the front of the appliance is luminated whenever heating is on.
As the water is instantly heated with a fixed power capacity, the appliance output temperature varies depending on:
- The temperature of the mains water supply.
- The water flow rate, i.e. volume of water through the unit.
- The power consumption of the unit.
The temperature of the main water supply can vary from 5°C in winter up to about 20°C in summer, with an average of about 12°C. The charts below show the water temperature (°C) you can expect from the unit, operating at 9.5/10.8/12.0kW for the different flow rates (in litres/minute).
| Model | Expected Temperature | Water Flow Rate (I/min) | ||||
| 3.0 | 4.0 | 5.0 | 6.0 | 7.0 | ||
| 9.5kW | Summer (°C) | 70 | 54 | 48 | 43 | 40 |
| Winter (°C) | 55 | 40 | 33 | 28 | 25 | |
| 10.8kW | Summer (°C) | – | 59 | 51 | 46 | 41 |
| Winter (°C) | – | 44 | 36 | 31 | 26 | |
| 12kW | Summer (°C) | – | 62 | 54 | 49 | 44 |
| Winter (°C) | – | 48 | 39 | 34 | 30 | |
Recommended Temperature °C | |||
min | max | ||
32 | 40 | ||
Recommended Flow Rate (I/min) | |||
| min | max | ||
3.0 | 7.0 | ||
The MultiFlow appliance is intended to supply up to two wash hand basins. It cannot deliver the temperature and flowrate combination required to fill a bath tub.
This appliance must NOT be used for commercial applications or applications where high temperatures at high flow rates are required, i.e. dishwashing or for filling baths.
The unit includes a dual thermal cut-out (diagram 1) which is attached to the heat exchanger tube.
It will switch off the heater elements if the water flow is reduced too much and the temperature goes above a set limit.

The first stage cut-out is cyclic and will automatically reset as the water temperature falls. The unit will then function normally again.
The second stage cut-out when triggered needs to be reset manually inside the unit.
This cut-out will only operate in exceptional circumstances or if the product is being used outside of its scope of suitable uses. (diagram 1)
The unit can supply up to two basins – water from the unit will be shared between the outlets.
The unit is NOT to be fitted to a bath or kitchen sink other than for hand-washing purposes.
HOW TO INSTALL YOUR MULTIFLOW
THIS APPLIANCE MUST BE INSTALLED, INNITIALLY COMMISSIONED AND SERVICED BY A QUALIFIED PERSON IN ACCORDANCE WITH THE NATIONAL AND LOCAL REGULATIONS IN FORCE IN THE COUNTRY OF INSTALLATION.
DO NOT INSTALL WHERE IT MAY BE SUBJECTED TO FREEZING CONDITIONS.

The MultiFlow is recommended to supply a MAXIMUM of two washbasins (see diagram 2a)
If the MultiFlow is connected to a mixer tap, then only NON-Thermostatic types should be used (water mixes at the outlet pipe only).
The MultiFlow is NOT to be fitted to a bath or kitchen sink other than for hand-washing purposes.
(See Guarantee exclusions on page 12 and product flow rate tables on page 11).
BEFORE YOU START
For mains electrical connection and associated information please refer to page 7 of this booklet.
Check the pressure of the main water supply, 1 bar – 6 bar. The appliance must not be directly connected to a water supply greater than 6bar. If mains pressure is greater than 6 bar please refer to page 5.
To operate correctly, the unit requires the following running pressures, check unit rating plate.
FIXING THE UNIT TO THE WALL
Deciding the position
- If being used in a public place, position the unit out of reach to discourage vandalism.
- Fit the unit onto a flat piece of wall, well away from any potential splashes of water or spray.
- Position the unit either upright or lengthways (diagram 2a/b), whichever is most convenient for plumbing and wiring, keeping the hot water pipe length to a minimum (less than 3m is recommended) and insulate the pipe in order to save energy.
- When supplying a basin, you can fit it either above or below the basin.
Wiring Lug Removal

- Follow steps A-D in Diagram 3 above to remove plastic lug.
- Feed cable through rubber gland in metalwork.
Fixing to the wall
- Undo the retaining nuts and take the front cover off the unit. Hold the backplate in position against the wall whilst you mark the four fixing holes.
- Drill the holes and fix the unit to the wall using the screws supplied.

Hydraulic Connections
IF A NON-RETURN VALVE IS FITTED AND/OR THE INLET FEED TO THE UNIT IS GREATER THAN 6BAR, THEN THE INSTALLATION MUST ALSO INCLUDE A 3.5 BAR PRESSURE REDUCING VALVE AND A 6 BAR PRESSURE RELIEF (EXPANSION) VALVE AS SHOWN IN DIAGRAM 5a.

ENSURE THAT THE MAINS WATER SUPPLY MEETS THE REQUIREMENTS LISTED ON PAGE 3 BEFORE CONTINUING WITH INSTALLATION.
BEFORE CONNECTING THE PIPE WORK TO THE MULTIFLOW, ENSURE THAT THE PIPE WORK IS FULLY FLUSHED OUT.
Fitting the pipes
- The unit should be connected directly to the main cold-water supply. A gauze filter should be incorporated to prevent any debris entering the venturi.
- For the inlet and outlet connections Ø15mm copper or stainless-steel pipe must be used. Plastic pipe of any kind cannot be used.
- Use PTFE tape for making screw joints. Do not use a jointing compound as it can enter the unit and cause damage to the flow switch mechanism.
- Remember to keep the hot water pipe runs as short as possible (Ideally less than 3m) and insulate this piping especially on longer runs.
- If the unit is to supply more than one basin outlet, the height should be the same at each outlet if they are to be used at the same time. If not, one outlet will take all the water. In some cases, it may be worth fitting a second unit.
- When the pipework has been plumbed in, flush it through with water before you connect the unit, to remove any swarf or loose particles.
Connecting the unit to the pipes
- The inlet and outlet are clearly marked on the unit. All models have Ø15mm straight shank connections.
- The unit comes with a service valve (diagram 6) which must be fitted on the inlet of the unit.
The valve can be used to turn off the water supply to the unit if it needs servicing, or to reduce the main supply flow if it is too high (see “commissioning” section on page 8).
Fitting the attachments
- If the unit is to supply a basin or two basins, we recommend that you use “¼ turn lever control spray taps”.

| This information shows how our products pass relevant European Union Energy Directives (ErP). | |||
| Manufacturer | Heatstore | ||
| Product | HSMF9SOON | HSMF10800N | HSMF12000N |
| Load Profile | XS | XS | XS |
| Efficiency | A | A | A |
| Efficiency % | 39 | 39 | 39 |
| Consumption (kWh / annum) | 473 | 468 | 469 |
| Sound (dB) | 15 | 15 | 15 |
| Precautions | Ensure all product installation, maintenance and care instructions are followed as listed here. | ||
MAKING THE ELECTRICAL CONNECTIONS
THIS WATER HEATER MUST BE EARTHED.
The electrical installation must be in accordance with the current BS.7671 (IEE Wiring Regulations) and “Part P” of the Building Regulations and/or local regulations.
Wiring to the mains (Check the unit rating to see which applies).
| Rating | Fuse/MCB | Isolating Switch | Cable Size |
| 9.5 kW | 40 amps | 40 amps | 6 mm² / 10 mm² * |
| 10.8 kW | 45 amps | 45 amps | 10 mm² |
| 12.0 kW | 50 amps | 50 amps | 10 mm² /16mm² * |
* For cable runs over 10 meters or where cable is not flat clipped and surface mounted, the larger size is the minimum required.
A means for disconnection in all poles must be incorporated in the fixed wiring in accordance with the wiring rules.
If the unit is fitted in a Bathroom:
9.5 kW and 10.8 kW MultiFlow: A standard 45 Amp cord operated isolator switch is recommended.
12.0 kW MultiFlow: A double pole 50 Amp isolator switch is required.
This must be mounted out of reach of the shower cubicle or bath.
Wiring the MultiFlow
- The unit has been designed to accept up to 16mm² supply cable. 6mm² & 10mm² cable can be used as required. In all cases the outer sheath of the cable MUST project through the grommet (diagram 7). This will prevent water getting into the unit.
- Strip back the insulation on the LIVE (brown or red), NEUTRAL (blue or black) & EARTH (green/yellow or green) mains wires about 8mm.
- Feed the cable through the entry grommet.
- Connect the cables to the terminal block (diagram 7).
- Make sure that the live, neutral & earth terminal block screws are tightened securely (1Nm minimum).
FAILURE TO COMPLY WITH THESE INSTRUCTIONS COULD RESULT IN FAILURE OF THE TERMINAL BLOCK. - Fit the front cover and tighten the retaining nuts.
Ensuring the earth continuity
- If the unit is fitted in a bathroom, to conform with the current BS.7671 (formally IEE regulations), the units earth continuity conductor must be effectively connected to ALL exposed metal parts of ALL other appliances in the room.

COMMISSIONING YOUR MULTIFLOW
CHECKING FOR LEAKS
- Let the water run through the unit for a few seconds.
Close the outlet and check that no pipe joints leak.
ADJUSTING THE SERVICE VALVE
- When supplying to a basin,
– turn on the hot water tap fully at the basin.
– turn the service valve on slowly until the neon illuminates on the product (max temperature).
– adjust the service valve until the water comes out of the tap at the required temperature.
allowing for the temperature of the water to settle after each adjustment.
– check that the unit works correctly when the basin tap is closed and then opened again: if not, adjust the service valve slightly.
The hot water tap should be turned fully on, at all times i.e. every use , so that the unit will operate correctly.
The water heater must be mounted on a vertical wall or surface and positioned with water connections as shown in Diagram 2b.
The unit should be connected directly to the main cold water supply and not to pre-heated water. The unit should be installed with service valves on both the inlet and outlet. These valves can be used to turn off the water supply to the unit if it needs servicing, or to reduce the water flow if it is too high.
HOW TO USE YOUR MULTIFLOW
DO NOT USE THE UNIT IF YOU THINK IT MAY BE FROZEN, AS THIS COULD RESULT IN SERIOUS DAMAGE TO THE UNIT. WAIT UNTIL YOU ARE SURE THAT IT HAS COMPLETELY THAWED OUT BEFORE YOU SWITCH ON.
Basin
- Check that the power is switched on at the mains isolator switch.
- Turn on the hot water tap FULLY at all times. If you do not turn the tap on fully, you will find that the temperature of the water will vary. The hot water temperature will have been set using the service valve (diagram 6).
- If the unit has been used recently, run the water through for a few seconds to let the temperature stabilize, we advise you DO NOT touch the water flow during this time.
YOU MAY INITIALLY GET A SHORT BURST OF VERY HOT WATER FROM THE UNIT IMMEDIATELY UPON OPENING THE TAP. - If a second tap connected to the unit is also turned on, the hot water will be shared between the two and so the flow will drop.

WHAT TO DO IF THINGS GO WRONG (1)
SELF HELP
If the unit is not working satisfactorily, make the following checks before calling out the installer.
Any one of these adjustments could restore the performance.
| Symptom | Cause | What to do |
| Little or no water flow. | The main water supply is turned off. | Turn on the main supply fully at the stop valve. Set up unit as per commissioning instructions. |
| Cold water only – neon light off. | The main water supply is not turned on enough. | Turn on the main supply fully at the stop valve. |
| Water too cold – neon light on. | The water flow rate is too high. The inlet water temperature has dropped. | Adjust the service valve (see page 6). Adjust the service valve (see page 6). |
| Water flow too low, or temperature too high. | The main water supply is too low The hot tap is not fully open. | Increase the supply water flow. Make sure that the service valve is correctly adjusted. Adjust the service valve so that the water is at the right temperature with the tap fully open (see page 6). Always turn the hot tap fully on. |
| Water goes from hot to cold. | The water flow or pressure is too low, and the thermal cut-out is operating. A second outlet has been turned on. | Increase the supply water flow Make sure that the service valve is correctly adjusted. |
HEATSTORE AFTER SALES SERVICE
We offer a technical advisory service on the telephone to installers and other customers with problems in the field.
Contact: 0117 923 5375
Email: [email protected]
Remember to quote the exact type of unit, as written on the front of the unit and on this leaflet.
The model and serial number are located on the bottom face of the unit.
Make a note of those numbers here, and be sure to quote them if you call for advice.
Model Number: _ _ _ _ _ _ _ _ _ _ _ _ _ Serial Number: _ _ _ _ _ _ _ _ _ _ _ _ _ _ _
Note: You may be charged for a service call if you do not have the serial number.
WHAT TO DO IF THINGS GO WRONG (2)
PROFESSIONAL SERVICE
If the previous “Self Help” checks fail to restore the performance, you should seek professional help.
The following additional checklist is provided for the benefit of the qualified service person.
SWITCH OFF THE ELECTRICITY AT THE LOCAL ISOLATOR BEFORE REMOVING THE COVER TO MAKE CHECKS.
| Symptom | Cause | What to do | ||||||||
| Little or no water flows – neon light off. | The water pressure is very low. | Use a pump to boost the supply from a storage tank. | ||||||||
| Cold water only – neon light off. | The main water is connected to the OUTLET of the unit. The water pressure is too low. The thermal cut-out has triggered. The flow switch is not working. | Reconnect the main supply to the INLET (marked in blue). Use a pump to boost the supply from a storage tank. Reset it by opening the unit and pushing the button on the cut-out (diagram 1). Before you do this you must remove the cause of the problem. Contact Heatstore (see page 9). | ||||||||
| Water too cold – neon light on. | One element is not working. The Power Supply Voltage has dropped. | Switch off the electricity supply and check the resistance of the elements. You should get the following readings.
The heater should only draw the following currents: | ||||||||
| Water flow too low or temperature too high. | The service valve is fitted to the OUTLET. There are constrictions in the plumbing. | Fit the service valve to the INLET of the unit. Check the plumbing. Only use PTFE tape for making pipe joints. | ||||||||
| Water goes from hot to cold. | The service valve is fitted to the OUTLET. | Fit the service valve to the INLET of the unit. |
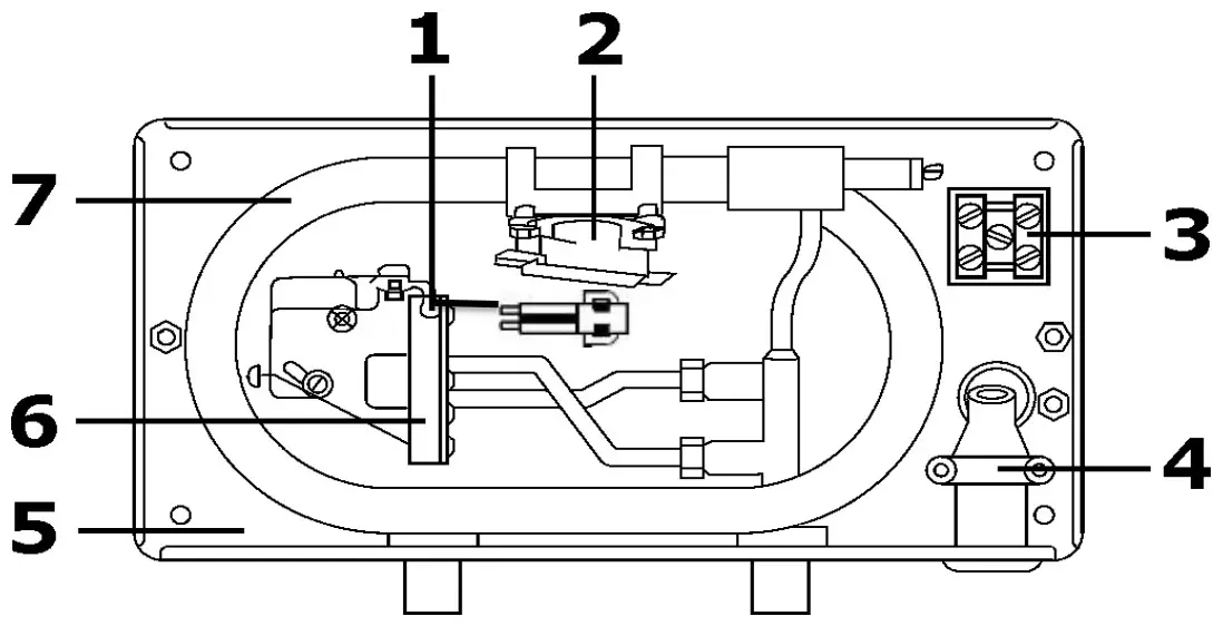
SPARE PART DETAILS

| Item.No | Cat.No. | Description |
| 1a | 37 07 | Neon & Clip 9.5kW |
| 2 | 37 89 | Thermal Cut-Out 2-Disc 57/90°C |
| 3 | 37 03 | Terminal Block 3 way |
| 4 | 37 09 | Cable Clamp & Rubber Boot |
| 5 | 37 01 | Backplate |
| 6 | 38 18 | Flow Switch Assy |
| 7a | 38 19 | Heat Exchanger Assy (9.5kW 240V) |
| 7b | 38 20 | Heat Exchanger Assy 10.8kW 240V) |
| 7c | 38 21 | Heat Exchanger Assy (12kW 240V) |
| Pg. 13 | 37 04 | Front Cover & Trims |
| Pg. 13 | 37 13 | Front Cover Fixing Screws |
| Dia. 6 | 37 57 | Gate Valve |
APPLICABLE MODELS
– HSMF9500N MultiFlow Water Heater 9.5kW
– HSMF10800N MultiFlow Water Heater 10.8 kW
– HSMF12000N MultiFlow Water Heater 12.0kW
PRODUCT DIMENSIONS

YOUR GUARANTEE
Your Product is manufactured by Heatstore. Heatstore designs and manufactures products to ensure they deliver reliable service for normal use in domestic dwellings and, where specified by us, in light commercial premises.
Heatstore products are individually tested before leaving the factory, Your product comes with a 2 year parts and labour guarantee for repair or replacement of faulty goods and/or partial refund in the event that a repair or replacement is not available.
Your guarantee is provided by Heatstore. Terms and conditions apply.
The Heatstore guarantee does not in any way diminish or affect your statutory consumer rights in connection with your product.
If you experience a problem with your product during or after the guarantee period, contact the customer care team on 0117 923 5375.
Please note that when you contact us you will need to provide the model and serial number of your product and a description of the fault which has occurred.
Contact Heatstore
If you have any questions about what the Heatstore warranty covers and does not cover or how to claim under Heatstore warranty, please contact us using the information below.
For electrical products sold within the European Community. At the end of the electrical products useful life it should not be disposed of with household waste. Please recycle where facilities exist. Check with a Local Authority or retailer for recycling advise in your country. Batteries should be disposed of or recycled in accordance with WEEE Directive 2012/EU. Packaging should be recycled where possible.
|
Contact details
Heatstore
Unit 12, Access 18, Bristol, BS11 8HT
Telephone: 0117 923 5375
Email: [email protected]
http://www.heatstore.co.uk
International
Warranty: Contact your local distributor or
Heatstore direct for details.
Technical advice and service: Contact your local
Heatstore distributor.![]()




















