SILVERSTONE RM44 Workstation Case

Parts package component list
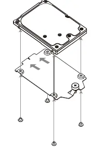
Hard drives and expansion card retainer installation
- Remove 4 screws from the expansion card retainer

- Expansion card retainer position shift (It is recommended to avoid the position of the expansion card connectors, and make sure the length of the PSU will not interfere.)

- Install 2 x 3.5″ HDD on the expansion card retainer

- Install 3 x 2.5″ SSD on the expansion card retainer

- Install 2.5″ drives on 2.5″ trays.

Expansion card height limitation
(Please take into account the power connectors)
- Height limitation with expansion card clip buckle installed

- Height limitation with expansion card clip buckle removed

- Height limitation with expansion card retainer removed

- Removing expansion card clip buckle

- Adjust the position of the expansion card retainer according to the required height of the interface card, then tighten the screw

Nvidia 30 series graphics card brackets installation
- Install Nvidia 30 series graphics cards

- Install Nvidia 30 series graphics cards bracket (slightly tighten the screws, and reserve space for the bracket to slide left and right)

- Once the graphics card bracket is pushed into position, tighten the thumb screw and then the graphics card screw.
Note: Nvidia 30 series graphics card bracket supports graphics card length of 285mm~344mm (the total length of the graphics card must exceed the edge of the motherboard)
Vertical orientation installation
- Remove L-shaped handlebar brackets on both sides

- Remove the handlebars on both sides

- Install the handlebar onto the flat handlebar bracket

- Install case feet (including case feet washers)

Install Mini Redundant PSU
- If Mini Redundant PSU is to be installed, please first remove the ATX PSU bracket

- Install Mini Redundant PSU

Component restrictions
- CPU cooler height limitation with expansion card retainer is 137mm, and 148mm without. The CPU cooler is allowed to protrude from the motherboard by 15mm to avoid interference with the PSU. If hard drives are to be installed on the expansion card retainer, further deduct the height of the hard drives

- When shifting positions of the expansion card retainer, the maximum depth limitation for PSU is 255mm to avoid interference.

- The maximum length limitation for graphics cards, front panel case fans, and the radiator is 424mm

- If the 8th slot is to be used for expansion cards, please remove the 2.5″ drive tray as appropriate.

Warranty Information
This product has a limited 1-year warranty in North America and Australia. For information on warranty periods in other regions, please contact your reseller or SilverStone authorized distributor.
Warranty terms & conditions
- 1. Product component defects or damages resulted from defective production is covered under warranty. Defects or damages with the following conditions will be fixed or replaced under SilverStone Technology’s jurisdiction.t
a) Usage in accordance with instructions provided in this manual, with no misuse, overuse, or other inappropriate actions.
b) Damage not caused by natural disaster (thunder, fire, earthquake, flood, salt, wind, insect, animals, etc…)
c) Product is not disassembled, modified, or fixed. Components not disassembled or replaced.
d) Warranty marks/stickers are not removed or broken.
Loss or damages resulting from conditions other than ones listed above are not covered under warranty. Under warranty, SilverStone Technology’s maximum liability is limited to the current market value for the product (depreciated value, excluding shipping, handling, and other fees). SilverStone Technology is not responsible for other damages or loss associated with the use of product. - Under warranty, SilverStone Technology is obligated to repair or replace its defective products. Under no circumstances will SilverStone Technology be liable for damages in connection with the sale, purchase, or use including but not limited to loss of data, loss of business, loss of profits, loss of use of the product or incidental or consequential damage whether or not foreseeable and whether or not based on breach of warranty, contract or negligence, even if SilverStone Technology has been advised of the possibility of such damages.
- The warranty covers only the original purchaser through authorized SilverStone distributors and resellers and is not transferable to a second hand purchaser. You must provide a sales receipt or invoice with a clear indication of the purchase date to determine warranty eligibility.
- If a problem develops during the warranty period, please contact your retailer/reseller/SilverStone authorized distributors or SilverStone at http://www.silverstonetek.com. Please note that: (i) You must provide proof of original purchase of the product by a dated itemized receipt; (ii) You shall bear the cost of shipping (or otherwise transporting) the product to SilverStone authorized distributors. SilverStone authorized distributors will bear the cost of shipping (or otherwise transporting) the product back to you after completing the warranty service; (iii) Before you send the product, you must be issued a Return Merchandise Authorization (“RMA”) number from SilverStone. Updated warranty information will be posted on SilverStone’s official website. Please visit http://www.silverstonetek.com for the latest updates.
Additional info & contacts
For North America ([email protected])
SilverStone Technology in North America may repair or replace defective product with refurbished product that is not new but has been functionally tested. Replacement product will be warranted for remainder of the warranty period or thirty days, whichever is longer. All products should be sent back to the place of purchase if it is within 30 days of purchase, after 30 days, customers need to initiate RMA procedure with SilverStone Technology in USA by first downloading the “USA RMA form for end-users” form from the below link and follow its instructions. http://silverstonetek.com/contactus.php
For Australia only ([email protected])
Our goods come with guarantees that cannot be excluded under the Australian Consumer Law. You are entitled to a replacement or refund for a major failure and for compensation for any other reasonably foreseeable loss or damage. You are also entitled to have the goods repaired or replaced if the goods fail to be of acceptable quality and the failure does not amount to a major failure. Please refer to above “Warranty terms & conditions” for further warranty details.
SilverStone Technology Co., Ltd. 12F No. 168 Jiankang Rd., Zhonghe Dist., New Taipei City 235 Taiwan R.O.C. + 886-2-8228-1238 (standard international call charges apply)
- For Europe ([email protected])
- For China ([email protected])
- For all other regions ([email protected])
- SilverStone Technology Co., Ltd.
- www.silverstonetek.com
- [email protected]








































