hansgrohe AIR 27461000 Overhead Shower

Product Information
The product is a shower system with the following models: Raindance AIR 27461000 / 27462000, Raindance AIR 27463000 / 27464000. The user manual/instructions are available in multiple languages including German, French, English, Italian, Spanish, Dutch, Danish, Polish, Chinese, Russian, Swedish, Lithuanian, Croatian, Turkish, Romanian, Greek, Slovenian, Estonian, Latvian, Serbian, Norwegian and Bulgarian. The shower system is not recommended to be used with a continuous flow water heater. It has a symbol description and dimensions mentioned on page 31-32. The technical data includes the operating pressure and recommended operating pressure (1 MPa = 10 bar = 147 PSI) and hot water temperature.
Product Usage Instructions
- Wear protective gloves during installation to prevent crushing and cutting injuries.
- The shower system should only be used for bathing, hygienic and body cleansing purposes.
- Children and adults with physical, mental and/or sensoric impairments must not use the shower system without proper supervision.
- Persons under the influence of alcohol or drugs are prohibited from using this shower system.
- Avoid allowing the streams of the shower to touch sensitive body parts such as your eyes. An adequate distance must be kept between the shower and your body.
- The arm of the shower head is intended only to hold the shower head. Do not load it down with other objects!
- Do not use silicone containing acetic acid.
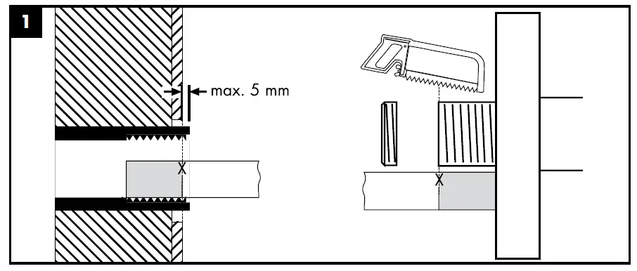
- For wall mount installation, refer to page 33. For ceiling mount installation, refer to page 35.
- Refer to page 36-39 for cleaning instructions and the enclosed brochure for spare parts. Refer to page 40 for the test certificate.
Safety Notes
- Gloves should be worn during installation to prevent crushing and cutting injuries.
- The shower system may only be used for bathing, hygienic and body cleansing purposes.
- Children as well as adults with physical, mental and/or sensoric impairments must not use this shower system without proper supervision. Persons under the influence of alcohol or drugs are prohibited from using this shower system.
- Do not allow the streams of the shower touch sensitive body parts (such as your eyes). An adequate distance must be kept between the shower and you.
- The arm of the shower head is intended only to hold the shower head. Do not load it down with other objects!
Installation Instructions
- The fitting must be installed, flushed and tested after the valid norms!
- Where the contractor mounts the product, he should ensure that the entire area of the wall to which the mounting plate is to be fitted, is flat (no projecting joints or tiles sticking out), that the structure of the wall is suitable for the installation of the product and has no weak points. The enclosed screws and dowels are only suitable for concrete. For another wall constructions the manufacturer’s indications of the dowel manufacturer have to be taken into account.
- The filter insert must be use to protect the shower against incoming dirt by pipework. Incoming dirt leads to defects or/and can damage parts of the shower; such caused faults voids all liability and guarantee claims.
Technical Data
- Operating pressure: max. 0,6 MPa
- Recommended operating pressure: 0,1 – 0,4 MPa (1 MPa = 10 bar = 147 PSI)
- Hot water temperature: max. 60°C
- The shower can not used together with a continuous flow water heater.
Symbol description
Do not use silicone containing acetic acid!
Dimensions
Flow diagram
Cleaning
see enclosed brochure.
Spare parts
Test certificate
Wall mount
Ceiling mount
Dimension And Flow Diagram




Assembly Instruction






Cleaning

Just clean: simply rub over the spray nozzles to remove lime scale.




Spare Parts


Hansgrohe · Postfach 1145 · D-77761 Schiltach · Telefon +49 (0) 78 36/51-1282 · Telefax +49 (0) 7836/511440
E-Mail: [email protected] · Internet: www.hansgrohe.com

Do not use silicone containing acetic acid!
Dimensions
Flow diagram
Cleaning
Spare parts
Test certificate
Wall mount
Ceiling mount

















