INSTRUCTION MANUAL
Cordless Cleaner DCL181F
Read before use
WARNING
- This appliance can be used by children aged 8 years and above and persons with reduced physical, sensory or mental capabilities or lack of experience and knowledge if they have been given supervision or instruction concerning the use of the appliance in a safe way and understand the hazards involved.
- Children shall not play with the appliance. Cleaning and user maintenance shall not be made by children without supervision.
- See the chapter “SPECIFICATIONS” for the type reference of the battery.
- See the section “Installing or removing battery cartridge” for how to remove or install the battery.
- When disposing of the battery cartridge, remove it from the tool and dispose of it in a safe place. Follow your local regulations relating to the disposal of batteries.
- If the tool is not used for a long period of time, the battery must be removed from the tool.
- Do not short the battery cartridge.
- See the chapter “MAINTENANCE” for the appropriate details of precautions during user maintenance.
SPECIFICATIONS
| Model: | DCL181 F | |
| Capacity | 650 mL | |
| Continuous use (with battery BL1830B) | HIGH
| Approx. 20 min
|
| LOW | Approx. 40 min | |
| Overall length | 999 mm | |
| Rated voltage | D.C. 18 V | |
| Net weight | 1.2 – 1.5 kg | |
- Due to our continuing program of research and development, the specifications herein are subject to change without notice.
- Specifications may differ from country to country.
- The weight does not include accessories but battery cartridge(s). The lightest and heaviest combined weight of the appliance and battery cartridge(s) are shown in the table.
Applicable battery cartridge and charger
| Battery cartridge | BL1815N / BL1820B / BL1830B / BL1840B / BL1850B / BL1860B |
| Charger | DC18RC / DC18RD / DC18RE / DC18SD / DC18SE / DC18SF /DC18SH |
- Some of the battery cartridges and chargers listed above may not be available depending on your region of residence.
WARNING: Only use the battery cartridges and chargers listed above. Use of any other battery cartridges and chargers may cause injury and/or fire.
Symbols
The followings show the symbols which may be used for the equipment. Be sure that you understand their meaning before use.![]()
Read the instruction manual.
Ni-MH
Only EU countries
Due to the presence of hazardous components in the equipment, waste electrical and electronic equipment, accumulators and batteries may have a negative impact on the environment and human health. Do not dispose of electrical and electronic appliances or batteries with household waste! In accordance with the European Directive on waste electrical and electronic equipment and on accumulators and batteries and waste accumulators and batteries, as well as their adaptation to national law, waste electrical equipment, batteries, and accumulators should be stored separately and delivered to a separate collection point for municipal waste, operating in accordance with the regulations on environmental protection. This is indicated by the symbol of the crossed-out wheeled bin placed on the equipment.
Intended use
The tool is intended for collecting dry dust.
SAFETY WARNINGS
Cordless cleaner safety warnings
WARNING: IMPORTANT! READ CAREFULLY all safety warnings and all instructions BEFORE USE. Failure to follow the warnings and instructions may result in electric shock, fire, and/or serious injury.
- Do not expose to rain. Store indoors.
- Do not allow it to be used as a toy. Close attention is necessary when used by or near children.
- Use only as described in this manual. Use only the manufacturer’s recommended attachments.
- Do not use a damaged battery. If the appliance is not working as it should, has been dropped, damaged, left outdoors, or dropped into water, return it to a service center.
- Do not handle appliances with wet hands.
- Do not put any object into openings. Do not use with any opening blocked; keep free of dust, lint, hair, and anything that may reduce airflow.
- Keep hair, loose clothing, fingers, and all parts of the body away from openings and moving parts.
- Turn off all controls before removing the battery.
- Use extra care when cleaning on stairs.
- Do not use it to pick up flammable or combustible liquids, such as gasoline, or use it in areas where they may be present.
- Use only the charger supplied by the manufacturer to recharge.
- Do not pick up anything that is burning or smoking, such as cigarettes, matches, or hot ashes.
- Do not use without a dust bag and/or filters in place.
- Do not charge the battery outdoors.
- Recharge only with the charger specified by the manufacturer. A charger that is suitable for one type of battery pack may create a risk of fire when used with another battery pack.
- Use power tools only with specifically designated battery packs. The use of any other battery packs may create a risk of injury and fire.
- When (the) battery pack is not in use, keep it away from other metal objects, like paper clips, coins, keys, nails, screws, or other small metal objects, that can make a connection from one terminal to another.
- Under abusive conditions, liquid may be ejected from the battery; avoid contact. If contact accidentally occurs, flush with water.
- Do not use a battery pack or tool that is damaged or modified. Damaged or modified batteries may exhibit unpredictable behavior resulting in fire, explosion, or risk of injury.
- Do not expose a battery pack or tool to fire or excessive temperature. Exposure to fire or temperature above 130 °C may cause an explosion.
- Follow all charging instructions and do not charge the battery pack or tool outside the temperature range specified in the instructions. Charging improperly or at temperatures outside the specified range may damage the battery and increase the risk of fire.
SAVE THESE INSTRUCTIONS.
ADDITIONAL SAFETY RULES
This appliance is intended for household use.
- Read this instruction manual and the charger instruction manual carefully before use.
- Do not pick up the following materials:
— Hot materials such as lit cigarettes or spark/ metal dust generated by grinding/cutting metal
— Flammable materials such as gasoline, thinner, benzene, kerosene, or paint
— Explosive materials like nitroglycerin
— Ignitable materials such as Aluminum, zinc, magnesium, titanium, phosphorus, or celluloid
— Wet dirt, water, oil, or the like
— Hard pieces with sharp edges, such as wood chips, metals, stones, glasses, nails, pins, or razors
— Powder to clots such as cement or toner
— Conductive dust such as metal or carbon
— Fine particle-like concrete dust Such action may cause fire, injury, and/or property damage. - Stop operation immediately if you notice anything abnormal.
- If you drop or strike the cleaner, check it carefully for cracks or damage before operation.
- Do not bring close to stoves or other heat sources. 6. Do not block the intake hole or vent holes.
SAVE THESE INSTRUCTIONS.
Important safety instructions for battery cartridge
- Before using the battery cartridge, read all instructions and cautionary markings on
(1) battery charger,
(2) battery, and
(3) product using the battery. - Do not disassemble or tamper with the battery cartridge. It may result in a fire, excessive heat, or explosion.
- If the operating time has become excessively shorter, stop operating immediately. It may result in a risk of overheating, possible burns, and even an explosion.
- If electrolyte gets into your eyes, rinse them out with clear water and seek medical attention right away. It may result in loss of your eyesight.
- Do not short the battery cartridge:
(1) Do not touch the terminals with any conductive material.
(2) Avoid storing the battery cartridge in a container with other metal objects such as nails, coins, etc.
(3) Do not expose the battery cartridge to water or rain.
A battery short can cause a large current flow, overheating, possible burns, and even a breakdown. - Do not store and use the tool and battery cartridge in locations where the temperature may reach or exceed 50 °C (122 °F).
- Do not incinerate the battery cartridge even if it is severely damaged or is completely worn out. The battery cartridge can explode in a fire.
- Do not nail, cut, crush, throw, drop the battery cartridge, or hit a hard object to the battery cartridge. Such conduct may result in a fire, excessive heat, or explosion.
- Do not use a damaged battery.
- The contained lithium-ion batteries are subject to the Dangerous Goods Legislation requirements.
For commercial transports e.g. by third parties or forwarding agents, special requirements on packaging and labeling must be observed. For the preparation of the item being shipped, consulting an expert for hazardous material is required. Please also observe possibly more detailed national regulations. Tape or mask off open contacts and pack up the battery in such a manner that it cannot move around in the packaging. - When disposing of the battery cartridge, remove it from the tool and dispose of it in a safe place. Follow your local regulations relating to the disposal of batteries.
- Use the batteries only with the products specified by Makita. Installing the batteries to non-compliant products may result in a fire, excessive heat, explosion, or leak of electrolyte.
- If the tool is not used for a long period of time, the battery must be removed from the tool.
- During and after use, the battery cartridge may take on heat which can cause burns or low-temperature burns. Pay attention to the handling of hot battery cartridges.
- Do not touch the terminal of the tool immediately after use as it may get hot enough to cause burns.
- Do not allow chips, dust, or soil to stuck into the terminals, holes, and grooves of the battery cartridge. It may result in poor performance or breakdown of the tool or battery cartridge.
- Unless the tool supports the use of near high-voltage electrical power lines, do not use the battery cartridge near high-voltage electrical power lines. It may result in a malfunction or breakdown of the tool or battery cartridge.
- Keep the battery away from children.
SAVE THESE INSTRUCTIONS.
CAUTION: Only use genuine Makita batteries.
Use of non-genuine Makita batteries, or batteries that have been altered, may result in the battery bursting causing fires, personal injury, and damage. It will also void the Makita warranty for the Makita tool and charger.
Tips for maintaining maximum battery life
- Charge the battery cartridge before completely discharged. Always stop tool operation and charge the battery cartridge when you notice less tool power.
- Never recharge a fully charged battery cartridge. Overcharging shortens the battery service life.
- Charge the battery cartridge at room temperature at 10 °C – 40 °C (50 °F – 104 °F). Let a hot battery cartridge cool down before charging it.
- When not using the battery cartridge, remove it from the tool or the charger.
- Charge the battery cartridge if you do not use it for a long period (more than six months).
FUNCTIONAL DESCRIPTION
CAUTION: Always be sure that the tool is switched off and the battery cartridge is removed before adjusting or checking the function of the tool.
CAUTION: Take care not to trap finger(s) between cleaner and battery as shown in the diagram when loading battery. Trapping finger(s) may cause injury.
Installing or removing the battery cartridge
CAUTION: Always switch off the tool before installing or removing the battery cartridge.
CAUTION: Hold the tool and the battery cartridge firmly when installing or removing the battery cartridge. Failure to hold the tool and the battery cartridge firmly may cause them to slip off your hands and result in damage to the tool and battery cartridge and a personal injury.
► 1. Red indicator 2. Button 3. Battery cartridge
To remove the battery cartridge, slide it from the tool while sliding the button on the front of the cartridge. To install the battery cartridge, align the tongue on the battery cartridge with the groove in the housing and slip it into place. Insert it all the way until it locks in place with a little click. If you can see the red indicator on the upper side of the button, it is not locked completely.
CAUTION: Always install the battery cartridge fully until the red indicator cannot be seen. If not, it may accidentally fall out of the tool, causing injury to you or someone around you.
CAUTION: Do not install the battery cartridge forcibly. If the cartridge does not slide in easily, it is not being inserted correctly.
Battery protection system
The tool is equipped with a tool/battery protection system. This system automatically cuts off power to the motor to extend tool and battery life. The tool will automatically stop during operation if the tool or battery is placed under one of the following conditions.
Overloaded:
The tool is operated in a manner that causes it to draw an abnormally high current. In this situation, turn the tool off and stop the application that caused the tool to become overloaded. Then turn the tool on to restart. If the tool does not start, the battery is overheated. In this situation, let the battery cool before turning the tool on again.
Low battery voltage:
The remaining battery capacity is too low and the tool will not operate. In this situation, remove and recharge the battery.
Indicating the remaining battery capacity
Only for battery cartridges with the indicator
► 1. Indicator lamps 2. Check button
Press the check button on the battery cartridge to indicate the remaining battery capacity. The indicator lamps light up for a few seconds.
Indicator lamps | Remaining capacity | ||
|
|
| |
| 75% to 100% | ||
| 50% to 75% | ||
| 25% to 50% | ||
| 0% to 25% | ||
| Charge the battery. | ||
| The battery may have malfunctioned. | ||
NOTE: Depending on the conditions of use and the ambient temperature, the indication may differ slightly from the actual capacity.
NOTE: The first (far left) indicator lamp will blink when the battery protection system works.
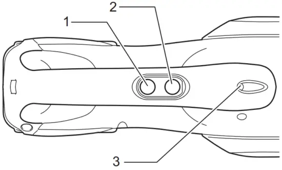
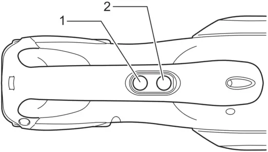
Switch action
► 1. OFF button 2. HIGH/LOW button
To start the cleaner, simply press the “HIGH/LOW” button. To switch it off, press the “OFF” button. To change the cleaner speed, press the “HIGH/LOW” button. The first press on this button is for high speed and the second press for low speed and then each press on this button repeats the high/low-speed cycle alternatively.
Lighting the lamp
CAUTION: Never look into the light directly. Direct light causes damage to your eyes.
► 1. OFF button 2. HIGH/LOW button 3. Lamp
To turn on the lamp, simply press the “HIGH/LOW” button. To turn off the lamp, press the “OFF” button.
ASSEMBLY
CAUTION: Always be sure that the tool is switched off and the battery cartridge is removed before carrying out any work on the tool.
Type of filter
Normal filter
► 1. Capsule 2. Prefilter 3. Filter
High-performance filter
► 1. Capsule 2. High-performance filter
Disposing of dust
CAUTION: Empty the cleaner before it becomes too full, or the suction force weakens.
CAUTION: Be sure to empty out the dust inside the cleaner itself. Failure to do so may cause the filter to be clogged or the motor to be damaged.
Disposing of dust for normal filter
1. In order to drop dust sticking on the filter in the capsule, tap the capsule 4 or 5 times with your hand. Now point the suction inlet downwards, turn the capsule in direction of the arrow in the diagram, and disconnect the capsule slowly and straight.
► 1. Capsule 2. Suction inlet
NOTE: Dust may spill out when the capsule is opened, so be sure to set a garbage bag beneath the capsule.
2. Remove accumulated dust from inside of capsule and off of prefilter.
► 1. Prefilter 2. Capsule
3. Twist prefilter in direction of the arrow to unfasten securing lip from cleaner unit and then pull off prefilter.
► 1. Prefilter 2. Securing lip
4. Clean out fine dust from the prefilter. Next, remove the filter, and lightly tap to dislodge dust.
► 1. Prefilter 2. Filter
Disposing of dust for high-performance filter
1. In order to drop dust sticking on the filter in the capsule, tap the capsule 4 or 5 times with your hand. Now point the suction inlet downwards, turn the capsule in direction of arrow in the diagram, and disconnect the capsule slowly and straight.
► 1. Capsule 2. Suction inlet
NOTE: Dust may spill out when the capsule is opened, so be sure to set a garbage bag beneath the capsule.
2. Remove accumulated dust from inside of the capsule and off of the high-performance filter.
► 1. Capsule 2. High-performance filter
3. Twist the high-performance filter in direction of the arrow to unfasten securing lip from the cleaner unit and then pull off the filter.
► 1. Securing lip
4. Clean out the fine dust and lightly tap to dislodge dust from the high-performance filter.
Reassembly
Reassembly for normal filter
1. Put on the filter until it is fully in position on the cleaner unit.
► 1. Filter
► 1. Filter
NOTE: Make sure the filter is put on straight without being peeled back. If the filter is put on incorrectly as shown in the diagram, dust will get into the motor housing, and cause motor failure.
2. Connect prefilter. At this time, make sure to twist the prefilter so that securing lip is firmly locked into the cleaner unit.
► 1. Prefilter
3. Connect capsule. Align the O mark on the capsule with the O mark on the handle and then firmly twist the capsule in direction of the arrow until it is secured.
► 1. O Mark
► 1. Handle 2. Capsule
NOTE: Always remove dust ahead of time, as suction power will be reduced if there is too much dust in the cleaner.
NOTE: Always be sure to check that both filter and prefilter are loaded correctly prior to using the cleaner. If they are not loaded correctly, dust will get into the motor housing, and cause motor failure. If the following examples occur, the filter and prefilter are not loaded correctly. Reload them correctly to rectify the problem.
Problem Examples
Example 1: Only prefilter has been loaded (no filter)
► 1. Prefilter
Example 2: Only filter has been loaded (no prefilter)
► 1. Filter
Example 3: Filter has been loaded in a peeled back state
► 1. Filter
Example 4: Prefilter’s securing lip is not firmly locked into the groove of cleaner housing
► 1. Groove of cleaner housing 2. Prefilter 3. Securing lip
Reassembly for high-performance filter
1. Connect a high-performance filter. At this time, make sure to twist the high-performance filter so that securing lips are firmly locked into the cleaner unit.
► 1. High-performance filter 2. Securing lip
► 1. Securing lip
2. Connect capsule. Align the O mark on the capsule with the O mark on the handle and then firmly twist the capsule in direction of the arrow until it is secured.
► 1. O Mark
► 1. Handle 2. Capsule
NOTE: Always remove dust ahead of time, as suction power will be reduced if there is too much dust in the cleaner.
NOTE: Always be sure to check that the high-performance filter is loaded correctly prior to using the cleaner. If they are not loaded correctly, dust will get into the motor housing, and cause motor failure. If the following examples occur, the high-performance filter is not loaded correctly. Reload them correctly to rectify the problem.
Problem Examples
Securing lip of a high-performance filter is not firmly locked into the groove of cleaner housing.
► 1. Securing lip 2. The groove of cleaner housing
OPERATION
CAUTION: To connect attachments, such as nozzle, twist and insert the attachment in direction of the arrow to secure the connection during use. To disconnect the attachments, twist and extract it also in direction of the arrow. If an attachment is twisted in the opposite direction when being connected or disconnected, the capsule may
become loose.
► 1. Capsule
Cleaning (Suction)
Nozzle
Attach the nozzle to clean off tables, desks, furniture, etc. The nozzle slips on easily.
► 1. Nozzle
Nozzle + Extension wand (Straight pipe)
The extension wand fits in between the nozzle and the cleaner itself. This arrangement is convenient for cleaning a floor in a standing position.
► 1. Cleaner body 2. Extension wand 3. Nozzle
Corner nozzle
Fit on the corner nozzle for cleaning corners and crevices of a car or furniture.
► 1. Corner nozzle 2. Cleaner body
Corner nozzle +Extension wand (Straight pipe)
In tight quarters where the cleaner itself cannot squeeze in, or in high places hard to reach, use this arrangement.
► 1. Corner nozzle 2. Extension wand 3. Cleaner body
Cleaning without nozzle
You can pick up powder and dust without a nozzle.

MAINTENANCE
CAUTION: Always be sure that the tool is switched off and the battery cartridge is removed before attempting to perform inspection or maintenance.
After use
NOTICE: Putting the cleaner against the wall without any other support causes the cleaner to fall down and be damaged.
Cleaning
NOTICE: Never use gasoline, benzene, thinner, alcohol, or the like. Discoloration, deformation, or cracks may result.
NOTICE: Do not blow dust sticking on the cleaner and filters by air duster. It brings dust into the housing and causes failure.
NOTICE: After washing filters, dry them thoroughly before use. Insufficiently dried filters may cause poor suction and shorten the service life of the motor.
NOTICE: After cleaning filters and sponge filters, be sure to re-install them before use. If you use the cleaner without filters and sponge filters, dust comes into the motor housing and causes malfunction.
Cleaner body
From time to time wipe off the outside (cleaner body) of the cleaner using a cloth dampened in soapy water. Clean out also the suction opening and filter mounting area.
Filter
Wash the filter in soapy water when it is clogged with dust and the cleaner power becomes weak. Dry it out thoroughly before use.
Sponge filter
When the sponge filter becomes dirty, clean it as follows.
- Remove the filter.
- Pull out the sponge filter from between the pillars.
- Clean the sponge filter by tapping or washing. If you wash it, dry it out thoroughly before use.
- Insert the sponge filter from between the pillars and set it in the original position. Make sure that each bottom edge of the pillar holds down the sponge filter, and there is
no gap between the sponge filter and the suction opening.
► 1. Sponge filter 2. The bottom edge of the pillar
Wall mount for a cordless cleaner
Optional accessory
NOTE: The screw to mount the holder is not included. Prepare a screw that fits with the material to screw into.
Attach the wall mount for a cordless cleaner to a hard wooden wall, beam, or column, where the wall mount for the cordless cleaner can be firmly secured. Always be sure that the wall mount for the cordless cleaner is securely attached before hanging the cleaner.
► 1. Wall mount for a cordless cleaner
CAUTION: Do not hang the cleaner to the wall mount violently or hang other appliances than the cleaner.
Troubleshooting
Before asking for repairs, check the following points.
| Symptom | Area to be investigated | Fixing method |
| Weak suction power | Is the capsule full of dust? | Empty the capsule of dust. |
| Is the filter clogged? | Clean or wash the filter. | |
| Is the battery cartridge discharged? | Charge the battery cartridge. | |
| Not working | Is the battery cartridge discharged? | Charge the battery cartridge. |
CAUTION: Do not attempt to repair the cleaner by yourself.
To maintain product SAFETY and RELIABILITY, repairs, and any other maintenance or adjustment should be performed by Makita Authorized or Factory Service Centers, always using Makita replacement parts.
OPTIONAL ACCESSORIES
CAUTION: These accessories or attachments are recommended for use with your Makita tool specified in this manual. The use of any other accessories or attachments might present a risk of injury to persons. Only use accessory or attachment for its stated purpose.
If you need any assistance with more details regarding these accessories, ask your local Makita Service Center.
- Extension wand (Straight pipe)
- Nozzle
- Nozzle for carpet
- Shelf brush
- Corner nozzle
- Round brush
- Flexible hose
- Free nozzle
- Filter
- Prefilter
- High-performance filter
- Wall mount for a cordless cleaner
- Cyclone attachment
- Makita genuine battery and charger
NOTE: Some items in the list may be included in the tool package as standard accessories. They may differ from country to country.
Cyclone attachment
► 1. Straight pipe 2. Cyclone attachment 3. Suction inlet
About the cyclone attachment
Using the cleaner with the cyclone attachment installed reduces the amount of dust that enters the capsule, which helps to prevent the suction force from weakening. In addition, cleaning after use is also simple.
CAUTION: Always be sure that the tool is switched off and the battery cartridge is removed before carrying out any work on the tool. If the battery cartridge is left inserted, the cleaner may start unexpectedly and result in injury.
CAUTION: Clean the mesh filter of the cyclone attachment and the filters of the cleaner unit when they become clogged. Continued use in the clogged condition may result in heating or smoke.
NOTICE: When the cyclone attachment is attached, do not use the cleaner in the horizontal or upward facing condition. Doing so may cause the mesh filter to become clogged.
NOTICE: Always use the cleaner with the filters installed, even when using the cyclone attachment. Using the cleaner without the filters installed may result in a motor malfunction.
NOTE: Check that the cyclone attachment, cleaner, and straight pipe are locked properly before use.
NOTE: Empty the dust case of the cyclone attachment and the capsule of the cleaner when the dust has accumulated. Continued use will result in weakened suction force.
suction force.
Disposing of dust
When the dust has accumulated up to the full line of the dust case, follow the procedure below and dispose of the dust.
1. Hold the dust case firmly, press and hold the two buttons, and remove the dust case.
► 1. Full line 2. Dust case 3. Button (two locations)4. Mesh filter
2. Dispose of the dust inside the dust case and remove any dust and powder adhered to the surface of the mesh filter.
3. Insert the dust case all the way until the two buttons lock with a click.
► 1. Dust case 2. Button (two locations)
NOTE: Check that the cyclone attachment, cleaner, and straight pipe are all firmly connected before restarting the operation.
NOTE: If the suction force does not recover even after disposing of the dust and cleaning the mesh filter, check whether dust has accumulated in the capsule of the cleaner or if clogging has occurred.
Cleaning
When the dust case becomes dirty or the mesh filter is clogged, remove and wash them with water. (Refer to “Disposing of dust” for the removal procedure.)
Dry the parts thoroughly before reinstallation and use.
► 1. Dust case 2. Mesh filter
When the mesh filter gets dirty badly, clean it in the following procedures.
1. Turn the mesh filter counterclockwise and remove it while the hooks are unlocked.
► 1. Mesh filter 2. Hook
2. Remove the dust on the mesh filter and then wash it with water. After that, dry it thoroughly.
3. Insert the mesh filter into the base while the hooks are aligned with the port. Turn the mesh filter clockwise until the hooks are locked with a click. Make sure that the mesh filter is installed securely.
► 1. Mesh filter 2. Hook 3. Port
| Makita Europe N.V. | Jan-Baptist Vinkstraat 2, 3070 Kortenberg, Belgium |
| Makita Corporation | 3-11-8, Sumiyoshi-cho, Anjo, Aichi 446-8502 Japan |
| www.makita.com | |
885580D221
EN
20201105
Lighted
Off
Blinking






















