
makita CL002G Cordless Cleaner Instruction Manual

CL002G
































WARNING
- This appliance can be used by children aged from 8 years and above and persons with reduced physical, sensory or mental capabilities or lack of experience and knowledge if they have been given supervision or instruction concerning use of the appliance in a safe way and understand the hazards involved.
- Children shall not play with the appliance. Cleaning and user maintenance shall not be made by children without supervision.
- See the chapter “SPECIFICATIONS” for the type reference of the battery.
- See the section “Installing or removing battery cartridge” for how to remove or install the battery.
- When disposing the battery cartridge, remove it from the tool and dispose of it in a safe place. Follow your local regulations relating to disposal of battery.
- If the tool is not used for a long period of time, the battery must be removed from the tool.
- Do not short the battery cartridge.
- See the chapter “MAINTENANCE” for the appropriate details of precautions during user maintenance.
SPECIFICATIONS

- Due to our continuing program of research and development, the specifications herein are subject to change without notice.
- Specifications may differ from country to country.
- The weight does not include accessories but battery cartridge(s). The lightest and heaviest combination weight of the appliance and battery cartridge(s) are shown in the table.
Applicable battery cartridge and charger

Symbols
The followings show the symbols which may be used for the equipment. Be sure that you understand their meaning before use.

In accordance with the European Directive on waste electrical and electronic equipment and on accumulators and batteries and waste accumulators and batteries, as well as their adaptation to national law, waste electrical equipment, batteries and accumulators should be stored separately and delivered to a separate collection point for municipal waste, operating in accordance with the regulations on environmental protection.
This is indicated by the symbol of the crossed-out wheeled bin placed on the equipment.
Intended use
The tool is intended for collecting dry dust.
SAFETY WARNINGS
Cordless cleaner safety warnings
WARNING: IMPORTANT! READ CAREFULLY
all safety warnings and all instructions BEFORE USE. Failure to follow the warnings and instructions may result in electric shock, fire and/or serious injury.
- Do not expose to rain. Store indoors.
- Do not allow to be used as a toy. Close attention is necessary when used by or near children.
- Use only as described in this manual. Use only manufacturer’s recommended attachments.
- Do not use with damaged battery. If appliance is not working as it should, has been dropped, damaged, left outdoors, or dropped into water, return it to a service center.
- Do not handle appliance with wet hands.
- Do not put any object into openings. Do not use with any opening blocked; keep free of dust, lint, hair, and anything that may reduce air flow.
- Keep hair, loose clothing, fingers, and all parts of body away from openings and moving parts.
- Turn off all controls before removing the battery.
- Use extra care when cleaning on stairs.
- Do not use to pick up flammable or combustible liquids, such as gasoline, or use in areas where they may be present.
- Use only the charger supplied by the manufacturer to recharge.
- Do not pick up anything that is burning or smoking, such as cigarettes, matches, or hot ashes.
- Do not use without dust bag and/or filters in place.
- Do not charge the battery outdoors.
- Recharge only with the charger specified by the manufacturer. A charger that is suitable for one type of battery pack may create a risk of fire when used with another battery pack.
- Use appliances only with specifically designated battery packs. Use of any other battery packs may create a risk of injury and fire.
- When (the) battery pack is not in use, keep it away from other metal objects, like paper clips, coins, keys, nails, screws or other small metal objects, that can make a connection from one terminal to another.
- Under abusive conditions, liquid may be ejected from the battery; avoid contact. If contact accidentally occurs, flush with water.
- Do not use a battery pack or appliance that is damaged or modified. Damaged or modified batteries may exhibit unpredictable behaviour resulting in fire, explosion or risk of injury.
- Do not expose a battery pack or appliance to fire or excessive temperature. Exposure to fire or temperature above 130 °C may cause explosion.
- Follow all charging instructions and do not charge the battery pack or appliance outside the temperature range specified in the instructions. Charging improperly or at temperatures outside the specified range may damage the battery and increase the risk of fire.
SAVE THESE INSTRUCTIONS.
ADDITIONAL SAFETY RULES
This appliance is intended for household use.
- Read this instruction manual and the charger instruction manual carefully before use.
- Do not pick up the following materials:
— Hot materials such as lit cigarettes or spark/metal dust generated by grinding/ cutting metal
— Flammable materials such as gasoline, thinner, benzine, kerosene or paint
— Explosive materials like nitroglycerin
— Ignitable materials such as Aluminum, zinc, magnesium, titanium, phosphorus or celluloid
— Wet dirt, water, oil or the like — Hard pieces with sharp edges, such as wood chips, metals, stones, glasses, nails, pins or razors
— Powder to clot such as cement or toner
— Conductive dust such as metal or carbon
— Fine particle like concrete dust Such action may cause fire, injury and/or property damage. - Stop operation immediately if you notice anything abnormal.
- If you drop or strike the cleaner, check it carefully for cracks or damage before operation.
- Do not bring close to stoves or other heat sources.
- Do not block the intake hole or vent holes.
SAVE THESE INSTRUCTIONS.
Important safety instructions for battery cartridge
- Before using battery cartridge, read all instructions and cautionary markings on (1) battery charger, (2) battery, and (3) product using battery.
- Do not disassemble or tamper with the battery cartridge. It may result in a fire, excessive heat, or explosion.
- If operating time has become excessively shorter, stop operating immediately. It may result in a risk of overheating, possible burns and even an explosion.
- If electrolyte gets into your eyes, rinse them out with clear water and seek medical attention right away. It may result in loss of your eyesight.
- Do not short the battery cartridge:
(1) Do not touch the terminals with any conductive material.
(2) Avoid storing battery cartridge in a container with other metal objects such as nails, coins, etc.
(3) Do not expose battery cartridge to water or rain.
A battery short can cause a large current flow, overheating, possible burns and even a breakdown. - Do not store and use the tool and battery cartridge in locations where the temperature may reach or exceed 50 °C (122 °F).
- Do not incinerate the battery cartridge even if it is severely damaged or is completely worn out. The battery cartridge can explode in a fire.
- Do not nail, cut, crush, throw, drop the battery cartridge, or hit against a hard object to the battery cartridge. Such conduct may result in a fire, excessive heat, or explosion.
- Do not use a damaged battery.
- The contained lithium-ion batteries are subject to the Dangerous Goods Legislation requirements.
For commercial transports e.g. by third parties, forwarding agents, special requirement on packaging and labeling must be observed.
For preparation of the item being shipped, consulting an expert for hazardous material is required.
Please also observe possibly more detailed national regulations.
Tape or mask off open contacts and pack up the battery in such a manner that it cannot move around in the packaging. - When disposing the battery cartridge, remove it from the tool and dispose of it in a safe place. Follow your local regulations relating to disposal of battery.
- Use the batteries only with the products specified by Makita. Installing the batteries to non-compliant products may result in a fire, excessive heat, explosion, or leak of electrolyte.
- If the tool is not used for a long period of time, the battery must be removed from the tool.
- During and after use, the battery cartridge may take on heat which can cause burns or low temperature burns. Pay attention to the handling of hot battery cartridges.
- Do not touch the terminal of the tool immediately after use as it may get hot enough to cause burns.
- Do not allow chips, dust, or soil stuck into the terminals, holes, and grooves of the battery cartridge. It may cause heating, catching fire, burst and malfunction of the tool or battery cartridge, resulting in burns or personal injury.
- Unless the tool supports the use near high-voltage electrical power lines, do not use the battery cartridge near a high-voltage electrical power lines. It may result in a malfunction or breakdown of the tool or battery cartridge.
- Keep the battery away from children.
SAVE THESE INSTRUCTIONS.
CAUTION: Only use genuine Makita batteries.
Use of non-genuine Makita batteries, or batteries that have been altered, may result in the battery bursting causing fires, personal injury and damage. It will also void the Makita warranty for the Makita tool and charger.
Tips for maintaining maximum battery life
- Charge the battery cartridge before completely discharged. Always stop tool operation and charge the battery cartridge when you notice less tool power.
- Never recharge a fully charged battery cartridge.
Overcharging shortens the battery service life. - Charge the battery cartridge with room temperature at 10 °C – 40 °C (50 °F – 104 °F). Let a hot battery cartridge cool down before charging it.
- When not using the battery cartridge, remove it from the tool or the charger.
- Charge the battery cartridge if you do not use it for a long period (more than six months).
FUNCTIONAL DESCRIPTION
CAUTION: Always be sure that the tool is switched off and the battery cartridge is removed before adjusting or checking function on the tool.
CAUTION: Take care not to trap finger(s) between cleaner and battery as shown in diagram when loading battery. Trapping finger(s) may cause injury.
► Fig.1
Installing or removing battery cartridge
CAUTION: Always switch off the tool before installing or removing of the battery cartridge.
CAUTION: Hold the tool and the battery cartridge firmly when installing or removing battery cartridge. Failure to hold the tool and the battery cartridge firmly may cause them to slip off your hands and result in damage to the tool and battery cartridge and a personal injury.
► Fig.2: 1. Red indicator 2. Button 3. Battery cartridge
To remove the battery cartridge, slide it from the tool while sliding the button on the front of the cartridge.
To install the battery cartridge, align the tongue on the battery cartridge with the groove in the housing and slip it into place. Insert it all the way until it locks in place with a little click. If you can see the red indicator as shown in the figure, it is not locked completely.
CAUTION: Always install the battery cartridge fully until the red indicator cannot be seen. If not, it may accidentally fall out of the tool, causing injury to you or someone around you.
CAUTION: Do not install the battery cartridge forcibly. If the cartridge does not slide in easily, it is not being inserted correctly.
Battery protection system
The tool is equipped with a tool/battery protection system.
This system automatically cuts off power to the motor to extend tool and battery life. The tool will automatically stop during operation if the tool or battery is placed under one of the following conditions.
Overloaded:
The tool/battery is operated in a manner that causes it to draw an abnormally high current.
In this situation, turn the tool off and stop the application that caused the tool to become overloaded. Then turn the tool on to restart.
If the tool does not start, the battery is overheated. In this situation, let the battery cool before turning the tool on again.
Low battery voltage:
The remaining battery capacity is too low and the tool will not operate. In this situation, remove and recharge the battery.
Protections against other causes:
Protection system is also designed for other causes that could damage the tool and allows the tool to stop automatically. Take all the following steps to clear the causes, when the tool has been brought to a temporary halt or stop in operation.
- Turn the tool off, and then turn it on again to restart.
- Charge the battery(ies) or replace it/them with recharged battery(ies).
- Let the tool and battery(ies) cool down.
If no improvement can be found by restoring protection system, then contact your local Makita Service Center.
Indicating the remaining battery capacity
Press the check button on the battery cartridge to indicate the remaining battery capacity. The indicator lamps light up for a few seconds.
► Fig.3: 1. Indicator lamps 2. Check button

NOTE: Depending on the conditions of use and the ambient temperature, the indication may differ slightly from the actual capacity.
NOTE: The first (far left) indicator lamp will blink when the battery protection system works.
Switch action
► Fig.4: 1. Suction power change button 2. ON/OFF button
To start the cleaner, simply push the ON/OFF button. To switch off, push the ON/OFF button again.
You can change the suction power of the cleaner in four steps by pushing the suction power change button. Each push on this button repeats the Quiet/Normal/ High/Max mode in a cycle.

NOTE: You can change the suction power before turning on the cleaner.
NOTE: The cleaner starts the operation with the same suction power as the last operation.
Lighting up the lamp
CAUTION: Do not look in the light or see the source of light directly. To turn on the lamp, push the suction power change button. The lamp goes off in approximately 10 seconds. While the cleaner is running, the lamp turns on. The lamp goes out approximately 10 seconds after stopping operation.
NOTE: When the remaining battery capacity gets low, the lamp starts blinking. The timing, at which the lamp starts blinking depends on the temperature at work place and the battery cartridge conditions.
► Fig.5: 1. Suction power change button 2. ON/OFF button 3. Lamp
ASSEMBLY
CAUTION: Always be sure that the tool is switched off and the battery cartridge is removed before carrying out any work on the tool.
Dust bag and paper filter
Install either dust bag or paper filter before using cleaner. Use the dust stopper when installing either dust bag or paper filter. Dust bag are usable many times repeatedly by cleaning it out.
Paper filter is a throw-away type. Throw away the entire paper filter without emptying when it has become full.
NOTICE: To prevent dust from getting into the motor:
- Make sure that the dust bag or paper filter is installed before use.
- Insert the dust stopper together with the dust bag or paper filter all the way into the slots when installing them.
- Do not use a broken or ripped bag.
Otherwise the motor may be broken.
NOTICE: Do not fold the cardboard at its opening when installing the paper filter.
NOTICE: Never throw away the dust stopper because it needs to be used repeatedly whenever either the dust bag or the paper filter is used.
NOTICE: The paper filter for the cleaner is an important component for maintaining the tool performance. Using other than the genuine paper filter may cause smokes or ignition.
NOTE: When the dust bag or the paper filter is not installed in the cleaner, the front cover does not close completely.
► Fig.6
Installing dust bag
Use the dust stopper when installing dust bag. Be careful not to take the upper side for the lower side by mistake because they are different each other.
► Fig.7: 1. Upper side of dust stopper 2. Lower side of dust stopper
1. Insert the protrusion of the dust bag into the lower groove on the dust stopper as shown in the figure.
► Fig.8: 1. Dust stopper 2. Lower groove 3. Dust bag
There is no distinction between the upper and lower sides of the dust bag. You may insert its protrusion of either side into the lower groove of the dust stopper.
► Fig.9: 1. Lower groove
2. Overlap the frame of dust stopper with that of the dust bag.
► Fig.10
3. Place the dust stopper and the dust bag together into the cleaner cavity in the same direction of arrow on the dust stopper. Insert them all the way into the slots in the cleaner cavity.
► Fig.11
4. Spread the cloth part of the dust bag inside the cleaner.
► Fig.12
5. Close the front cover completely.
► Fig.13: 1. Front cover
Installing the paper filter
Use the dust stopper also when installing paper filter.
Be careful not to take the upper side for the lower side by mistake because they are different each other.
► Fig.14: 1. Upper side of dust stopper 2. Lower side of dust stopper
1. Unfold the entrance of the paper filter before setting it on the dust stopper.
► Fig.15
2. Insert the protrusion of the paper filter into the lower groove on the dust stopper as shown in the figure.
► Fig.16: 1. Dust stopper 2. Lower groove 3. Paper filter
There is no distinction between the upper and lower sides of the paper filter. You may insert its protrusion of any side into the lower groove of the dust stopper.
► Fig.17: 1. Lower groove
3. Overlap the frame of dust stopper with that of the paper filter.
► Fig.18
4. Place the dust stopper and the paper filter together into the cleaner cavity in the same direction of arrow on the dust stopper. Insert them all the way into the slots in the cleaner cavity.
► Fig.19
5. Spread the container part of the paper filter inside the cleaner.
► Fig.20
6. Close the front cover completely.
► Fig.21: 1. Front cover
OPERATION
CAUTION: Do not move your face close to the air vent when operating the cleaner. If foreign objects are blown into eyes, it may result in personal injury.
Installing and removing cleaner attachments
CAUTION: After installing attachments, check if they are securely installed. If the attachments are installed imperfectly, they may come off and cause personal injury.
CAUTION: Be careful not to hit your hand on the wall etc. when removing the attachments.
When using attachment with lock function
To install attachment, insert it to the suction inlet of the cleaner until it clicks. Make sure that the attachment is locked.
► Fig.22: 1. Suction inlet 2. Attachment with lock function 3. Hook
NOTICE: When installing the attachment with lock function, be sure to align the release button on the cleaner with the hook on the attachment. If they are not aligned, the attachment will not be locked and may come off from the cleaner.
To remove, pull the attachment while pushing the release button.
► Fig.23: 1. Release button 2. Attachment with lock function
When using attachment without lock function
NOTICE: To connect attachment without lock function, twist and insert it securely into the suction inlet of the cleaner. To disconnect the attachment, pull it away while twisting.
► Fig.24
Cleaning (Suction)
Nozzle
Attach the nozzle to clean off tables, desks, furniture, etc. The nozzle slips on easily.
► Fig.25: 1. Nozzle
Nozzle + Extension wand (Straight pipe)
The extension wand fits in between the nozzle and the cleaner itself. This arrangement is convenient for cleaning a floor in a standing position.
► Fig.26: 1. Cleaner body 2. Extension wand
3. Nozzle
Corner nozzle
Fit on the corner nozzle for cleaning corners and crevices of a car or furniture.
► Fig.27: 1. Corner nozzle 2. Cleaner body
You can store the corner nozzle in the nozzle holder.
► Fig.28: 1. Nozzle holder 2. Corner nozzle
CAUTION: Be careful not to trap finger(s) between the corner nozzle and the nozzle holder. Trapping finger(s) may cause injury.
Corner nozzle + Extension wand (Straight pipe)
In tight quarters where the cleaner itself cannot squeeze in, or in high places hard to reach, use this arrangement.
► Fig.29: 1. Corner nozzle 2. Extension wand 3. Cleaner body
Cleaning without nozzle
You can pick up powder and dust without nozzle.
► Fig.30
For picking up dust on a floor in a standing position, it is convenient to attach the extension wand (straight pipe) to the cleaner.
► Fig.31: 1. Extension wand (Straight pipe)
Disposing of dust
CAUTION: Empty the cleaner before it becomes too full, or the suction force weakens.
CAUTION: When closing the front cover, be careful not to pinch your fingers.
NOTICE: Never throw away the dust stopper because it should be used whenever either the dust bag or the paper filter is used.
NOTICE: When the dust bag/paper filter is not inside of the cleaner, the front cover does not close completely. Do not force to close the front cover. It may result in deforming or breakage of the tool.
NOTICE: When disposing of dust, also clean the room for the dust bag/paper filter. The remaining dust and dirt in the room may cause the sponge filter to be clogged or the motor to be damaged.
1. Push the button to open the front cover. Opening it until a click is heard allows a positive stop at that position.
► Fig.32: 1. Front cover 2. Button
2. Pull out both the orange-colored dust stopper and dust bag/paper filter together at the same time.
► Fig.33: 1. Dust stopper
3. Perform the procedures below depending on the dust container type:
When using the dust bag
Remove the dust stopper and empty the dust bag.
► Fig.34: 1. Dust stopper 2. Dust bag
When using the paper filter
Remove the dust stopper and dispose of the paper filter.
► Fig.35: 1. Dust stopper 2. Paper filter
4. Place the dust bag/new paper filter and dust stopper together into the cleaner and close the front cover.
NOTE: The cleaner is constructed in such a way that the front cover comes off when trying to force the front cover open at the angle of more than 90°. If the front cover comes off, insert it into the front cover joint in place.
► Fig.36: 1. Front cover 2. Front cover joint
MAINTENANCE
CAUTION: Always be sure that the tool is switched off and the battery cartridge is removed before attempting to perform inspection or maintenance.
To maintain product SAFETY and RELIABILITY, repairs, any other maintenance or adjustment should be performed by Makita Authorized or Factory Service Centers, always using Makita replacement parts.
After use
CAUTION: Putting the cleaner against the wall without any other support may cause the cleaner to fall down, resulting in personal injury or damage to the cleaner.
► Fig.37
Cleaning
CAUTION: Clean dust bags and filters when they become clogged. Continued use in the clogged condition may result in heating or fire.
NOTICE: Never use gasoline, benzine, thinner, alcohol or the like. Discoloration, deformation or cracks may result.
NOTICE: Do not blow dust sticking on the cleaner and filters by air duster. It brings dust into the housing and causes failure.
NOTICE: After washing dust bags and sponge filters, dry them thoroughly before use. Insufficiently dried filters may cause poor suction and shorten the service life of the motor.
NOTICE: After cleaning dust bags and sponge filters, be sure to re-install them before use. If you use the cleaner without dust bags and sponge filters, dust comes into the motor housing and cause malfunction.
Cleaner body
From time to time wipe off the outside (cleaner body) of the cleaner using a cloth dampened in soapy water. Clean out also the suction opening, dust bag/paper filter mounting area and the dust stopper.
► Fig.38
Dust bag
Wash the dust bag in soapy water when it is clogged with dust and the cleaner power becomes weak. Dry it out thoroughly before use. An insufficiently dried filter may cause poor suction and shorten the service life of the motor.
► Fig.39
NOTE: Paper filter is a throw-away type.
Dust stopper
Wipe dust off from the dust stopper.
Remove dust and dirt on the sponge part by lightly tapping it.
► Fig.40: 1. Sponge part
Removing and installing the sponge filter
CAUTION: After cleaning sponge filter, be sure to install it on the cleaner. If washed in water, dry it up before installing. An insufficiently dried sponge filter may shorten the service life of the motor. When the sponge filter is clogged with dust, remove it from the cleaner and then wipe it off or wash in water. To remove the sponge filter, remove the dust bag or paper filter and then pinch and take the sponge filter out.
► Fig.41: 1. Sponge filter
Press in the whole edge of the sponge filter against the recessed wall inside the dust bag/paper filter mounting area.
► Fig.42: 1. Recessed wall
Wall mount for cordless cleaner
Optional accessory
NOTE: The screw to mount the holder is not included.
Prepare a screw which fits with the material to screw into.
Attach the wall mount for cordless cleaner to a hard wooden wall, beam or column, where the wall mount for cordless cleaner can be firmly secured. Always be sure that the wall mount for cordless cleaner is securely attached before hanging the cleaner.
► Fig.43: 1. Wall mount for cordless cleaner
CAUTION: Do not hang the cleaner to the wall mount violently or hang other appliances than the cleaner.
Troubleshooting
Before asking for repairs, check the following points.

CAUTION: Do not attempt to repair the cleaner by yourself.
OPTIONAL ACCESSORIES
CAUTION: These accessories or attachments are recommended for use with your Makita tool specified in this manual. The use of any other accessories or attachments might present a risk of injury to persons. Only use accessory or attachment for its stated purpose.
If you need any assistance for more details regarding these accessories, ask your local Makita Service Center.
- Extension wand (Straight pipe)
- Nozzle
- Nozzle for carpet
- Shelf brush
- Corner nozzle
- Round brush
- Flexible hose
- Dust bag
- Paper filter
- Free nozzle
- Seat nozzle
- Crevice nozzle
- Wall mount for cordless cleaner
- Cyclone attachment
- Tool bag
- Makita genuine battery and charger
NOTE: Some items in the list may be included in the tool package as standard accessories. They may differ from country to country.
Cyclone attachment
► Fig.44: 1. Release button 2. Hook 3. Extension wand (Straight pipe) 4. Cyclone attachment 5. Suction inlet
About the cyclone attachment
Using the cleaner with the cyclone attachment installed reduces the amount of dust that enters the dust bag, which helps to prevent the suction force from weakening. In addition, cleaning after use is also simple.
CAUTION: Always be sure that the tool is switched off and the battery cartridge is removed
before carrying out any work on the tool. If the battery cartridge is left inserted, the cleaner may start unexpectedly and result in injury.
CAUTION: Clean the mesh filter of the cyclone attachment and the dust bag of the cleaner unit when they become clogged. Continued use in the clogged condition may result in heating or smoke.
NOTICE: When the cyclone attachment is attached, do not use the cleaner in the horizontal or upward facing condition. Doing so may cause the mesh filter to become clogged.
NOTICE: Always use the cleaner with the dust bag installed, even when using the cyclone attachment. Using the cleaner without the dust bag installed may result in a motor malfunction.
NOTE: Check that the cyclone attachment, cleaner, and extension wand (straight pipe) are locked properly before use.
NOTE: Empty the dust case of the cyclone attachment and the dust bag of the cleaner when dust has accumulated. Continued use will result in weakened suction force.
NOTE: You can also use the cyclone attachment without lock function.
NOTE: To install or remove the cyclone attachment, refer to the section “Installing and removing cleaner attachments”.
Disposing of dust
When dust has accumulated up to the full line of the dust case, follow the procedure below and dispose of the dust.
- Hold the dust case firmly, press and hold the two buttons, and remove the dust case.
► Fig.45: 1. Full line 2. Dust case 3. Button (two locations) 4. Mesh filter - Dispose of the dust inside the dust case and remove any dust and powder adhered to the surface of the mesh filter.
- Insert the dust case all the way until the two buttons lock with a click.
► Fig.46: 1. Dust case 2. Button (two locations)
CAUTION: When reassembling the dust case, be careful not to pinch your fingers.
NOTE: Check that the cyclone attachment, cleaner, and extension wand (straight pipe) are locked properly before restarting operation.
NOTE: If the suction force does not recover even after disposing of the dust and cleaning the mesh filter, check whether dust has accumulated in the dust bag of the cleaner or clogging has occurred.
NOTE: The dust may fly up when disposing from the cyclone attachment. Be careful not to let dust get into your eyes.
Cleaning
CAUTION: After washing the cyclone attachment, dry it thoroughly before use. Insufficiently dried components may cause an electrical shock or damage to the appliance.
When the dust case becomes dirty or the mesh filter is clogged, remove and wash them with water. (Refer to “Disposing of dust” for the removal procedure.)
Dry the parts thoroughly before reinstallation and use.
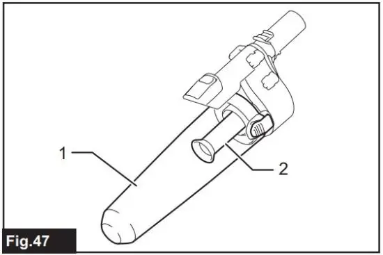
► Fig.47: 1. Dust case 2. Mesh filter
When the mesh filter gets dirty badly, clean it in the following procedures.
- Turn the mesh filter counterclockwise and remove it while the hooks are unlocked.
► Fig.48: 1. Mesh filter 2. Hook - Remove the dust on the mesh filter and then wash it with water. After that, dry it thoroughly.
- Insert the mesh filter into the base while the hooks are aligned with the port. Turn the mesh filter clockwise until the hooks are locked with a click. Make sure that the mesh filter is installed securely.
► Fig.49: 1. Mesh filter 2. Hook 3. Port
Makita Corporation
3-11-8, Sumiyoshi-cho,
Anjo, Aichi 446-8502 Japan
www.makita.com
Read More About This Manual & Download PDF:


















