makita CL108FD Cordless Cleaner

WARNING
- This appliance can be used by children aged from 8 years and above and persons with reduced physical, sensory or mental capabilities or lack of experience and knowledge if they have been given supervision or instruction concerning use of the appliance in a safe way and understand the hazards involved.
- Children shall not play with the appliance. Cleaning and user maintenance shall not be made by children without supervision.
- See the chapter “SPECIFICATIONS” for the type reference of the battery.
- See the section “Installing or removing battery cartridge” for how to remove or install the battery.
- When disposing the battery cartridge, remove it from the tool and dispose of it in a safe place. Follow your local regulations relating to disposal of battery.
- If the tool is not used for a long period of time, the battery must be removed from the tool.
- Do not short the battery cartridge.
- See the chapter “MAINTENANCE” for the appropriate details of precautions during user maintenance.
SPECIFICATIONS
Symbols
The followings show the symbols which may be used for the equipment. Be sure that you understand their meaning before use.
Read instruction manual.
![]() | Read instruction manual. |
Ni-MH Li-ion
Only for EU countries Due to the presence of hazardous components in the equipment, waste electrical and electronic equipment, accumulators and batteries may have a negative impact on the environment and human health. Do not dispose of electrical and electronic appliances or batteries with household waste! In accordance with the European Directive on waste electrical and electronic equipment and on accumulators and batteries and waste accumulators and batteries, as well as their adaptation to national law, waste electrical equipment, batteries and accumulators should be stored separately and delivered to a separate collection point for municipal waste, operating in accordance with the regulations on environmental protection. This is indicated by the symbol of the crossedout wheeled bin placed on the equipment.
Intended use
The tool is intended for collecting dry dust.
SAFETY WARNINGS
Cordless cleaner safety warnings
- Do not expose to rain. Store indoors.
- Do not allow to be used as a toy. Close attention is necessary when used by or near children.
- Use only as described in this manual. Use only manufacturer’s recommended attachments.
- Do not use with damaged battery. If appliance is not working as it should, has been dropped, damaged, left outdoors, or dropped into water, return it to a service center.
- Do not handle appliance with wet hands.
- Do not put any object into openings. Do not use with any opening blocked; keep free of dust, lint, hair, and anything that may reduce air flow.
- Keep hair, loose clothing, fingers, and all parts of body away from openings and moving parts.
- Turn off all controls before removing the battery.
- Use extra care when cleaning on stairs
- Do not use to pick up flammable or combustible liquids, such as gasoline, or use in areas where they may be present.
- Use only the charger supplied by the manufacturer to recharge.
- Do not pick up anything that is burning or smoking, such as cigarettes, matches, or hot ashes.
- Do not use without dust bag and/or filters in place.
- Do not charge the battery outdoors.
- Recharge only with the charger specified by the manufacturer. A charger that is suitable for one type of battery pack may create a risk of fire when used with another battery pack.
- Use power tools only with specifically designated battery packs. Use of any other battery packs may create a risk of injury and fire.
- When (the) battery pack is not in use, keep it away from other metal objects, like paper clips, coins, keys, nails, screws or other small metal objects, that can make a connection from one terminal to another.
- Under abusive conditions, liquid may be ejected from the battery; avoid contact. If contact accidentally occurs, flush with water.
- Do not use a battery pack or tool that is damaged or modified. Damaged or modified batteries may exhibit unpredictable behaviour resulting in fire, explosion or risk of injury.
- Do not expose a battery pack or tool to fire or excessive temperature. Exposure to fire or temperature above 130 °C may cause explosion.
- Follow all charging instructions and do not charge the battery pack or tool outside the temperature range specified in the instructions. Charging improperly or at temperatures outside the specified range may damage the battery and increase the risk of fire.
SAVE THESE INSTRUCTIONS.
ADDITIONAL SAFETY RULES
This appliance is intended for household use.
- Read this instruction manual and the charger instruction manual carefully before use.
- Do not pick up the following materials:
— Hot materials such as lit cigarettes or spark/ metal dust generated by grinding/cutting metal
— Flammable materials such as gasoline, thinner, benzine, kerosene or paint
— Explosive materials like nitroglycerin
— Ignitable materials such as Aluminum, zinc, magnesium, titanium, phosphorus or celluloid
— Wet dirt, water, oil or the like
— Hard pieces with sharp edges, such as wood chips, metals, stones, glasses, nails, pins or razors
— Powder to clot such as cement or toner
— Conductive dust such as metal or carbon
— Fine particle like concrete dust Such action may cause fire, injury and/or property damage. - Stop operation immediately if you notice anything abnormal.
- If you drop or strike the cleaner, check it carefully for cracks or damage before operation.
- Do not bring close to stoves or other heat sources.
- Do not block the intake hole or vent holes.
SAVE THESE INSTRUCTIONS.
Important safety instructions for battery cartridge
- Before using battery cartridge, read all instructions and cautionary markings on (1) battery charger, (2) battery, and (3) product using battery.
- Do not disassemble or tamper with the battery cartridge. It may result in a fire, excessive heat, or explosion.
- If operating time has become excessively shorter, stop operating immediately. It may result in a risk of overheating, possible burns and even an explosion.
- If electrolyte gets into your eyes, rinse them out with clear water and seek medical attention right away. It may result in loss of your eyesight.
- Do not short the battery cartridge:
(1) Do not touch the terminals with any conductive material.
(2) Avoid storing battery cartridge in a container with other metal objects such as nails, coins, etc.
(3) Do not expose battery cartridge to water or rain. A battery short can cause a large current flow, overheating, possible burns and even a breakdown. - Do not store and use the tool and battery cartridge in locations where the temperature may reach or exceed 50 °C (122 °F).
- Do not incinerate the battery cartridge even if it is severely damaged or is completely worn out. The battery cartridge can explode in a fire.
- Do not nail, cut, crush, throw, drop the battery cartridge, or hit against a hard object to the battery cartridge. Such conduct may result in a fire, excessive heat, or explosion
- Do not use a damaged battery.
- The contained lithium-ion batteries are subject to the Dangerous Goods Legislation requirements. For commercial transports e.g. by third parties, forwarding agents, special requirement on packaging and labeling must be observed. For preparation of the item being shipped, consulting an expert for hazardous material is required. Please also observe possibly more detailed national regulations. Tape or mask off open contacts and pack up the battery in such a manner that it cannot move around in the packaging
- When disposing the battery cartridge, remove it from the tool and dispose of it in a safe place. Follow your local regulations relating to disposal of battery.
- Use the batteries only with the products specified by Makita. Installing the batteries to non-compliant products may result in a fire, excessive heat, explosion, or leak of electrolyte
- If the tool is not used for a long period of time, the battery must be removed from the tool.
- During and after use, the battery cartridge may take on heat which can cause burns or low temperature burns. Pay attention to the handling of hot battery cartridges.
- Do not touch the terminal of the tool immediately after use as it may get hot enough to cause burns
- Do not allow chips, dust, or soil stuck into the terminals, holes, and grooves of the battery cartridge. It may result in poor performance or breakdown of the tool or battery cartridge
- Unless the tool supports the use near high-voltage electrical power lines, do not use the battery cartridge near high-voltage electrical power lines. It may result in a malfunction or breakdown of the tool or battery cartridge
- Keep the battery away from children.
SAVE THESE INSTRUCTIONS.
Tips for maintaining maximum battery life
- Charge the battery cartridge before completely discharged. Always stop tool operation and charge the battery cartridge when you notice less tool power.
- Never recharge a fully charged battery cartridge. Overcharging shortens the battery service life.
- Charge the battery cartridge with room temperature at 10 °C – 40 °C (50 °F – 104 °F). Let a hot battery cartridge cool down before charging it.
- When not using the battery cartridge, remove it from the tool or the charger.
FUNCTIONAL DESCRIPTION

Installing or removing batterycartridge

► 1. Red indicator 2. Button 3. Battery cartridge
To remove the battery cartridge, slide it from the tool while sliding the button on the front of the cartridge.
To install the battery cartridge, align the tongue on the battery cartridge with the groove in the housing and slip it into place. Insert it all the way until it locks in place with a little click. If you can see the red indicator as shown in the figure, it is not locked completely
Battery protection system
The tool is equipped with a battery protection system. This system automatically cuts off power to the motor to extend battery life. The tool will automatically stop during operation if the tool and/ or battery are placed under one of the following conditions:
Overloaded:
The tool is operated in a manner that causes it to draw an abnormally high current. In this situation, turn the tool off and stop the application that caused the tool to become overloaded. Then turn the tool on to restart.
Low battery voltage:
The remaining battery capacity is too low and the tool will not operate. If you turn the tool on, the motor runs again but stops soon. In this situation, remove and recharge the battery.
Indicating the remaining battery capacity
Only for battery cartridges with the indicator
► 1. Indicator lamps 2. Check button
Press the check button on the battery cartridge to indicate the remaining battery capacity. The indicator lamps light up for a few seconds.
| NOTE: Depending on the conditions of use and the ambient temperature, the indication may differ slightly from the actual capacity. |
Switch action

► 1. ON/speed change button 2. OFF button
To start the cleaner, simply push the ON/speed change button. To switch off, push the OFF button.
You can change the cleaner speed in three steps by pushing the ON/speed change button. The first push on this button is for high speed mode, the second push for max speed mode and the third push for normal speed mode. Each push on this button repeats the high/max/normal speed cycle alternatively.
Lighting up the lamp

► 1. ON/speed change button 2. OFF button 3. Lamp
To turn on the lamp, push the ON/speed change button. Push the OFF button to turn off the lamp. During the tool actuating, the lamp turns on.
When the remaining battery capacity gets low, the lamp starts blinking
| NOTE: The timing, at which the lamp starts blinking, depends on the temperature at work place and the battery cartridge conditions. |
ASSEMBLY
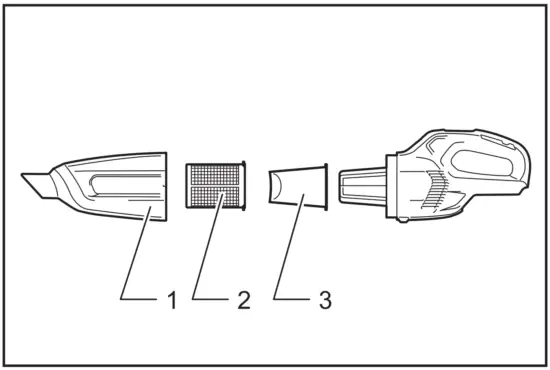
Type of filter

► 1. Capsule 2. Prefilter 3. Filter
High performance filter

► 1. Capsule 2. High performance filter
Disposing of dust
Disposing of dust for normal filter
In order to drop dust sticking on the filter in the capsule, tap the capsule 4 or 5 times with your hand.
► 1. Capsule 2. Suction inlet
Point the suction inlet downwards, turn the capsule in direction of the arrow as illustrated, and disconnect the capsule slowly and straight.
► 1. Capsule 2. Suction inlet
| NOTE: Be sure to set a garbage bag beneath the capsule, as dust may spill out when the capsule is opened. |
Remove accumulated dust from inside of the capsule and off of the prefilter.
► 1. Prefilter 2. Capsule
Twist the prefilter in direction of the arrow to unfasten the securing lip from the cleaner unit and then pull off the prefilter.
► 1. Prefilter 2. Securing lip
Clean out fine dust from the prefilter. And then, pull off the filter and lightly tap it to remove dust.
► 1. Filter 2. Prefilter
Disposing of dust for high performance filter
In order to drop dust sticking on the filter in the capsule, tap the capsule 4 or 5 times with your hand.
Now point suction inlet downwards, turn capsule in direction of arrow in diagram, and disconnect capsule slowly and straight.
► 1. Capsule 2. Suction inlet
| NOTE: Dust may spill out when capsule is opened, so be sure to set a garbage bag beneath capsule. |
Remove accumulated dust from inside of capsule and off of high performance filter.
► 1. Capsule 2. High performance filter
Twist high performance filter in direction of arrow to unfasten securing lip from cleaner unit and then pull off the filter.
► 1. Securing lip
Clean out the fine dust and lightly tap to dislodge dust from high performance filter.
Reassembly
Reassembly for normal filter
Put on the filter fully in position on the cleaner unit.
| NOTICE: Make sure the filter is put on straight without being peeled back. If the filter is put on incorrectly as illustrated, dust will get into the motor housing, and cause a motor failure. |

► 1. Filter
Install the prefilter. At this time, make sure to twist the prefilter so that the securing lip is firmly locked in the cleaner unit.
► 1. Prefilter 2. Securing lip

Install the capsule. Align the mark on the capsule with the mark near the handle and then firmly twist the capsule in direction of the arrow until it is secured.

► 1. Mark

► 1. Capsule 2. Handle 3. Mark
| NOTE: Always remove dust ahead of time, as the suction power will be reduced if there is too much dust in the cleaner. |
| NOTICE: Always be sure to check that both the filter and prefilter are loaded correctly prior to using the cleaner. If they are not loaded correctly, dust will get into the motor housing, and cause a motor failure. If the following examples occur, the filter and prefilter are not loaded correctly. Reload them correctly to rectify problem. |
Problem Examples
Example 1: Only the prefilter has been loaded (no filter)
► 1. Prefilter
Example 2: Only the filter has been loaded (no prefilter)
► 1. Filter
Example 3: The filter has been loaded in a peeled back state
► 1. Filter
Example 4: The securing lip on the prefilter is not firmly locked in the groove of cleaner housing
► 1. Securing lip 2. Prefilter 3. Groove of cleaner housing
Reassembly for high performance filter
Connect high performance filter. At this time, make sure to twist high performance filter so that securing lip is firmly locked into cleaner unit.
► 1. High performance filter 2. Securing lip

► 1. Securing lip
Install the capsule. Align the mark on the capsule with the mark near the handle and then firmly twist the capsule in direction of the arrow until it is secured.
► 1. Mark

► 1. Capsule 2. Handle 3. Mark
| NOTE: Always remove dust ahead of time, as suction power will be reduced if there is too much dust in cleaner. NOTE: Always be sure to check that high performance filter is loaded correctly prior to using cleaner. If they are not loaded correctly, dust will get into the motor housing, and cause motor failure. If the following examples occur, high performance filter is not loaded correctly. Reload them correctly to rectify problem. |
Problem Examples
Securing lip of high performance filter is not firmly locked into groove of cleaner housing.

► 1. Securing lip 2. Groove of cleaner housing
OPERATION

► 1. Capsule
Cleaning (Suction)
Nozzle
Attach the nozzle to clean off tables, desks, furniture, etc. The nozzle slips on easily.
► 1. Nozzle
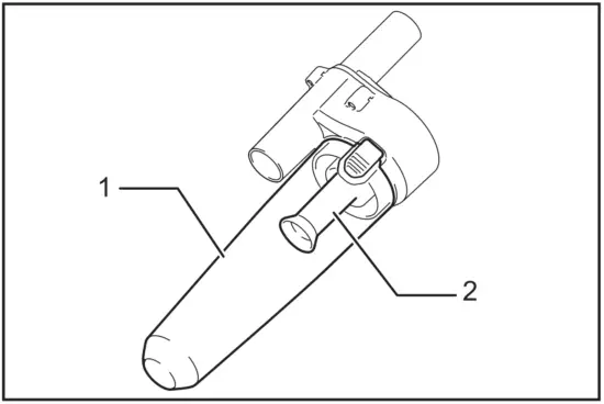
Nozzle + Extension wand (Straight pipe)
The extension wand fits in between the nozzle and the cleaner itself. This arrangement is convenient for cleaning a floor in a standing position.
► 1. Cleaner body 2. Extension wand 3. Nozzle
Corner nozzle
Fit on the corner nozzle for cleaning corners and crevices of a car or furniture.
Corner nozzle +Extension wand (Straight pipe)
In tight quarters where the cleaner itself cannot squeeze in, or in high places hard to reach, use this arrangement.
Cleaning without nozzle
You can pick up powder and dust without nozzle.
MAINTENANCE
After use
| NOTICE: Putting the cleaner against the wall without any other support cause the cleaner to fall down and be damaged. |

Cleaning
| NOTICE: Never use gasoline, benzine, thinner, alcohol or the like. Discoloration, deformation or cracks may result. NOTICE: Do not blow dust sticking on the cleaner and filters by air duster. It brings dust into the housing and causes failure. NOTICE: After washing filters, dry them thoroughly before use. Insufficiently dried filters may cause poor suction and shorten the service life of the motor. NOTICE: After cleaning filters and sponge filter, be sure to re-install them before use. If you use the cleaner without filters and sponge filter, dust comes into the motor housing and cause malfunction. |
Cleaner body
From time to time wipe off the outside (cleaner body) of the cleaner using a cloth dampened in soapy water.
Clean out also the suction opening and filter mounting area.
Filter
Wash the filter in soapy water when it is clogged with dust and the cleaner power becomes weak. Dry it out thoroughly before use.
Sponge filter
When the sponge filter becomes dirty, clean it as follows.
- Remove the filter.
- Pull out the sponge filter from between the pillars.
- Clean the sponge filter by tapping or washing. If you wash it, dry it out thoroughly before use.
- Insert the sponge filter from between the pillars and set it in the original position. Make sure that each bottom edge of the pillar holds down the sponge filter, and there is no gap between the sponge filter and suction opening.

► 1. Sponge filter 2. Bottom edge of pillar
Troubleshooting
Before asking for repairs, check the following points.
| Symptom | Area to be investigated | Fixing method |
| Weak suction power | Is the capsule full of dust? | Empty the capsule of dust. |
| Is the filter clogged? | Clean or wash the filter. | |
| Is the battery cartridge discharged? | Charge the battery cartridge. | |
| Not working | Is the battery cartridge discharged? | Charge the battery cartridge. |
To maintain product SAFETY and RELIABILITY, repairs, any other maintenance or adjustment should be performed by Makita Authorized or Factory Service Centers, always using Makita replacement parts.
OPTIONAL ACCESSORIES
If you need any assistance for more details regarding these accessories, ask your local Makita Service Center.
- Extension wand (Straight pipe)
- Nozzle
- Nozzle for carpet
- Shelf brush
- Corner nozzle
- Seat nozzle
- Free nozzle
- Crevice nozzle
- Round brush
- Flexible hose
- Filter
- Prefilter
- High performance filter
- Cyclone attachment
- Makita genuine battery and charger
| NOTE: Some items in the list may be included in the tool package as standard accessories. They may differ from country to country. |
Cyclone attachment

► 1. Straight pipe 2. Cyclone attachment 3. Suction inlet
About the cyclone attachment
Using the cleaner with the cyclone attachment installed reduces the amount of dust that enters the capsule, which helps to prevent the suction force from weakening. In addition, cleaning after use is also simple.
| NOTICE: When the cyclone attachment is attached, do not use the cleaner in the horizontal or upward facing condition. Doing so may cause the mesh filter to become clogged. NOTICE: Always use the cleaner with the filters installed, even when using the cyclone attachment. Using the cleaner without the filters installed may result in a motor malfunction. |
| NOTE: Check that the cyclone attachment, cleaner, and straight pipe are locked properly before use. “NOTE: Empty the dust case of the cyclone attachment and the capsule of the cleaner when dust has accumulated. Continued use will result in weakened suction force. |
Disposing of dust
When dust has accumulated up to the full line of the dust case, follow the procedure below and dispose of the dust.
- Hold the dust case firmly, press and hold the two buttons, and remove the dust case.

► 1. Full line 2. Dust case 3. Button (two locations) 4. Mesh filter - Dispose of the dust inside the dust case and remove any dust and powder adhered to the surface of the mesh filter.
- Insert the dust case all the way until the two buttons lock with a click.

► 1. Dust case 2. Button (two locations)
| NOTE: Check that the cyclone attachment, cleaner, and straight pipe are all firmly connected before restarting operation. NOTE: If the suction force does not recover even after disposing of the dust and cleaning the mesh filter, check whether dust has accumulated in the capsule of the cleaner or clogging has occurred. |
Cleaning
When the dust case becomes dirty or the mesh filter is clogged, remove and wash them with water. (Refer to “Disposing of dust” for the removal procedure.)
Dry the parts thoroughly before reinstallation and use.

► 1. Dust case 2. Mesh filter
When the mesh filter gets dirty badly, clean it in the following procedures.
- Turn the mesh filter counterclockwise and remove it while the hooks are unlocked.

► 1. Mesh filter 2. Hook - Remove the dust on the mesh filter and then wash it with water. After that, dry it thoroughly.
- Insert the mesh filter into the base while the hooks are aligned with the port. Turn the mesh filter clockwise until the hooks are locked with a click. Make sure that the mesh filter is installed securely.

► 1. Mesh filter 2. Hook 3. Port
Makita Europe N.V.
Jan-Baptist Vinkstraat 2,
3070 Kortenberg, Belgium
Makita Corporation
3-11-8, Sumiyoshi-cho,
Anjo, Aichi 446-8502 Japan
























