makita DCL286F Cordless Cleaner

Product Information
The EN Cordless Cleaner is a dry dust collecting tool that comes with a 250 mL or 400 mL capacity (depending on the country). It has four different speed modes: Quiet mode, Normal speed mode, High speed mode, and Max speed mode. The continuous use time varies according to the mode selected. It has an overall length of 1,106 mm and a net weight ranging from 1.6 – 2.0 kg. The tool has a D.C. 18 V rated voltage and can be used with a range of battery cartridges such as BL1815N, BL1820B, BL1830B, BL1840B, BL1850B, and BL1860B. It can be charged using chargers like DC18RC, DC18RD, DC18RE, DC18SD, DC18SE, DC18SF, DC18SH, and DC18WC.
Product Usage Instructions
Before using the EN Cordless Cleaner, it is important to read the instruction manual and understand the meaning of the symbols used in the equipment. Follow all safety warnings and instructions to avoid electric shock, fire, and/or serious injury.
- Store the tool indoors and do not expose it to rain.
- Do not use the tool as a toy.
- Turn off all controls before removing the battery.
- Use extra care when cleaning on stairs.
- Do not use to pick up flammable or combustible liquids such as gasoline or use in areas where they may be present.
- Use only the charger supplied by the manufacturer to recharge.
- Do not pick up anything that is burning or smoking, such as cigarettes, matches, or hot ashes.
- Do not use without dust bag and/or filters in place.
- Do not charge the battery outdoors.
- Recharge only with the charger specified by the manufacturer. A charger that is suitable for one type of battery pack may create a risk of fire when used with another battery pack.
- Use appliances only with specifically designated battery packs. Use of any other battery packs may create a risk of injury and fire.
- When the battery pack is not in use, keep it away from other metal objects like paper clips, coins, keys, nails, screws, or other small metal objects that can make a connection from one terminal to another.
- Under abusive conditions, liquid may be ejected from the battery. Avoid contact and if contact accidentally occurs, flush with water.
WARNING
- This appliance can be used by children aged from 8 years and above and persons with reduced physical, sen-sory or mental capabilities or lack of experience and knowledge if they have been given supervision or instruc-tion concerning use of the appliance in a safe way and understand the hazards involved.
- Children shall not play with the appliance. Cleaning and user maintenance shall not be made by children with-out supervision.
- See the chapter “SPECIFICATIONS” for the type reference of the battery.
- See the section “Installing or removing battery cartridge” for how to remove or install the battery.
- When disposing the battery cartridge, remove it from the tool and dispose of it in a safe place. Follow your local regulations relating to disposal of battery.
- If the tool is not used for a long period of time, the battery must be removed from the tool.
- Do not short the battery cartridge.
- See the chapter “MAINTENANCE” for the appropriate details of precautions during user maintenance.
SPECIFICATIONS
| Model: | DCL286F | |
| Capacity | 250 mL / 400 mL (country specific) | |
| Continuous use (with bat- tery BL1830B) | 1 (Quiet mode) | Approx. 38 min |
| 2 (Normal speed mode) | Approx. 21 min | |
| 3 (High speed mode) | Approx. 15 min | |
| 4 (Max speed mode) | Approx. 8 min | |
| Overall length (with pipe, nozzle, and battery BL1830B) | 1,106 mm | |
| Rated voltage | D.C. 18 V | |
| Net weight | 1.6 – 2.0 kg | |
- Due to our continuing program of research and development, the specifications herein are subject to change without notice.
- Specifications may differ from country to country.
- The weight does not include accessories but battery cartridge(s). The lightest and heaviest combination weight of the appliance and battery cartridge(s) are shown in the table.
Applicable battery cartridge and charger
| Battery cartridge | BL1815N / BL1820B / BL1830B / BL1840B / BL1850B / BL1860B |
| Charger | DC18RC / DC18RD / DC18RE / DC18SD / DC18SE / DC18SF / DC18SH / DC18WC |
- Some of the battery cartridges and chargers listed above may not be available depending on your region of residence.
WARNING: Only use the battery cartridges and chargers listed above. Use of any other battery cartridges and chargers may cause injury and/or fire.
Symbols
The followings show the symbols which may be used for the equipment. Be sure that you understand their meaning before use.
Read the instruction manual.
A representative battery applicable to this product.
- Only for EU countries
- Due to the presence of hazardous com-ponents in the equipment, waste electrical and electronic equipment, accumulators and batteries may have a negative impact on the environment and human health. Do not dispose of electrical and
- electronic appliances or batteries with household waste!
- In accordance with the European Directive on waste electrical and electronic equip-ment and on accumulators and batteries and waste accumulators and batteries, as well as their adaptation to national law, waste electrical equipment, batteries and accumulators should be stored separately and delivered to a separate collection point for municipal waste, operating in accor-dance with the regulations on environmen-tal protection.
- This is indicated by the symbol of the crossed-out wheeled bin placed on the equipment.
Intended use
The tool is intended for collecting dry dust.
SAFETY WARNINGS
Cordless cleaner safety warnings
WARNING: IMPORTANT! READ CAREFULLY all safety warnings and all instructions BEFORE USE. Failure to follow the warnings and instructions may result in electric shock, fire and/or serious injury.
- Do not expose to rain. Store indoors.
- Do not allow to be used as a toy. Close attention is necessary when used by or near children.
- Use only as described in this manual. Use only manufacturer’s recommended attachments.
- Do not use with damaged battery. If appliance is not working as it should, has been dropped, damaged, left outdoors, or dropped into water, return it to a service center.
- Do not handle appliance with wet hands.
- Do not put any object into openings. Do not use with any opening blocked; keep free of dust, lint, hair, and anything that may reduce air flow.
- Keep hair, loose clothing, fingers, and all parts of body away from openings and moving parts.
- Turn off all controls before removing the battery.
- Use extra care when cleaning on stairs.
- Do not use to pick up flammable or combusti-ble liquids, such as gasoline, or use in areas where they may be present.
- Use only the charger supplied by the manufac-turer to recharge.
- Do not pick up anything that is burning or smoking, such as cigarettes, matches, or hot ashes.
- Do not use without dust bag and/or filters in place.
- Do not charge the battery outdoors.
- Recharge only with the charger specified by the manufacturer. A charger that is suitable for one type of battery pack may create a risk of fire when used with another battery pack.
- Use appliances only with specifically desig-nated battery packs. Use of any other battery packs may create a risk of injury and fire.
- When (the) battery pack is not in use, keep
it away from other metal objects, like paper clips, coins, keys, nails, screws or other small metal objects, that can make a connection from one terminal to another. - Under abusive conditions, liquid may be ejected from the battery; avoid contact. If con-tact accidentally occurs, flush with water.
- Do not use a battery pack or appliance that is damaged or modified. Damaged or modified batteries may exhibit unpredictable behaviour resulting in fire, explosion or risk of injury.
- Do not expose a battery pack or appliance
to fire or excessive temperature. Exposure
to fire or temperature above 130 °C may cause explosion. - Follow all charging instructions and do not charge the battery pack or appliance outside the temperature range specified in the instruc-tions. Charging improperly or at temperatures outside the specified range may damage the battery and increase the risk of fire.
SAVE THESE INSTRUCTIONS.
ADDITIONAL SAFETY RULES
This appliance is intended for household use.
- Read this instruction manual and the charger instruction manual carefully before use.
- Do not pick up the following materials:
- Hot substances that are burning or smok-ing (cigarettes, matches, incense sticks, candles, hot ashes), sparks and metal dust generated by cutting or grinding metal, etc.
- Flammable liquid (kerosene, gasoline, solvents such as benzine, thinner, etc.)
- Flammable material (toner, paint, spray, etc.)
- Explosive or pyrophoric substances (nitroglycerin, aluminum, magnesium, titanium, zinc, red phosphorus, yellow phosphorus, celluloid, etc. and their dust, gas or steam)
- Liquid, oil, wet dirt or damp garbage, including vomit and excreta
- Hard pieces with sharp edges (wood chips, metals, stones, glasses, nails, pins, razors or cutlery)
- Solidifying and conductive fine powder (metal or carbon powder)
- Foam like carpet cleaning agent, etc. (they may cause explosion or fire)
- Large amount of powder (flour, fire extinguisher powder, etc.)
- Substances that cause toxic symptoms
- Aggressive chemicals (acid, alkali, etc.)
- Fine binding powder such as cement
- Fine particle like concrete dust
- Desiccants
- Asbestos
- Pesticides
Such action may cause fire, injury and/or property damage. To reduce your exposure to these chemicals, always wear approved respiratory protection such as dust masks that are specially designed to filter out microscopic particles. Direct the exhaust air away from your face and body.
- Stop operation immediately if you notice anything abnormal.
- If you drop or strike the cleaner, check it carefully for cracks or damage before operation.
- Do not bring close to stoves or other heat sources.
- Do not block the intake hole or vent holes
SAVE THESE INSTRUCTIONS.
Important safety instructions for battery cartridge
- Before using battery cartridge, read all instruc-tions and cautionary markings on (1) battery charger, (2) battery, and (3) product using battery.
- Do not disassemble or tamper with the battery cartridge. It may result in a fire, excessive heat, or explosion.
- If operating time has become excessively shorter, stop operating immediately. It may result in a risk of overheating, possible burns and even an explosion.
- If electrolyte gets into your eyes, rinse them out with clear water and seek medical atten-tion right away. It may result in loss of your eyesight.
- Do not short the battery cartridge:
- Do not touch the terminals with any conductive material.
- Avoid storing battery cartridge in a container with other metal objects such as nails, coins, etc.
- Do not expose battery cartridge to water or rain.
A battery short can cause a large current flow, overheating, possible burns and even a breakdown.
- Do not store and use the tool and battery cartridge in locations where the temperature may reach or exceed 50 °C (122 °F).
- Do not incinerate the battery cartridge even if it is severely damaged or is completely worn out. The battery cartridge can explode in a fire.
- Do not nail, cut, crush, throw, drop the battery cartridge, or hit against a hard object to the battery cartridge. Such conduct may result in a fire, excessive heat, or explosion.
- Do not use a damaged battery.
- The contained lithium-ion batteries are subject to the Dangerous Goods Legislation requirements. For commercial transports e.g. by third parties, forwarding agents, special requirement on packaging and labeling must be observed. For preparation of the item being shipped, consulting an expert for hazardous material is required. Please also observe possibly more detailed national regulations. Tape or mask off open contacts and pack up the battery in such a manner that it cannot move around in the packaging.
- When disposing the battery cartridge, remove it from the tool and dispose of it in a safe place. Follow your local regulations relating to disposal of battery.
- Use the batteries only with the products specified by Makita. Installing the batteries to non-compliant products may result in a fire, excessive heat, explosion, or leak of electrolyte.
- If the tool is not used for a long period of time, the battery must be removed from the tool.
- During and after use, the battery cartridge may take on heat which can cause burns or low temperature burns. Pay attention to the handling of hot battery cartridges.
- Do not touch the terminal of the tool immediately after use as it may get hot enough to cause burns.
- Do not allow chips, dust, or soil stuck into the terminals, holes, and grooves of the battery cartridge. It may cause heating, catching fire, burst and malfunction of the tool or battery cartridge, resulting in burns or personal injury.
- Unless the tool supports the use near high-voltage electrical power lines, do not use the battery cartridge near high-voltage electrical power lines. It may result in a malfunction or breakdown of the tool or battery cartridge.
- Keep the battery away from children.
SAVE THESE INSTRUCTIONS
CAUTION: Only use genuine Makita batteries. Use of non-genuine Makita batteries, or batteries that have been altered, may result in the battery bursting causing fires, personal injury and damage. It will also void the Makita warranty for the Makita tool and charger.
Tips for maintaining maximum battery life
- Charge the battery cartridge before completely discharged. Always stop tool operation and charge the battery cartridge when you notice less tool power.
- Never recharge a fully charged battery car-tridge. Overcharging shortens the battery service life.
- Charge the battery cartridge with room tem-perature at 10 °C – 40 °C (50 °F – 104 °F). Let a hot battery cartridge cool down before charging it.
- When not using the battery cartridge, remove it from the tool or the charger.
- Charge the battery cartridge if you do not use it for a long period (more than six months).
FUNCTIONAL DESCRIPTION
CAUTION: Always be sure that the tool is switched off and the battery cartridge is removed before adjusting or checking function on the tool.
CAUTION: Take care not to trap finger(s) between cleaner and battery as shown in diagram when loading battery. Trapping finger(s) may cause injury. Fig.1

Installing or removing battery cartridge
CAUTION: Always switch off the tool before installing or removing of the battery cartridge.
CAUTION: Hold the tool and the battery car-tridge firmly when installing or removing battery cartridge. Failure to hold the tool and the battery cartridge firmly may cause them to slip off your hands and result in damage to the tool and battery cartridge and a personal injury.
To remove the battery cartridge, slide it from the tool while sliding the button on the front of the cartridge.
Fig.2: 1. Red indicator 2. Button 3. Battery cartridge
To install the battery cartridge, align the tongue on the battery cartridge with the groove in the housing and slip it into place. Insert it all the way until it locks in place with a little click. If you can see the red indicator as shown in the figure, it is not locked completely.
CAUTION: Always install the battery cartridge fully until the red indicator cannot be seen. If not, it may accidentally fall out of the tool, causing injury to you or someone around you.
CAUTION: Do not install the battery cartridge forcibly. If the cartridge does not slide in easily, it is not being inserted correctly.
Tool / battery protection system
The tool is equipped with tool/battery protection system. This system automatically cuts off power to the motor to extend tool and battery life. The tool will automatically stop during operation if the tool or battery is placed under one of the following conditions.
Overloaded:
The tool/battery is operated in a manner that causes it to draw an abnormally high current.
In this situation, turn the tool off and stop the application that caused the tool to become overloaded. Then turn the tool on to restart.
Overheated:
The tool/battery is overheated. In this situation, let the tool/battery cool before turning the tool on again.
Low battery voltage:
The remaining battery capacity is too low and the tool will not operate. In this situation, remove and recharge the battery.
Protections against other causes:
Protection system is also designed for other causes that could damage the tool and allows the tool to stop automatically. Take all the following steps to clear the causes, when the tool has been brought to a temporary halt or stop in operation.
- Turn the tool off, and then turn it on again to restart.
- Charge the battery(ies) or replace it/them with recharged battery(ies).
- Let the tool and battery(ies) cool down.
If no improvement can be found by restoring protection system, then contact your local Makita Service Center.
Indicating the remaining battery capacity
Only for battery cartridges with the indicator Fig.3:
- Indicator lamps
- Check button
Press the check button on the battery cartridge to indi-cate the remaining battery capacity. The indicator lamps light up for a few seconds.
NOTE: Depending on the conditions of use and the ambient temperature, the indication may differ slightly from the actual capacity.
NOTE: The first (far left) indicator lamp will blink when the battery protection system works.
Switch action
Fig.4:
- Suction power change button
- ON/OFF button
To start the cleaner, simply push the ON/OFF button.
To switch off, push the ON/OFF button again.
You can change the suction power of the cleaner in four steps by pushing the suction power change button. Each push on this button repeats the Quiet/Normal/High/Max mode in a cycle.
- NOTE: You can change the suction power before turning on the cleaner.
- NOTE: The cleaner starts the operation with the same suction power as the last operation.
Lighting up the lamp
CAUTION: Do not look in the light or see the source of light directly.
- To turn on the lamp, push the suction power change button. The lamp goes off in approximately 10 seconds. While the cleaner is running, the lamp turns on.
- The lamp goes out approximately 10 seconds after stopping operation.
NOTE: When the remaining battery capacity gets low, the lamp starts blinking. The timing, at which the lamp starts blinking depends on the temperature at work place and the battery cartridge conditions.
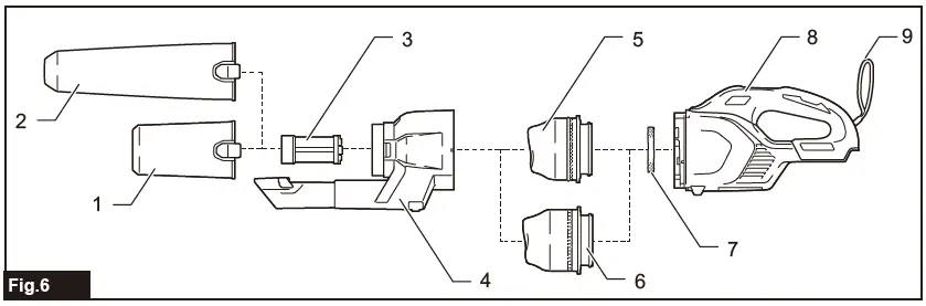
PARTS DESCRIPTION
| 1 | 250 mL dust case (Optional accessory) | 2 | 400 mL dust case (Optional accessory) | 3 | Mesh filter | 4 | Cyclone body |
| 5 | High performance filter (Filter frame in gray color) (Optional accessory) | 6 | HEPA filter (Filter frame in white color) (Optional accessory) | 7 | Sponge sheet | 8 | Cleaner body |
| 9 | Hand strap (Country specific) | – | – | – | – | – | – |
ASSEMBLY
CAUTION: Always be sure that the tool is switched off and the battery cartridge is removed before carrying out any work on the tool.
NOTICE: Make sure all the attachments and components are secured in place properly before use.
Installing and removing cleaner attachments
CAUTION: After installing attachments, check if they are securely installed. If the attachments are installed imperfectly, they may come off and cause personal injury.
CAUTION: Be careful not to hit your hand on the wall etc. when removing the attachments.
When using attachment with lock function
To install attachment, insert it to the suction inlet of the cleaner until it clicks. Make sure that the attachment is locked.
Fig.7:
- Suction inlet
- Attachment with lock function
- Hook
- Release button
NOTICE: When installing the attachment with lock function, be sure to align the release button on the cleaner with the hook on the attachment. If they are not aligned, the attachment will not be locked and may come off from the cleaner.
To remove attachment, pull it off the cleaner while pressing and holding the arms of the release button. ► Fig.8:
- Release button
- Arm of release button
- Attachment with lock function 4. Suction inlet
When using attachment without lock function
NOTICE: To install attachment without lock func-tion, insert it into the suction inlet of the cleaner by twisting it as shown in the figure. To detach attachment, release it from the cleaner by twist-ing it as shown in the figure. Avoid twisting the attachment in the direction opposite to the arrow in the figure as it may loosen the cyclone unit. Fig.9
OPERATION
CAUTION: Do not move your face close to the air vent when operating the cleaner. If foreign objects are blown into eyes, it may result in personal injury.
NOTICE: Avoid using the cleaner in a horizontal or upward facing position. It may otherwise cause the mesh filter to become clogged.
NOTICE: Always use the cleaner with filters installed. Using the cleaner without filters may result in a motor malfunction.
NOTICE: Empty the dust case in the cyclone unit when dust has accumulated. Continuing use will result in weakened suction force.
The cyclone unit helps reduce the amount of dust that enters into the cleaner, enhancing the suction perfor-mance with simple and easy dust disposing.
Cleaning (Suction)
Nozzle
With 250 mL dust case only
Attach the nozzle to clean off tables, desks, furniture, etc. The nozzle slips on easily. Fig.10:
- Nozzle
Nozzle + Extension wand (Straight pipe)
The extension wand fits in between the nozzle and the cleaner itself. This arrangement is convenient for clean-ing a floor in a standing position.
Fig.11:
- Cleaner body
- Extension wand (Straight pipe)
- Nozzle
Sash nozzle
Fit on the sash nozzle for cleaning corners and crevices of a car or furniture.
► Fig.12:
- Sash nozzle
- Cleaner body You can store the sash nozzle in the nozzle holder.
► Fig.13:
- Nozzle holder
- Sash nozzle
CAUTION: Be careful not to trap finger(s) between the sash nozzle and the nozzle holder. Trapping finger(s) may cause injury.
Sash nozzle + Extension wand (Straight pipe)
In tight quarters where the cleaner itself cannot squeeze in, or in high places hard to reach, use this arrangement.
Fig.14:
- Sash nozzle
- Extension wand (Straight pipe)
- Cleaner body
Cleaning without nozzle
With 250 mL dust case only
You can pick up powder and dust without nozzle.
For picking up dust on a floor in a standing position, it is convenient to attach the extension wand to the cleaner.
Fig.16:
- Extension wand (Straight pipe)
Disposing of dust
CAUTION: Empty the dust case before it becomes too full, or the suction force weakens.
CAUTION: Be careful not to trap finger(s) between the dust case and cyclone body when reassembling.
Dispose of accumulated dust as follows before it exceeds the dust disposal line.
- Point the cleaner head downwards, hold the dust case firmly, and then pull it apart from the cyclone body while pressing and holding the release buttons on both sides of the dust case.
► Fig.17:
- Dust disposal line
- Dust case
- Release buttons 4. Mesh filter
- Empty the dust case and clean the adhered dust off the mesh filter. Fig.18

- Place the dust case back onto the cyclone body to secure it in place with clicks.
Fig.19:
- Dust case
- Release buttons
- Cyclone body
CAUTION: The dust may fly up when dis-posed out of the dust case. Be careful not to let the dust get into your eyes.
NOTICE: When the dust case becomes dirty, remove and wash it with water. Dry the dust case thoroughly before reassembly and use.
NOTICE: Make sure all the attachments and components are secured in place properly before use.
NOTICE: If the suction force does not recover even after disposing of the dust and cleaning the mesh filter, check whether dust has accumulated inside the cyclone body or clogging has occurred.
MAINTENANCE
CAUTION: Always be sure that the tool is switched off and the battery cartridge is removed before attempting to perform inspection or maintenance.
NOTICE: Never use gasoline, benzine, thinner, alcohol or the like. Discoloration, deformation or cracks may result.
To maintain product SAFETY and RELIABILITY, repairs, any other maintenance or adjustment should be performed by Makita Authorized or Factory Service Centers, always using Makita replacement parts.
After use
CAUTION: Putting the cleaner against the wall without any other support may cause the cleaner to fall down, resulting in personal injury or damage to the cleaner. Fig.20
Regular maintenance
NOTICE: Clean the filters in the cyclone unit when they become clogged. Continuing use in the clogged condition may result in heating or motor malfunction.
NOTICE: Do not blow dust sticking on the cleaner and filters by air duster. It brings dust into the housing and causes failure.
Routine maintenance is required to restore normal operating conditions.
Cleaner body
Wipe off the outside (cleaner body) of the cleaner using a cloth dampened in soapy water, and clean out the suction openings.
Cyclone unit and filters
NOTICE: Dust off and clean out inside the cyclone unit and filters, when suction perfor-mance becomes less effective regardless of the amount of dust collected in the dust case.
NOTICE: After washing filters, dry them thor-oughly before use. Insufficiently dried filters may cause poor suction and shorten the service life of the motor.
NOTICE: After cleaning filters and sponge sheet, be sure to re-install them before use. If you use the cleaner without filters and sponge sheet, dust comes into the motor housing and causes malfunction.
Cyclone unit
Tap the cyclone unit several times with your hand to remove dust adhering to the inner surface of the cyclone unit and filter. Fig.22:- Cyclone unit
- With the suction inlet pointing downwards, turn the cyclone unit as shown in the figure aligning the pointer on the cyclone unit with that on the cleaner body to disengage the lock. Then detach the cyclone unit from the cleaner body slowly and straightly. ► Fig.23:

- Cyclone unit
- Suction inlet
- Pointers
- Filter
NOTE: Dust may fly out when the cyclone unit is disassembled. It is recommended to place a garbage bag underneath the cyclone unit.
- Dust off inside the cyclone unit and filter. Fig.24

- Place the cyclone unit back onto the cleaner body, aligning the pointer on the cyclone unit with that on the cleaner body. Then turn the cyclone unit as shown in the figure until it is secured in place.► Fig.25:

- Cyclone unit
- Cleaner body
- Pointers
High performance filter
Optional accessory
- Disassemble the cyclone unit from the cleaner body.
- Hold the mounting end of high performance filter and pull it apart from the cleaner body. ► Fig.26:

- High performance filter
- Cleaner body
- Wipe and shake dust off the high performance filter by hand. ► Fig.27

- Wash the high performance filter in soapy water when it is clogged with dust and dirt. Dry it out thoroughly in the shade before use. ► Fig.28
NOTE: Avoid fastening the attachment end (rubber sealing ring) of high performance filter when hanging it up for drying. - Hold the mounting end of high performance filter and squeeze it back into the cleaner body. ► Fig.29:

- High performance filter
- Cleaner body
HEPA filter
Optional accessory
NOTICE: Do not rub or scratch the HEPA filter with hard objects such as a brush and a paddle.
- Disassemble the cyclone unit from the cleaner body.
- Hold the mounting end of HEPA filter (covered with high performance prefilter) and pull it apart from the cleaner body. ► Fig.30:

- HEPA filter (covered with high performance prefilter)
- Cleaner body
- Disassemble the high performance prefilter from the HEPA filter by hand twisting. ► Fig.31:

- High performance prefilter
- HEPA filter
- Wipe and shake dust off the high performance prefilter and HEPA filter by hand. ► Fig.32

- Wash the high performance prefilter and HEPA filter in soapy water. Rinse and dry them thoroughly in the shade before use. ► Fig.33
NOTE: Avoid fastening the attachment end (rubber sealing ring) of HEPA filter when hanging it up for drying. - Attach the high performance prefilter onto the HEPA filter. ► Fig.34:
High performance prefilter- HEPA filter
- Hold the mounting end of HEPA filter (covered with high performance prefilter) and squeeze it back into the cleaner body.
► Fig.35:
- HEPA filter (covered with the high performance prefilter)
- Cleaner body
Sponge sheet
- Disassemble the cyclone unit from the cleaner body.
- Hold the mounting end of filter and pull it apart from the cleaner body. ► Fig.36:

- Filter
- Cleaner body
- Pull the sponge sheet off from the suction opening. ► Fig.37:
Sponge sheet- Suction opening
- Wipe and shake dust off the sponge sheet by hand. ► Fig.38

- Wash the sponge sheet in soapy water when it isclogged with dust and dirt. Dry it out thoroughly in the shade before use. ► Fig.39

- Place the sponge sheet back in the original position. Make sure that the left and right edges of the sponge sheet are secured with stoppers and no gap between the sponge sheet and suction opening. ► Fig.40:

- Sponge sheet
- Stopper
- Suction opening
- Hold the mounting end of filter and squeeze it back into the cleaner body. ► Fig.41:

- Filter
- Cleaner body
Condition-based maintenance
NOTICE: Clean the mesh filter in the cyclone unit when they become clogged. Continuing use in the clogged condition may result in heating or motor malfunction. Deep and spot cleaning needs to be carried out according to your tool performance.
Mesh filter
Clean up the mesh filter placed in the cyclone unit when no suggested improvement on suction performance has been found after completing regular maintenance.
- Hold the dust case firmly and pull it apart from the cyclone body while pressing and holding the release buttons on both sides of the dust case. ► Fig.42:

- Dust case
- Cyclone body
- Release buttons
- Turn the mesh filter as shown in the figure to disengage the lock. Then detach it from the cyclone body. ► Fig.43:

- Mesh filter
- Disassemble the mesh filter into three components: prefilter, tubular sponge filter and mesh pipe.
- Squeeze the guide stoppers on top of the mesh pipe together.
- Pass the guide stoppers down through the guide hole on top of the prefilter.
- Pull the prefilter along the tubular sponge filter and mesh pipe.
- Remove the tubular sponge filter from the mesh pipe. ► Fig.44:
- Prefilter
- Tubular sponge filter
- Mesh pipe
- Guide stoppers
- Guide hole

- Wipe and shake dust off the filters and mesh pipe by hand. ► Fig.45

- Wash the filters and mesh pipe in soapy water when they are clogged with dust and dirt. Dry them out thoroughly in the shade before use. ► Fig.46

- Reassemble the mesh filter.
- Insert the tubular sponge filter into the prefilter.
- Insert the mesh pipe into the tubular sponge filter and prefilter, passing the guide stoppers on top of the mesh pipe through the guide hole on top of the prefilter.
Push the mesh pipe through the tubular sponge filter and prefilter until it lock in place with a click. ► Fig.47:
- Prefilter
- Tubular sponge filter
- Mesh pipe
- Guide stoppers
- Guide hole
- Attach the mesh filter back into the cyclone body aligning the hooks on the mesh filter with the ports on the suction outlet of the cyclone body. Turn the mesh filter as shown in the figure until the hooks are locked with a click. Make sure that the mesh filter is installed securely. ► Fig.48:

- Mesh filter
- Cyclone body
- Hook
Air channels in cyclone unit
Incoming foreign substance may block the air channels in the cyclone unit and laden air flows. Remove any obstacles in the air path if the suction performance is being affected remarkably.
- Disassemble the cyclone unit into three components: dust case, mesh filter and cyclone body. ► Fig.49:

- Dust case
- Mesh filter
- Cyclone body
- Cleaner body
- Press and hold the guide stopper on the inlet pipe down through the locking hole on the cyclone body using the hand tool with a point. Then detach the inlet pipe from the cyclone body. ► Fig.50:

- Inlet pipe
- Guide stopper
- Cyclone body
- Locking hole
- Clean off any substance found in the air channels. Foreign substance is likely to get stuck around an incoming air port. ► Fig.51:
Suction inlet- Incoming air port
- Insert the inlet pipe back in place until it is securely locked. ► Fig.52:

- Inlet pipe
- Cyclone body
- O-ring
- Flap valve
NOTICE: Be sure that the O-ring and flap valve are securely in place before reassembly. Suction performance can be affected if the cyclone unit is operated without the O-ring and flap valve in place.
- Reassemble the cyclone unit, and attach it onto the cleaner body.
Troubleshooting
Before asking for repairs, check the following points.
CAUTION: Do not attempt to repair the cleaner by yourself.
OPTIONAL ACCESSORIES
CAUTION: These accessories or attachments are recommended for use with your Makita tool specified in this manual. The use of any other accessories or attachments might present a risk of injury to persons. Only use accessory or attachment for its stated purpose.
If you need any assistance for more details regarding these accessories, ask your local Makita Service Center.
- Extension wand (Straight pipe)
- Nozzle
- Nozzle for carpet
- Shelf brush
- Sash nozzle
- Round brush
- Flexible hose
- High performance filter
- HEPA filter
- Seat nozzle
- Crevice nozzle
- Cyclone unit
- Tool bag
- Makita genuine battery and charger
NOTE: Some items in the list may be included in the tool package as standard accessories. They may differ from country to country.
Makita Corporation 3-11-8, Sumiyoshi-cho, Anjo, Aichi 446-8502 Japan
www.makita.com







Tap the cyclone unit several times with your hand to remove dust adhering to the inner surface of the cyclone unit and filter. Fig.22:




NOTE: Avoid fastening the attachment end (rubber sealing ring) of high performance filter when hanging it up for drying.



NOTE: Avoid fastening the attachment end (rubber sealing ring) of HEPA filter when hanging it up for drying.
High performance prefilter

Sponge sheet












Suction inlet















