Makita DCL283F Cordless Cleaner

Product Information
The EN Cordless Cleaner is a handheld vacuum cleaner designed for collecting dry dust. It has a capacity of 730 mL and can be used continuously for approximately 10 minutes with the BL1830B battery. The overall length of the appliance with pipe, nozzle, and battery is 1,066 mm. It has a rated voltage of D.C. 18 V and a net weight ranging from 1.3 to 1.7 kg depending on the battery cartridge used.
The product comes with a warning to only use the battery cartridges and chargers specified by the manufacturer as using any other type may cause injury and/or fire. The battery cartridges that are applicable to this product are BL1815N, BL1820B, BL1830B, BL1840B, BL1850B, and BL1860B. The charger that is compatible with this product is DC18RC, DC18RD, DC18RE, DC18SD, DC18SE, DC18SF, DC18SH, and DC18WC.
Product Usage Instructions
- Before using the cordless cleaner, be sure to read all safety warnings and instructions in the instruction manual carefully.
- Only use the battery cartridges and chargers specified by the manufacturer to avoid injury and/or fire.
- Ensure that the dust bag and/or filters are in place before using the cordless cleaner.
- Do not use the cordless cleaner to pick up flammable or combustible liquids or anything that is burning or smoking, such as cigarettes, matches, or hot ashes.
- When recharging the battery, only use the charger specified by the manufacturer and recharge indoors.
- Do not use a damaged or modified battery pack or appliance as it may result in fire, explosion, or risk of injury.
- Store the cordless cleaner indoors and away from rain and other liquids.
- Turn off all controls before removing the battery.
- Use extra care when cleaning on stairs.
- Only use the cordless cleaner with specifically designated battery packs to avoid injury and fire.
- When the battery pack is not in use, keep it away from other metal objects that can create a connection from one terminal to another.
- Avoid contact with liquid that may be ejected from the battery under abusive conditions. If contact accidentally occurs, flush with water.
WARNING
- This appliance can be used by children aged from 8 years and above and persons with reduced physical, sen-sory or mental capabilities or lack of experience and knowledge if they have been given supervision or instruction concerning use of the appliance in a safe way and understand the hazards involved.
- Children shall not play with the appliance. Cleaning and user maintenance shall not be made by children with-out supervision.
- See the chapter “SPECIFICATIONS” for the type reference of the battery.
- See the section “Installing or removing battery cartridge” for how to remove or install the battery.
- When disposing of the battery cartridge, remove it from the tool and dispose of it in a safe place. Follow your local regulations relating to disposal of battery.
- If the tool is not used for a long period of time, the battery must be removed from the tool.
- Do not short the battery cartridge.
- See the chapter “MAINTENANCE” for the appropriate details of precautions during user maintenance.
SPECIFICATIONS
| Model: | DCL283F |
| Capacity | 730 mL |
| Continuous use (with battery BL1830B) | Approx. 10 min |
| Overall length (with pipe, nozzle, and battery BL1830B) | 1,066 mm |
| Rated voltage | D.C. 18 V |
| Net weight | 1.3 – 1.7 kg |
- Due to our continuing program of research and development, the specifications herein are subject to change without notice.
- Specifications may differ from country to country.
- The weight does not include accessories but battery cartridge(s). The lightest and heaviest combination weight of the appliance and battery cartridge(s) are shown in the table.
Applicable battery cartridge and charger
| Battery cartridge | BL1815N / BL1820B / BL1830B / BL1840B / BL1850B / BL1860B |
| Charger | DC18RC / DC18RD / DC18RE / DC18SD / DC18SE / DC18SF / DC18SH / DC18WC |
- Some of the battery cartridges and chargers listed above may not be available depending on your region of residence.
WARNING: Only use the battery cartridges and chargers listed above. Use of any other battery cartridges and chargers may cause injury and/or fire.
Symbols
The followings show the symbols which may be used for the equipment. Be sure that you understand their meaning before use.
Read the instruction manual.
A representative battery is applicable to this product.
Only for EU countries
Due to the presence of hazardous components in the equipment, waste electrical and electronic equipment, accumulators and batteries may have a negative impact on the environment and human health. Do not dispose of electrical and electronic appliances or batteries with household waste!
In accordance with the European Directive on waste electrical and electronic equip-ment and on accumulators and batteries and waste accumulators and batteries, as well as their adaptation to national law, waste electrical equipment, batteries and accumulators should be stored separately and delivered to a separate collection point for municipal waste, operating in accor-dance with the regulations on environmen-tal protection.
This is indicated by the symbol of the crossed-out wheeled bin placed on the equipment.
Intended use
The tool is intended for collecting dry dust.
SAFETY WARNINGS
Cordless cleaner safety warnings
WARNING: IMPORTANT! READ CAREFULLY all safety warnings and all instructions BEFORE USE. Failure to follow the warnings and instructions may result in electric shock, fire and/or serious injury.
- Do not expose to rain. Store indoors.
- Do not allow to be used as a toy. Close attention is necessary when used by or near children.
- Use only as described in this manual. Use only manufacturer’s recommended attachments.
- Do not use with damaged battery. If appliance is not working as it should, has been dropped, damaged, left outdoors, or dropped into water, return it to a service center.
- Do not handle appliance with wet hands.
- Do not put any object into openings. Do not use with any opening blocked; keep free of dust, lint, hair, and anything that may reduce air flow.
- Keep hair, loose clothing, fingers, and all parts of body away from openings and moving parts.
- Turn off all controls before removing the battery.
- Use extra care when cleaning on stairs.
- Do not use to pick up flammable or combustible liquids, such as gasoline, or use in areas where they may be present.
- Use only the charger supplied by the manufacturer to recharge.
- Do not pick up anything that is burning or smoking, such as cigarettes, matches, or hot ashes.
- Do not use without dust bag and/or filters in place.
- Do not charge the battery outdoors.
- Recharge only with the charger specified by the manufacturer. A charger that is suitable for one type of battery pack may create a risk of fire when used with another battery pack.
- Use appliances only with specifically designed battery packs. Use of any other battery packs may create a risk of injury and fire.
- When (the) battery pack is not in use, keep
it away from other metal objects, like paper clips, coins, keys, nails, screws or other small metal objects, that can make a connection from one terminal to another. - Under abusive conditions, liquid may be ejected from the battery; avoid contact. If con-tact accidentally occurs, flush with water.
- Do not use a battery pack or appliance that is damaged or modified. Damaged or modified batteries may exhibit unpredictable behavior resulting in fire, explosion or risk of injury.
- Do not expose a battery pack or appliance to fire or excessive temperature. Exposure to fire or temperature above 130 °C may cause an explosion.
- Follow all charging instructions and do not charge the battery pack or appliance outside the temperature range specified in the instruction. Charging improperly or at temperatures outside the specified range may damage the battery and increase the risk of fire.
SAVE THESE INSTRUCTIONS.
ADDITIONAL SAFETY RULES
This appliance is intended for household use.
- Read this instruction manual and the charger instruction manual carefully before use.
- Do not pick up the following materials:
- Hot substances that are burning or smok-ing (cigarettes, matches, incense sticks, candles, hot ashes), sparks and metal dust generated by cutting or grinding metal, etc.
- Flammable liquid (kerosene, gasoline, solvents such as benzine, thinner, etc.)
- Flammable material (toner, paint, spray, etc.)
- Explosive or pyrophoric substances (nitroglycerin, aluminum, magnesium, titanium, zinc, red phosphorus, yellow phosphorus, celluloid, etc. and their dust, gas or steam)
- Liquid, oil, wet dirt or damp garbage, including vomit and excreta
- Hard pieces with sharp edges (wood chips, metals, stones, glasses, nails, pins, razors or cutlery)
- Solidifying and conductive fine powder (metal or carbon powder)
- Foam like carpet cleaning agent, etc. (they may cause explosion or fire)
- Large amount of powder (flour, fire extin-guisher powder, etc.)
- Substances that cause toxic symptoms
- Aggressive chemicals (acid, alkali, etc.)
- Fine binding powder such as cement
- Fine particle like concrete dust
- Desiccants
- Asbestos
- Pesticides
Such action may cause fire, injury and/or property damage.
To reduce your exposure to these chemicals, always wear approved respiratory protection such as dust masks that are specially designed to filter out microscopic particles. Direct the exhaust air away from your face and body.
- Stop operation immediately if you notice any-thing abnormal.
- If you drop or strike the cleaner, check it care-fully for cracks or damage before operation.
- Do not bring close to stoves or other heat sources.
- Do not block the intake hole or vent holes.
SAVE THESE INSTRUCTIONS.
Important safety instructions for battery cartridge
- Before using battery cartridge, read all instruc-tions and cautionary markings on (1) battery charger, (2) battery, and (3) product using battery.
- Do not disassemble or tamper with the battery cartridge. It may result in a fire, excessive heat, or explosion.
- If operating time has become excessively shorter, stop operating immediately. It may result in a risk of overheating, possible burns and even an explosion.
- If electrolyte gets into your eyes, rinse them out with clear water and seek medical atten-tion right away. It may result in loss of your eyesight.
- Do not short the battery cartridge:
- Do not touch the terminals with any con-ductive material.
- Avoid storing battery cartridge in a con-tainer with other metal objects such as nails, coins, etc.
- Do not expose battery cartridge to water or rain.
A battery short can cause a large current flow, overheating, possible burns and even a breakdown.
- Do not store and use the tool and battery cartridge in locations where the temperature may reach or exceed 50 °C (122 °F).
- Do not incinerate the battery cartridge even if it is severely damaged or is completely worn out. The battery cartridge can explode in a fire.
- Do not nail, cut, crush, throw, drop the battery cartridge, or hit against a hard object to the battery cartridge. Such conduct may result in a fire, excessive heat, or explosion.
- Do not use a damaged battery.
- The contained lithium-ion batteries are subject to the Dangerous Goods Legislation requirements.
For commercial transports e.g. by third parties, forwarding agents, special requirements on pack-aging and labeling must be observed.
For the preparation of the item being shipped, consulting an expert for hazardous material is required. Please also observe possibly more detailed national regulations.
Tape or mask off open contacts and pack up the battery in such a manner that it cannot move around in the packaging. - When disposing of the battery cartridge, remove it from the tool and dispose of it in a safe place. Follow your local regulations relating to disposal of battery.
- Use the batteries only with the products specified by Makita. Installing the batteries to non-compliant products may result in a fire, exces-sive heat, explosion, or leak of electrolyte.
- If the tool is not used for a long period of time, the battery must be removed from the tool.
- During and after use, the battery cartridge may take on heat which can cause burns or low temperature burns. Pay attention to the han-dling of hot battery cartridges.
- Do not touch the terminal of the tool imme-diately after use as it may get hot enough to cause burns.
- Do not allow chips, dust, or soil stuck into the terminals, holes, and grooves of the battery cartridge. It may cause heating, catching fire, burst and malfunction of the tool or battery car-tridge, resulting in burns or personal injury.
- Unless the tool supports the use near high-voltage electrical power lines, do not use the battery cartridge near high-voltage electri-cal power lines. It may result in a malfunction or breakdown of the tool or battery cartridge.
- Keep the battery away from children.
SAVE THESE INSTRUCTIONS.
CAUTION:Only use genuine Makita batteries. Use of non-genuine Makita batteries, or batteries that have been altered, may result in the battery bursting causing fires, personal injury and damage. It will also void the Makita warranty for the Makita tool and charger.
Tips for maintaining maximum battery life
- Charge the battery cartridge before completely discharged. Always stop tool operation and charge the battery cartridge when you notice less tool power.
- Never recharge a fully charged battery car-tridge. Overcharging shortens the battery service life.
- Charge the battery cartridge with room tem-perature at 10 °C – 40 °C (50 °F – 104 °F). Let a hot battery cartridge cool down before charging it.
- When not using the battery cartridge, remove it from the tool or the charger.
- Charge the battery cartridge if you do not use it for a long period (more than six months).
FUNCTIONAL DESCRIPTION
CAUTION: Always be sure that the tool is switched off and the battery cartridge is removed before adjusting or checking function on the tool.
CAUTION: Take care not to trap finger(s) between cleaner and battery as shown in diagram when loading battery. Trapping finger(s) may cause injury. Fig.1
Installing or removing battery cartridge
CAUTION: Always switch off the tool before installing or removing of the battery cartridge.
CAUTION: Hold the tool and the battery car-tridge firmly when installing or removing battery cartridge. Failure to hold the tool and the battery cartridge firmly may cause them to slip off your hands and result in damage to the tool and battery cartridge and a personal injury.
To remove the battery cartridge, slide it from the tool while sliding the button on the front of the cartridge.
- Fig.2: 1. Red indicator 2. Button 3. Battery cartridge

To install the battery cartridge, align the tongue on the battery cartridge with the groove in the housing and slip it into place. Insert it all the way until it locks in place with a little click. If you can see the red indicator as shown in the figure, it is not locked completely.
CAUTION: Always install the battery cartridge fully until the red indicator cannot be seen. If not, it may accidentally fall out of the tool, causing injury to you or someone around you.
CAUTION: Do not install the battery cartridge forcibly. If the cartridge does not slide in easily, it is not being inserted correctly.
Tool/battery protection system
The tool is equipped with tool/battery protection system. This system automatically cuts off power to the motor to extend tool and battery life. The tool will automatically stop during operation if the tool or battery is placed under one of the following conditions.
Overloaded:
The tool/battery is operated in a manner that causes it to draw an abnormally high current.
In this situation, turn the tool off and stop the application that caused the tool to become overloaded. Then turn the tool on to restart.
Overheated:
The tool/battery is overheated. In this situation, let the tool/battery cool before turning the tool on again.
Low battery voltage:
The remaining battery capacity is too low and the tool will not operate. In this situation, remove and recharge the battery.
Protections against other causes:
The protection system is also designed for other causes that could damage the tool and allows the tool to stop automatically. Take all the following steps to clear the causes, when the tool has been brought to a temporary halt or stop in operation.
- Turn the tool off, and then turn it on again to restart.
- Charge the battery(ies) or replace it/them with recharged battery(ies).
- Let the tool and battery(ies) cool down.
If no improvement can be found by restoring the protection system, then contact your local Makita Service Center.
Indicating the remaining battery capacity
Only for battery cartridges with the indicator
- Fig.3: 1. Indicator lamps 2. Check button

Press the check button on the battery cartridge to indi-cate the remaining battery capacity. The indicator lamps light up for a few seconds.
NOTE: Depending on the conditions of use and the ambient temperature, the indication may differ slightly from the actual capacity.
NOTE: The first (far left) indicator lamp will blink when the battery protection system works.
Switch action
CAUTION: Before installing the battery car-tridge into the tool, set the slide switch to “O” side and check that the switch trigger actuates properly and returns to the “OFF” position when released.
When the slide switch is set to “O” side:
To start the tool, simply pull the switch trigger. Release the switch trigger to stop.
- Fig.4: 1. Slide switch 2. Switch trigger

When the slide switch is set to “I” side:
While the slide switch is set to “I” side, the switch trig-ger is pulled automatically and the cleaner continues actuating. To stop the cleaner, set the slide switch to “O” side and release the switch trigger.
- Fig.5: 1. Slide switch 2. Switch trigger

Lighting up the lamp
CAUTION: Do not look in the light or see the source of light directly.
To turn on the lamp, either squeeze the switch trigger or set the slide switch in the “I” position.
While the cleaner is running, the lamp turns on.
The lamp goes out immediately after you stop operation.
NOTE: When the remaining battery capacity gets low, the lamp starts blinking. The timing, at which the lamp starts blinking depends on the temperature at work place and the battery cartridge conditions.
- Fig.6: 1. Lamp 2. Slide switch 3. Switch trigger

ASSEMBLY
CAUTION: Always be sure that the tool is switched off and the battery cartridge is removed before carrying out any work on the tool.
Parts description
Optional accessory
High-performance filter and stay and sponge filter
- Fig.7: 1. Capsule 2. High-performance filter 3. Stay 4. Sponge filter

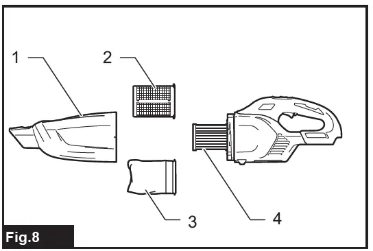
Prefilter or high-performance filter and HEPA filter
- Fig.8: 1. Capsule 2. Prefilter 3. High-performance filter 4. HEPA filter

NOTICE: Do not underlay the high performance filter with an optional filter (non-woven cloth). The filters could not be removed from the cleaner.
NOTE: Do not install an optional filter (non-woven cloth) between the HEPA filter and the prefilter. The suction power may be reduced.
NOTE: Always use the high performance filter that is framed with an originally-designed stay when overlay-ing it on the HEPA filter.
- Fig.9: 1. High-performance filter 2. Stay (designed for high performance filter)

Disposing of dust
CAUTION: Empty the cleaner before it becomes too full, or the suction force weakens.
CAUTION: Be sure to empty the inside of the cleaner itself of dust. Failure to do so may cause the filter to be clogged or the motor to be damaged.
In order to drop dust sticking on the filter in the capsule, tap the capsule 4 or 5 times with your hand.
- Fig.10: 1. Capsule

Point suction inlet downwards, turn capsule in direction of arrow in diagram, and disconnect capsule slowly and straight.
- Fig.11: 1. Capsule 2. Suction inlet

NOTE: Dust may spill out when capsule is opened, so be sure to set a garbage bag beneath capsule.
Remove accumulated dust from the inside of capsule and high performance filter.
- Fig.12: 1. Capsule 2. High performance filter

Twist high performance filter in direction of arrow to unfasten securing lip from cleaner unit and then pull off the filter.
- Fig.13: 1. Securing lip

NOTE: When using the prefilter, also follow the procedures above.
Clean out the fine dust and lightly tap to dislodge dust from high performance filter.
Reassembly
Connect high performance filter. At this time, make sure to twist high performance filter so that securing lip is firmly locked into the cleaner unit.
- Fig.14: 1. High-performance filter

- Fig.15: 1. Securing lip

NOTICE: Always be sure to check that high per-formance filter is loaded correctly prior to using cleaner. If it is not loaded correctly, dust will get into the motor housing, and cause motor failure. If the problem as described later occurs, high perfor-mance filter is not loaded correctly. Reload it correctly to rectify problem.
Attach the capsule. Align the mark on capsule with the mark on the handle and then firmly twist capsule in the direction of arrow until it is secured.
- Fig.16: 1. Mark 2. Handle 3. Capsule

NOTE: Always remove dust ahead of time, as suction power will be reduced if there is too much dust in cleaner.
Problem Example
The securing lip of high performance filter is not firmly locked into groove of cleaner housing.
- Fig.17: 1. Securing lip 2. Groove of cleaner housing

Installing or removing stay / HEPA filter
Optional accessory
For the stay and sponge filter
To remove the stay, push up the bottom part of pillars of the stay with your fingers and release its groove from the protru-sion on the cleaner. After that, remove the sponge filter.
- Fig.18: 1. Stay 2. Sponge filter

To install, align the grooves on the stay with the protrusion on the cleaner and push until it clicks.
Insert the sponge filter between the pillars and set it in its original position.
For the HEPA filter
When installing the HEPA filter, fit the groove of the HEPA filter with the protrusion on the cleaner. Then, put the prefilter or the high performance filter on the HEPA filter and twist it to secure. To remove, follow the installation procedure in reverse.
- Fig.19: 1. HEPA filter 2. Prefilter

- Fig.20: 1. HEPA filter 2. High-performance filter

OPERATION
CAUTION: Do not move your face close to the air vent when operating the cleaner. If foreign objects are blown into eyes, it may result in personal injury.
Installing and removing cleaner attachments
CAUTION: After installing attachments, check if they are securely installed. If the attachments are installed imperfectly, they may come off and cause personal injury.
CAUTION: Be careful not to hit your hand on the wall etc. when removing the attachments.
When using an attachment with lock function
To install the attachment, insert it to the suction inlet of the cleaner until it clicks. Make sure that the attachment is locked.
- Fig.21: 1. Suction inlet 2. Attachment with lock function 3. Hook 4. Release button

NOTICE: When installing the attachment with lock function, be sure to align the release button on the cleaner with the hook on the attachment. If they are not aligned, the attachment will not be locked and may come off from the cleaner.
To remove, pull the attachment while pushing the release button.
- Fig.22: 1. Release button 2. Attachment with lock function

When using attachment without lock function
CAUTION: To connect attachment without lock function, twist and insert it in direction of the arrow to secure the connection during use. To disconnect the attachment, twist and extract it also in direction of the arrow. If the attachment is twisted in the opposite direction, the capsule may become loose. Fig.23
Cleaning (Suction)
Nozzle
Attach the nozzle to clean off tables, desks, furniture, etc. The nozzle slips on easily.
- Fig.24: 1. Nozzle

Nozzle + Extension wand (Straight pipe)
The extension wand fits in between the nozzle and the cleaner itself. This arrangement is convenient for clean-ing a floor in a standing position.
- Fig.25: 1. Cleaner body 2. Extension wand (Straight pipe) 3. Nozzle

Sash nozzle
Fit on the sash nozzle for cleaning corners and crevices of a car or furniture.
- Fig.26: 1. Sash nozzle 2. Cleaner body
You can store the sash nozzle in the nozzle holder.
- Fig.27: 1. Nozzle holder 2. Sash nozzle

CAUTION: Be careful not to trap finger(s) between the sash nozzle and the nozzle holder. Trapping finger(s) may cause injury.
Sash nozzle + Extension wand (Straight pipe)
In tight quarters where the cleaner itself cannot squeeze in, or in high places hard to reach, use this arrangement.
Fig.28: 1. Sash nozzle 2. Extension wand (Straight pipe) 3. Cleaner body
Cleaning without nozzle
You can pick up powder and dust without nozzle. Fig.29
For picking up dust on a floor in a standing position, it is convenient to attach the extension wand to the cleaner.
Fig.30: 1. Extension wand (Straight pipe)
MAINTENANCE
CAUTION: Always be sure that the tool is switched off and the battery cartridge is removed before attempting to perform inspection or maintenance.
To maintain product SAFETY and RELIABILITY, repairs, any other maintenance or adjustment should be performed by Makita Authorized or Factory Service Centers, always using Makita replacement parts.
After use
CAUTION: Putting the cleaner against the wall without any other support may cause the cleaner to fall down, resulting in personal injury or damage to the cleaner. Fig.31
Cleaning
CAUTION: Clean filters when they become clogged. Continuing use in the clogged condition may result in heating or fire.
NOTICE: Never use gasoline, benzine, thinner, alcohol or the like. Discoloration, deformation or cracks may result.
NOTICE: Do not blow dust sticking on the cleaner and filters by air duster. It brings dust into the housing and causes failure.
NOTICE: After washing filters, dry them thor-oughly before use. Insufficiently dried filters may cause poor suction and shorten the service life of the motor.
NOTICE: After cleaning filters and sponge filter, be sure to re-install them before use. If you use the cleaner without filters and sponge filter, dust comes into the motor housing and cause malfunction.
Cleaner body
From time to time wipe off the outside (cleaner body) of the cleaner using a cloth dampened in soapy water. Clean out also the suction opening and filter mounting area. Fig.32
High-performance filter
Wash the filter in soapy water when it is clogged with dust and the cleaner power becomes weak. Dry it out thoroughly before use. Fig.33
HEPA filter
Optional accessory
NOTICE: Do not rub or scratch the HEPA filter with hard objects such as a brush and a paddle.
Clogged HEPA filter causes poor suction performance. Clean out the filter from time to time.
Occasionally wash the HEPA filter in water, rinse and dry thoroughly in the shade before use. Never wash the filter in a washing machine. Fig.34
Sponge filter
When the sponge filter becomes dirty, clean it as follows.
- Remove filters that cover the stay.
- Pull out the sponge filter from between the pillars.
- Clean the sponge filter by tapping or washing. If you wash it, dry it out thoroughly before use.
- Insert the sponge filter between the pillars and set it in the original position. Make sure that each bottom edge of the pillar holds down the sponge filter, and there is no gap between the sponge filter and suction opening.
- Fig.35: 1. Sponge filter 2. Bottom edge of pillar

Wall mount for cordless cleaner
NOTE: The screw to mount the holder is not included. Prepare a screw which fits with the material to screw into.
Attach the wall mount for cordless cleaner to a hard wooden wall, beam or column, where the wall mount for cordless cleaner can be firmly secured. Always be sure that the wall mount for cordless cleaner is securely attached before hanging the cleaner.
- Fig.36: 1. Wall mount for cordless cleaner

CAUTION: Do not hang the cleaner to the wall mount violently or hang other appliances than the cleaner.
Troubleshooting
Before asking for repairs, check the following points.
| Symptom | Area to be investigated | Fixing method |
| Weak suction power | Is the capsule full of dust? | Empty the capsule of dust. |
| Is the filter clogged? | Clean or wash the filter. | |
| Is the battery cartridge discharged? | Charge the battery cartridge. | |
| Not working | Is the battery cartridge discharged? | Charge the battery cartridge. |
| Noise and vibration | Is the filter clogged? | Clean or wash the filter. |
| Is the nozzle, pipe or suction inlet of the appliance is clogged? | Remove the clogged objects in the nozzle, pipe or suction inlet of the appliance. | |
| Is the nozzle/pipe inlet blocked? | Do not block the nozzle/pipe inlet. |
CAUTION: Do not attempt to repair the cleaner by yourself.
OPTIONAL ACCESSORIES
CAUTION: These accessories or attachments are recommended for use with your Makita tool specified in this manual. The use of any other accessories or attachments might present a risk of injury to persons. Only use accessory or attachment for its stated purpose.
If you need any assistance for more details regard-ing these accessories, ask your local Makita Service Center.
- Extension wand (Straight pipe)
- Nozzle
- Nozzle for carpet
- Shelf brush
- Sash nozzle
- Round brush
- Flexible hose
- Filter (non-woven cloth)
- Prefilter
- High-performance filter
- HEPA filter
- Seat nozzle
- Crevice nozzle
- Wall mount for cordless cleaner
- Cyclone unit
- Cyclone attachment
- Tool bag
- Makita genuine battery and charger
NOTE: Some items in the list may be included in the tool package as standard accessories. They may differ from country to country.
Cyclone attachment
Optional accessory
- Fig.37: 1. Release button 2. Hook 3. Extension wand (Straight pipe) 4. Cyclone attachment 5. Suction inlet
About the cyclone attachment
Using the cleaner with the cyclone attachment installed reduces the amount of dust that enters the capsule, which helps to prevent the suction force from weakening. In addition, cleaning after use is also simple.
CAUTION: Always be sure that the tool is switched off and the battery cartridge is removed before carrying out any work on the tool. If the battery cartridge is left inserted, the cleaner may start unexpectedly and result in injury.
CAUTION: Clean the mesh filter of the cyclone attachment and the filters of the cleaner unit when they become clogged. Continuing use in clogged conditions may result in heating or smoke.
NOTICE: When the cyclone attachment is attached, do not use the cleaner in a horizontal or upward-facing position. Doing so may cause the mesh filter to become clogged.
NOTICE: Always use the cleaner with the filters installed, even when using the cyclone attachment. Using the cleaner without the filters installed may result in a motor malfunction.
NOTE: Check that the cyclone attachment, cleaner, and extension wand (straight pipe) are locked properly before use.
NOTE: Empty the dust case of the cyclone attachments and the capsule of the cleaner when dust has accumulated. Continuing use will result in weakened suction force.
NOTE: You can also use the cyclone attachment without lock function.
NOTE: To install or remove the cyclone attachment, refer to the section “Installing and removing cleaner attachments”.
Disposing of dust
When dust has accumulated up to the full line of the dust case, follow the procedure below and dispose of the dust.
- Hold the dust case firmly, press and hold the two buttons, and remove the dust case.
Fig.38: 1. Full line 2. Dust case 3. Button (two locations) 4. Mesh filter
- Dispose of the dust inside the dust case and remove any dust and powder adhered to the surface of the mesh filter.
- Insert the dust case all the way until the two but-tons lock with a click.
Fig.39: 1. Dust case 2. Button (two locations)
CAUTION: When reassembling the dust case, be careful not to pinch your fingers.
NOTE: Check that the cyclone attachment, cleaner, and extension wand (straight pipe) are locked prop-erly before restarting operation.
NOTE: If the suction force does not recover even after disposing of the dust and cleaning the mesh filter, check whether dust has accumulated in the capsule of the cleaner or clogging has occurred.
NOTE: The dust may fly up when disposing from the cyclone attachment. Be careful not to let dust get into your eyes.
Cleaning
CAUTION: After washing the cyclone attach-ment, dry it thoroughly before use. Insufficiently dried components may cause an electrical shock or damage to the appliance.
When the dust case becomes dirty or the mesh filter is clogged, remove and wash them with water. (Refer to “Disposing of dust” for the removal procedure.)
Dry the parts thoroughly before reinstallation and use.
- Fig.40: 1. Dust case 2. Mesh filter

When the mesh filter gets dirty badly, clean it in the following procedures.
- Turn the mesh filter in the direction of the arrow and remove it while the hooks are unlocked.
Fig.41: 1. Mesh filter 2. Hook
- Remove the dust on the mesh filter and then wash it with water. After that, dry it thoroughly.
- Insert the mesh filter into the base while the hooks are aligned with the port. Turn the mesh filter in the direction of the arrow until the hooks are locked with a click. Make sure that the mesh filter is installed securely.
Fig.42: 1. Mesh filter 2. Hook 3. Port
Makita DCL283F Cordless Cleaner














































