ZXS V100 Digital Photo Frame
Overview
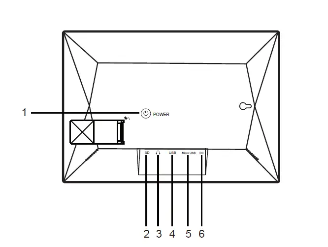
After connecting power adapter,please press and hold power button for approximately 5 seconds (until screen turns on).
When it is on,press and hold power button for approximately 3 seconds to access reboot or power off menu.Short press on power button will turn off/on screen(but leave the photo frame in on position).
POWER
Load external max 32GB SD memory card here.
SD
You can connect your headset here.
HEADPHONE JACK
Connect a USB flash drive.USB is for service use only.
USB
Can be used to connect to a computer to import pictures and videos.
MICRO USB
Connect DC adapter to power on the device.
Getting started
Thank you for purchasing your very own frameo.First,to set up your frame follow the ‘Quick start guide included in the package. If you are new to using frameo then start by following the frameo quick setup on page or follow the on-screen guide when powering it on for the first time Once you have set up your Frameo frame,start connecting it to your friends and family.
Frame app
Find the frameo app on: Google play by searching for”frame”or scan this QR code
App Store by searching for frameo or scan this QR code
Frame quick setup
When starting your frame for the first time,you will need to setup the frame.
- First you start by selecting a language.This will be the language used throughout frameo.
- Connect your frame to the internet by connecting it to a Wi-Fi. If a newer version of the frameo software is available,then you will be prompted with an update dialog.It is recommended to update your frame immediately if prompted.
- Enter your name,and the location where you have placed your frame e.g.”Living room”,”Kitchen”or”Office”and finally set the timezone If not correct.
Start using frame
Start by connecting with your friends and family by providing them with a unique code from your frame.If you want to be able to send photos to the frame yourself,start by downloading the app for iOS or Android on App Store or Google Play.Then use the code to connect your frame and app as described below.
Connecting new friend
- Make sure that your friend has downloaded and installed the frameo app
- Click the add friend icon on your frame. A dialog will appear showing a unique code which is valid for 12 hours.
- Now share this code in whatever fashion you prefer e.g. SMS, E-Mail, IM,phone call,to your friend.
- Once your friends have added the code in their frameo app,they will automatically appear on your frame and be able to send you photos.

You interact with your frame through its touchscreen. Swipe left or right to go through your photos. To access the menu bar,simply tap once on the screen,this will show the menu.In the menu you will find quick access to the add friends dialog and the settings menu From the menu it is also possible to hide the currently shown photo and to adjust the positioning of the photo.
Setting
Through settings,you can personalize your frame to your needs.
MY Frame
Frame name
Changes the name of your frame.This is also the name the connected friends and family will see in their list of connected frames.
Frane location
Changes the location of your frame.This is the location displayed on your friends’ and family’s list of connected frames which can help to distinguish frames from each other.
Set the zone
Sets the language throughout your frame.
Sleep mode
frameo offers a sleep mode which turns off the screen to reduce power consumption while you
e.g.are sleeping.lts default setting is to turn off the screen at 23:00 and turn on the screen again at 07:00.To change this just set the sleep mode start/end time.
Manage photo
Select which photos to hide by tapping the particular photos you wish to hide. Hidden photos will NOT be deleted from your frame,you can always select them to be shown again.Use to hide or show all photos.
important photos
Allows you to import photos from an external max 32GB SD card. Before you try to import photos from a SD card,make sure you have a SD card with photos on inserted into your frame. Start by selecting the photos that you want to import onto your frame. Once selected tap the import button to start the import process. It is currently not possible to add a caption or define the most important part of the photo when using the import function. Alternatively, add yourself to your friend list and send them using the app.
MY FRIEND
This list contains all the people that are allowed to send photos to your frame.
Remove person
To remove a person from this list,thereby removing their permission to send you photos,tap the delete icon You will then be asked to confirm the removal and if you would like to remove all photos received from this person.
Add person
To allow a new person to send you photos,simply tap the add friend button and share the presented code in whatever way you prefer.
Display and slide show
Define the duration a photo should be displayed.
Timer
Sets whether or not to display the captions that your friends have sent with the photo.Check to display captions.Uncheck to hide captions
Show caption
Adjust the brightness level of the screen.
Wifi
Set which Wi-Fi the frame should be connected to.If you are connecting to a network with a captive portal a web browser icon should appear in top right corner of the screen.Use this to open a browser where you can enter credentials to access the network.
Transfer the Picture
- Click the ,then select the pictures that you need;
- Click Next and choose the frame that you want the pictures to be sent (Limited 10 PCS at a time);
- Write a caption for the photo(this step is not necessary);
- When the “select the important part’ shown on the screen,just dick Okay,and adjust the photo important part;
- Finaly, click send and enjoy your photo show.
Transfer the video
- Select the video that you want the video to be sent(Limited 1 video at a time, and the video time can be sent is up to 15S);
- Write a caption for the video(this step is not necessary);
- Take a preview of the video,finaly dick send video and enjoy your video show.
Backup and Restore
tap to make a backup of your photos, friends and settings.The time of latest successful backup will be displayed. Any existing backup on the SD card will be overridden!
If checked,your frame will automatically take a backup within 30 hours of you receiving new photos or making changes on your frame. Before you attempt to restore your frame,start by confirming that your backup is up-to-date. To restore from a backup,you must first reset the frame.It is important to note that you cannot restore to a new Frameo frame and keep the old frame operational at the same time.Removes all data from your frame.This will permanently remove all your photos, friends/connections and settings.
About
Check if an update is available for your frame.Sharing anonymous analytics data helps us tremendously with improving the frameo software.We understand if you do not wish to share this data with us. Set checked if you wish to help us improve frameo.Set unchecked to deny the sharing of anonymous analyt ics data.Opens the quick start guide,that was shown when you first started the frame.
Privacy
For more information regarding privacy,please visit http://privacy.frameo.net
For more information regarding warranty, hardware compliances, support and safety tplease refer to the material included in the package
Contact us
For any inquiries with products, please feel free to contact us, we will respond within 24 hours. E-mail: [email protected]
FAQ
- Do I have td keep this phato frame plugged all the time?
Yes. you have to keep it plugged in to keep the frame an as it has no built-in battery. - Does this frame have to be Wifí connected to work ar just in the setup process?
This frame needs to connect to a Wifi network for setup, receiving new photos videos, receive user requests and software updates. Other than that, the frame can anly play the photos/videos without Wifi connection. - Why this frame cannot connect to Wif?
It supports only 2.4GHz Wifi network, select the Wifi network you would like to connect and enter the password corectly if required. If your Wifi network is NOT on
the list, move your frame dloser to your router or restart your frame, wait for seconds and check it again. Also you could try to share your smartphonts hotspot to check - Can this frame be hanged on the wall?
You can hang it an the wall by the wall mount hole on the back. - Can I place the frame in portrait or landscape position?
It can be positioned landscape or portrait after the Auto-rotate setting is on. - Where can I find the Frame ID?
Frame ID is a 10-digitseries number that canbe found in your frame. - Why I cannot bind my frame via App?
if you are the frame owner or the first to bind the frame, please follow the instructions Bind your frame with App” to bind the frame, if you are a non-frame owner, please
follow the instructions “Invite otheers to bind your frame with App to bind the frame. - How dol unbind an account?
if you would like to unbind an App account. please go to the My Friends menu and dlick the bound user you want to delete. you will see there is an option for deleting
user. - Can I share photos and videos to the frame?
Yes. you can share both photos and videos (max 15 seconds or 100MB) to the frame - Can I transfer photos or videos from a computer ?
Yes.youcantransferyourfilesfromcomputerbyusingaUSB. - How can I delete photos and videos?
Enter Setting menu, click “Manage photo” button. Select the photos or videos you would like to delete and click “delete. - Can I export the photos and ideos?
You can export photos and videos via extended SD card(max support 512GB). After SD card inserts in the port, you can select the phatos and videas you would
like to export in the Internal Storage, dlick “share” to export your files. - Is it possible to manage the photos and videas in the frame remotely?
You can only manage export delete photos and videos in the frame directly. The app won’t keep photos and videos faor privacy and safety concerns. - Can this frame automatically turn an/off at a specific time?
You can enter sleep mode setting and set the auto on/aff time as you want. - Can I adjust the speed the photos changes?
You can choose your preferred intenval time in Slideshow Settings. - Can I cyele pictures and videos together?
You could recycle photos or video together. - How can I upload hundreds of photos or videos to the frame?
You could choose import photos to the frame via a SD card, or plug in a USB to a computer, where the frame could be recognized as an internal storage. You coulddrag photos from computer to the Picture folder and videos to the Movies folder. - How to display the photos by sequence?
The frame could recognize the name of the photos like laptops, it oOuld sequence the photos by the time and name it receives If you cannot find the answer for your question, please contact our customer support team, thank you
FCC Statement
Changes or modifications not expressly approved by the party responsible for compliance could void the user’s authority to operate the equipment. This equipment has been tested and found to comply with the limits for a Class B digital device, pursuant to Part 15 of the FCC Rules. These limits are designed to provide reasonable protection against
harmful interference in a residential installation. This equipment generates uses and can radiate radio frequency energy and, if not installed and used in accordance with the instructions, may cause harmful interference to radio communications. However, there is no guarantee that interference will not occur ina particular installation. If this equipment does cause harmful interference to radio or television reception, which can be determined by turning the equipment off and on, the user is encouraged to try to correct the interference by one or more of the following measures:
- Reorient or relocate the receiving antenna.
- Increase the separation between the equipment and receiver.
- Connect the equipment into an outlet on a circuit different from that to which the receiver is connected.
- Consult the dealer or an experienced radio/TV technician for help
This device complies with part 15 of the FCC rules. Operation is subject to the following two conditions this device may not cause harmful interference, and this device must accept any interference received, including interference that may cause undesired operation. This equipment complies with FcC radiation exposure limits set forth for an uncontrolled environment. This equipment should be installed and operated with a minimum distance 20cm between the radiator & your body.
























