JACOBS LADDER 2 2 Exercise Machine Residential Owner’s Manual
Introduction
Welcome to the Jacobs Ladder Family. Please take a few minutes to familiarize yourself with your new ladder by reading the information contained in the Owners Manual.
We are proud of the quality of each of our products.
Jacobs Ladder provides the most efficient exercise for those serious about conditioning.
Unlike most cardio machines, this patented treadmill climber utilizes low impact, high range of motion exercise to provide a superior cardio workout to both the upper and lower body.
Jacobs Ladder is an innovative cardio machine with ladder-type rungs on a non-motorized continuous treadmill. It’s self-paced, so the faster you go the faster it goes.
Jacobs Ladder 2 offers the same workout and the same reliability as the revolutionary Jacobs Ladder, yet designed for the home and small commercial environment.
INCLUDED IN YOUR PACKAGE
- Jacobs Ladder 2
- Jacobs Ladder Waist Belt (2)
- AC Power Adapter
- Stability Bars
PRODUCT SPECIFICATIONS
- Frame: Welded Tubular Steel
- Length: 76″
- Width: 27.25″
- Height: 65.5″
- Weight: 300 lbs
- Rungs: Steel Tube with Polyurethane Sleeve
- Case: ABS/Polyethylene
- Power: 110 V (220 V available upon request)
- Ceiling Height Requirement: 7.5 Feet
- Digital Readouts: Elapsed Time, Feet Climbed, Rate (Feet/Min), Calorie Burn, Heart Rate (wireless)
- Warranty: 2 Years on Parts / 1 Year on Labor
IMPORTANT SAFETY INFORMATION
Warning: Before beginning any fitness program you should have a complete physical examination by your physician.
Consult your physician for the heart rate appropriate for your fitness condition. Exercising on Jacobs Ladder 2 may cause rapid heart rate increase.
If you feel faint, develop chest pain, experience severe musculoskeletal discomfort or have difficulty breathing, terminate the exercise session immediately and consult a physician.
Failure to do so may result in serious bodily injury or death.
In order to slow machine, slow your steps. In order to stop machine, stop your steps and allow the machine to brake.
Do not use the machine without wearing the Waist Belt.
The Waist Belt controls the brake as well as the rung speed.
Start out slowly and increase rung speed carefully while wearing Waist Belt.
Never let anyone touch the waist belt cable while machine is being used.
Tugging the cable will cause rung speed increase.
Advanced Exercise: Always read and understand Operating Instructions before use.
Never allow small children to operate machine. Keep small children away from machine while in operation.
Never sprint on Jacobs Ladder 2. Increase your speed at a steady pace until you reach an appropriate speed.
Never place towels or other objects under the rungs or at the bottom of the machine.
Proper Use Instruction
- Plug the unit in with the AC Adapter to power the display.
- Cover the RESET eye (located below the Heart Rate readout) with your finger for 3 seconds to enter weight. Set your weight by tapping the RESET eye.
- Set your height on the Height adjustment section of the Waist Belt
- Attach the Waist Belt to your waist, placing the strap off the center of your back
- Step onto the machine and begin climbing. Accelerate slowly to let the machine adjust to your speed.
You may want to start out using the side handles until you get used to the movement. - In order to stop, simply stop climbing and coast to the bottom
ASSEMBLY INSTRUCTIONS
Take the following steps to assemble the Jacobs Ladder 2.
- Unpack the ladder and remove the packing materials from the base and upright/console assembly.

- Unbolt the ladder from the pallet and roll it on to the floor.
CAUTION: To avoid injury and ensure your safety, be sure to get the appropriate number of people to help you move the ladder to its final location.
A fully assembled Jacobs Ladder 2 is very heavy and you might injure yourself if you move the ladder improperly.
If you need to move the ladder, ask for assistance. Roll the ladder on its rear transport wheels to its new location by slowly tipping the ladder back to engage the wheel.
Be sure to have assistance as ladder is heavy. Additional help supporting the front end of the ladder will improve the ease of movement.
Make sure that the ladder is unplugged. Do not assemble the ladder if it is plugged into a power outlet.
- Once in its final position, use a 5/8″ wrench to remove the two nuts/bolts located at the bottom base of the ladder, holding the transport wheels in place. Keep both bolts and nuts, as they will be reused. Remove the transport wheels and store for future use.

- Install the Ladder support feet in the location where the wheels were removed.
Two 3/8″ bolts should be installed through the main base into each of the two support feet.
Each foot should be located in the same center section where the wheel was previously removed.
A 3/8″ nut should be installed on the end of the bolt as it projects through the opposite mounting wall of the main base. Tighten each nut to ensure no movement occurs in the feet.
- If you need to move the ladder, ask for assistance. Transport wheels can be reinstalled to assist in the relocation of the ladder. Roll the ladder on its transport wheels to its new location by lifting the rear end of the unit. Reminder—The ladder should never be moved with one person.
DISPLAY
- Elapsed Time
When the machine is in use, this field will display the elapsed time of the workout.
When the unit is not moving, this field will display “HOLD”. - Distance in Feet
When the machine is in use, this field will display the total distance climbed in feet. - Heart Rate
This unit is equipped with a wireless receiver located under the deck of the machine.
This receiver can detect signal from any Polar brand Heart Rate Device.
When the display is on and a users signal is detected, the heart rate will show in this field. - Rate Ft/Min
When the display initially powers up, this field will say “150”. This is to say that a default user weight of 150 lbs will be used to calculate calories burned. You can change the set weight in 10-pound increments by swiping your finger over the reset sensor. You can choose a weight from 100-330lbs.
Once a workout is started, this field will display the current speed that the user is climbing in feet per minute. - Calories
When the display initially powers up, this field will say “LBS”.
This is to prompt the user to input their weight if desired and will begin to display calories burned once the workout has begun. If no weight is input, the unit will use a default weight of 150 lbs to calculate calorie burn. - Reset
The reset sensor is an optic sensor located behind the faceplate. The user swiping their finger over the sensor triggers the reset sensor. When the display initially powers up, the user can change the default weight setting by swiping their finger over the sensor until the desired weight is reached.
If you miss the opportunity to enter your weight and want to go back, just hold your finger over the reset sensor for three seconds. Doing so will clear out the information in the display and take you back to where you can enter your weight.
When your workout is completed, you can clear out the information on the display by swiping your finger over the reset sensor.
MAINTENANCE
Care and Cleaning
It is not recommended that you oil or grease the chains on Jacobs Ladder 2. Greasing the chains can prevent the machine from running smoothly.
The Jacobs Ladder 2 machine and rungs can be cleaned using any mild household cleaner that you use on other cardio machines.
Never put polish or wax on the rungs. This will cause the rungs to become slippery and unsafe.
Never put polish or wax on the black plastic runners at either end of the rungs. This will prevent the machine from running smoothly.
IMPORTANT: The black plastic strips located underneath the plastic side rails must be kept clean. Do not get any grease, oil, polish, etc.. on the black plastic strips.
Wipe down the display board with a damp cloth Do not use cleaning sprays, large amounts of soap or water, abrasive or sharp objects on the display board.
Please refer to the Preventative Maintenance Section.
Troubleshooting
| Problem | Possible Cause | What To Do |
| Machine seems to be slipping | Dirty Stainless / UHMW Strips | Clean Stainless Steel Rung Plates (See Maintenance Procedure: www.youtube.com/watch?v=A8fqUlRUbM0) |
| Machine seems to be jumping | Loose Chains | Tighten Chains (See Maintenance Procedure: www.youtube.com/watch?v=c3xlA_Z_74E) |
| Display resets in mid-workout | Bad Adapter connection | Check AC Adapter connection or replace adapter |
Preventative Maintenance
| Operation | Frequency |
| Clean Stainless Steel Rung Plates | Annually |
| Tighten Chains | Once after first 3 months and then annually |
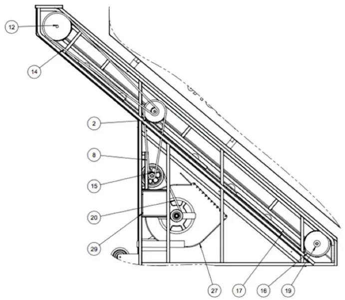
EXPLODED DIAGRAM
| ITEM NO. | PART DESCRIPTION | QTY |
| 1 | LEFT FRONT KICK PLATE | 1 |
| 2 | UPPER JACK SHAFT | 1 |
| 3 | UHMW STRIP | 2 |
| 4 | RUNG ASSEMBLY | 16 |
| 5 | ABS LEFT COVER LOWER | 1 |
| 6 | PAN | 1 |
| 7 | ABS UPPER BACK PANEL | 1 |
| 8 | LOWER DRIVE CHAIN | 1 |
| 9 | SIDE HANDLE | 2 |
| 10 | RIGHT FRONT KICK PLATE | 1 |
| 11 | 8″ PULLEY | 1 |
| 12 | TOP AXLE | 1 |
| 13 | TRANSPORT WHEEL | 2 |
| 14 | UPPER DRIVE CHAIN | 1 |
| 15 | LOWER JACK SHAFT | 1 |
| 16 | RUNG CHAIN | 2 |
| 17 | UHMW TAPE | 2 |
| 18 | LEFT SIDE RAIL | 1 |
| 19 | BOTTOM SPROCKET | 2 |
| 20 | V BELT | 1 |
| 21 | BLOWER DOOR | 1 |
| 22 | RIGHT SIDE RAIL | 1 |
| 23 | ABS RIGHT COVER UPPER | 1 |
| 24 | TOP PLATE | 1 |
| 25 | ABS LEFT COVER UPPER | 1 |
| 26 | ABS CENTER BACK STRIP | 1 |
| 27 | BLOWER ASSEMBLY | 1 |
| 28 | ABS RIGHT COVER LOWER | 1 |
| 29 | POWER BOARD/BATTERY ASM | 1 |
| 30 | BRAKE ARM | 1 |
| 31 | CABLE SPRING | 1 |
| 32 | BRAKE SPRING | 1 |



PRODUCT WARRANTY
2 YEARS ON ALL PARTS; 1 YEAR ON LABOR FROM THE DATE OF PURCHASER INVOICE.
Each Core Health & Fitness product will carry its own limited warranty as set forth on the official Core Health & Fitness website. Such warranty will be buyer’s sole and exclusive remedy for any breach of warranty. Core Health & Fitness disclaims all other warranties expressed or implied or statutory, including any warranty of merchantability, any warranty of fitness for a particular purpose and any implied warranties arising from a course of dealing or usage of rode. This warranty supersedes all other warranties, including any warranties based on oral representations.
This warranty extends only to the original end user customer and is not transferable. This warranty does not cover defects caused by negligence; improper maintenance; improper storage; misuse; installation not in accordance with Core Health & Fitness’ printed instructions; abuse; normal wear and tear; contact with liquids; application other than intended use; or installation of unapproved third party products.
Core Health & Fitness’ sole liability under this or any other warranty expressed or implied is limited to repair or replacement or refund as determined solely by Core Health & Fitness.
Repair, replacement or refund as determined solely by core health and fitness will be the sole and exclusive remedies for breach of warranty or any other legal theory including theories for the recovery of consequential or incidental damages. Some states do not allow the exclusion or limitation of incidental and consequential damages, so the above limitation may not apply
DISCLAIMER
The express warranties provided herein are the exclusive warranties given by Jacobs Ladder LLC and supersede any prior, contrary or additional representation/warranties, written or oral. ANY IMPLIED WARRANTIES, INCLUDING THE WARRANTY OF MERCHANTABILITY AND/OR FITNESS FOR A PARTICULAR PURPOSE THAT APPLY TO ANY PARTS DESCRIBED ABOVE ARE LIMITED IN DURATION TO THE PERIODS OF EXPRESS WARRANTIES GIVEN ABOVE FOR THOSE SAME PARTS. JACOBS LADDER HEREBY DISCLAIMS AND EXCLUDES THOSE WARRANTIES THEREAFTER. SOME STATES DO NOT ALLOW LIMITATION ON HOW LONG AN IMPLIED WARRANTY LASTS, SO THE ABOVE LIMITATION MAY NOT APPLY TO YOU. JACOBS LADDER LLC ALSO HEREBY DISCLAIMS AND EXCLUDES ALL OTHER OBLIGATIONS OR LIABILITIES, EXPRESS OR IMPLIED ARISING BY LAW OR OTHERWISE WITH REGARD TO ANY NONCONFORMANCE OR DEFECT IN ANY PRODUCT, INCLUDING BUT NOT LIMITED TO: (A) ANY OBLIGATION, LIABILITY, RIGHT, CLAIM, OR REMEDY IN TORT, WHETHER OR NOT ARISING FROM THE NEGLIGENCE OF JACOBS LADDER LLC OR ITS SUPPLIERS (WHETHER ACTIVE, PASSIVE OR IMPUTED) AND (B) ANY OBLIGATION, LIABILITY, RIGHT, CLAIM OR REMEDY FOR LOSS OF OR DAMAGE TO ANY EQUIPMENT. THIS DISCLAIMER AND RELEASE SHALL APPLY EVEN IF THE EXPRESS WARRANTY SET FORTH ABOVE FAILS IN ITS ESSENTIAL PURPOSE.
JACOBS LADDER LLC DISCLAIMS AND DOES NOT PROVIDE ANY EXPRESS WARRANTIES OR IMPLIED WARRANTIES OF MERCHANTABILITY AND/OR WARRANTY OF FITNESS FOR A PARTICULAR PURPOSE
of the Waist Belt, the Power Supply Cord or the Polar Heart Rate Monitor. Any warranty from Polar can be found and viewed on www.polarusa.com.
EXCLISIVE REMEDIES:
For any product described above that fails to conform to its warranty, Jacobs Ladder LLC Representative will exclusively provide repairs provided the equipment has not been subject to casualty, misuse, abuse, service or modification performed and not authorized by Jacobs Ladder LLC representative. Service must be obtained by calling Jacobs Ladder LLC at 1 (866) 697 4100. THESE SHALL BE THE SOLE AND EXCLUSIVE REMEDIES OF THE BUYER FOR ANY BREACH OF WARRANTY.
JACOBS LADDER LLC AND/OR ITS SUPPLIERS SHALL HAVE NO OBLIGATION OR LIABILITY, WHETHER ARISING IN CONTRACT (INCLUDING WARRANTY), TORT (INCLUDING ACTIVE, PASSIVE, OR IMPUTED NEGLIGENCE AND STRICT LIABILITY), OR OTHERWISE, FOR DAMAGE TO THE EQUIPMENT, PROPERTY DAMAGE, LOSS OF USE, REVENUE OR PROFIT, COST OF CAPITAL, COST OF SUBSTITUTE EQUIPMENT, ADDITIONAL COSTS INCURRED BY BUYER (BY WAY OF CORRECTION OR OTHERWISE) OR ANY OTHER INCIDENTAL, SPECIAL, INDIRECT, OR CONSEQUENTIAL DAMAGES, WHETHER RESULTING FROM NONDELIVERY OR FROM THE USE, MISUSE OR INABILITY TO USE THE PRODUCT. THIS EXCLUSION APPLIES EVEN IF THE ABOVE WARRANTY FAILS OF ITS ESSENTIAL PURPOSE AND REGARDLESS OF WHETHER SUCH DAMAGES ARE SOUGHT FOR BREACH OF WARRANTY, BREACH OF CONTRACT, NEGLIGENCE, OR STRICT LIABILITY IN TORT OR UNDER ANY OTHER LEGAL THEORY.
JACOBS LADDER LLC AND/OR ITS SUPPLIERS SHALL HAVE NO OBLIGATION OR LIABILITY, WHETHER ARISING IN CONTRACT (INCLUDING WARRANTY), TORT (INCLUDING ACTIVE, PASSIVE, OR IMPUTED NEGLIGENCE AND STRICT LIABILITY), OR OTHERWISE, FOR DAMAGE TO THE EQUIPMENT, PROPERTY DAMAGE, LOSS OF USE, REVENUE OR PROFIT, COST OF CAPITAL, COST OF SUBSTITUTE EQUIPMENT, ADDITIONAL COSTS INCURRED BY BUYER (BY WAY OF CORRECTION OR OTHERWISE) OR ANY OTHER INCIDENTAL, SPECIAL, INDIRECT, OR CONSEQUENTIAL DAMAGES, WHETHER RESULTING FROM NONDELIVERY OR FROM THE USE, MISUSE OR INABILITY TO USE THE PRODUCT. THIS EXCLUSION APPLIES EVEN IF THE ABOVE WARRANTY FAILS OF ITS ESSENTIAL PURPOSE AND REGARDLESS OF WHETHER SUCH DAMAGES ARE SOUGHT FOR BREACH OF WARRANTY, BREACH OF CONTRACT,
NEGLIGENCE, OR STRICT LIABILITY IN TORT OR UNDER ANY OTHER LEGAL THEORY.
HOW TO OBTAIN SERVICE
Do not attempt to service the ladder yourself except for the maintenance and diagnostic tasks described in the PREVENTATIVE MAINTENANCE section of this manual.
The Jacobs Ladder 2 does not contain any user-serviceable parts. For information about the product, contact the following:
To help customer service expedite your call, have the serial number of your unit readily available as well as Customer information and an accurate description of the state of the unit.
The serial number is located on the back of the ladder near the lower left corner.
Jacobs Ladder LLC
6292 Walmore Rd
Niagara Falls, NY 14304
USA
Tel: 1 866.697.4100
Fax: 1 716.692.1780
Email: [email protected]
Customer Support
CONTACT US:
Jacobs Ladder LLC
6292 Walmore Rd
Niagara Falls, NY 14304
1.866.697.4100 (toll free)
1.716.692.1780 (fax)
1.716.930.1285 (service)
[email protected]
[email protected]























