Life Fitness Power Mill Climber User Manual

© Copyright 2019, Life Fitness, a division of Brunswick Corporation. All Rights Reserved. Columbia Center III – 9525 West Bryn Mawr Ave., Rosemont, IL 60018 · 847-288-3300 www.lifefitness.com · 1008482-0001 AC · 2019
1. Getting Started
Safety Instructions
Read all instructions before use.
CAUTION: Any changes or modifications to this equipment could void the product warranty.
WARNING: To reduce the risk of burns, fire, electric shock, or injury, it is imperative to connect each product to a properly grounded electrical outlet.
WARNING: Heart rate monitoring systems may be inaccurate. Over-exercising may result in serious injury or death. If you feel faint, stop exercising immediately.
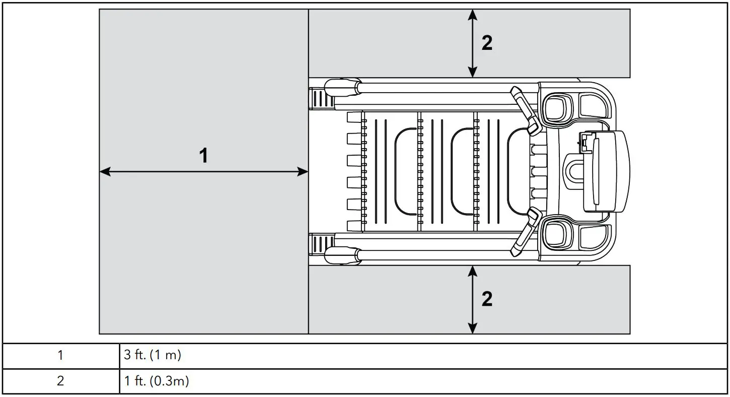
WARNING: Keep a distance of at least 3 ft. (1 m) behind and 1 ft. (0.3 m ) on each side of the unit clear of any obstructions, including walls, furniture, and other equipment.
DANGER: To reduce the risk of electrical shock or injury from moving parts, always unplug the product before cleaning or attempting any maintenance activity.
- The product should never be left unattended when plugged in. Disconnect from the electrical outlet when not in use, and before putting on or taking off parts.
- Never operate the product if it has a damaged power cord or electrical plug, or if it has been dropped, damaged, or even partially immersed in water. Contact Customer Support Services.
- Position the product so that the power cord plug to the wall is accessible to the user. Make sure that the power cord is not knotted or twisted and that it is not trapped under any equipment or other objects.
- If the electrical supply cord is damaged, it must be replaced by the manufacturer, an authorized service agent, or a similarly qualified person to avoid a hazard.
- Always follow the console instructions for proper operation.
- This appliance is not intended for use by persons (including children) with reduced physical, sensory, or mental capabilities, or lack of experience or knowledge unless they have supervision or been given instruction concerning the use of the appliance by a person responsible for their safety.
- Do not use this product outdoors, near swimming pools, or in areas of high humidity.
- Never operate the product with the air openings blocked. Keep air openings free of lint, hair, or any other obstructing material.
- Never insert objects into any opening in these products. If an object should drop inside, turn off the power, unplug the power cord from the outlet, and carefully retrieve it. If the item cannot be reached, contact Customer Support Services.
- Never place liquids of any type directly on the unit, except in an accessory tray or holder. Containers with lids are recommended.
- Do not use these products on bare feet. Always wear shoes. Wear shoes with rubber or high-traction soles. Do not use shoes with heels, leather soles, cleats, or spikes. Make sure no stones are embedded in the soles.
- This equipment is not intended for use by children. Keep children under the age of 14 away from the machine.
- Keep all loose clothing, shoelaces, and towels away from moving parts.
- Do not reach into, or underneath, the unit or tip it on its side during operation.
- Do not allow other people to interfere in any way with the user or equipment during a workout.
- Allow LCD consoles to “normalize” with respect to temperature for one hour before plugging the unit in and using.
- Use these products for their intended use as described in this manual. Do not use attachments that have not been recommended by the manufacturer.
- Keep the power cord away from heated surfaces. Do not pull the equipment by the power cord or use the cord as a handle.
- Handrails may be held to enhance stability as needed, but are not for continuous use.
- Never walk or jog backward on the unit.
- Do not use this product in areas where aerosol spray products are being used or where oxygen is being administered. Such substances create the danger of combustion and explosion.
- Read all warnings on each product prior to starting a workout.
- If warnings are missing or damaged, please contact Customer Support Services immediately for replacement warning labels. Warning labels are shipped with every product and should be installed before the product is used. Life Fitness is not responsible for missing or damaged warning labels.
- Unlike bikes, cross-trainers, or the traditional paddle stairclimbers, this is a motorized product. This motorized product causes stair steps to descend at variable rates and therefore operates on different planes simultaneously. While operating the product during a typical workout, the user is forced to fully concentrate on coordinating his or her efforts on the moving stairs. Therefore, the user cannot see if anyone or anything approaches from the rear. For these reasons, this unit is designed for use only in a controlled setting. The PowerMill Climber is not designed for use in the home and should not be used in an environment where children or animals might have access.
Electrical Power Requirements
The PowerMill with the Integrity and Discover consoles require an AC power supply according to the electrical configurations listed in the chart below.

NOTE: Do not modify the plug provided with this product. If the plug does not fit into an available electrical outlet, have a proper outlet installed by a qualified electrician.
Grounding Instructions
This product must be properly grounded. If the unit malfunctions or breaks down, proper grounding provides a path of least resistance for the electric current, which reduces the risk of shock to anyone touching or using the equipment. Each unit is equipped with an electrical cord, which includes an equipment grounding conductor and a grounding plug. The plug must be inserted into an outlet that has been properly installed and grounded in accordance with all local codes and ordinances.
NOTE: A temporary adapter MUST NOT BE USED to connect this plug to a two-pole receptacle in North America. If a properly grounded, 15-amp outlet is not available, one must be installed by a qualified electrician. For use on a nominal 120-V circuit, this product has a grounding plug that looks like the one in the accompanying illustration. Make sure that the product is connected to an outlet having the same configuration as the plug.

DANGER: A risk of electrical shock may result from the improper connection of the equipment grounding conductor. Check with a qualified electrician if in doubt as to proper grounding technique. DO NOT modify the plug provided with the product. If it will not fit an electrical outlet, have a proper outlet installed by a qualified electrician. Any modification to the electrical plug will result in a voided warranty.
Immobilization Method
The purpose of immobilizing the PowerMill is to prevent unauthorized use. The system causes immobilization of the PowerMill when a pre-defined hard key sequence has been activated. To prevent false toggling of the Immobilized feature, this sequence must be done in a 5-10 second period.
- Press the STOP key 3 times.
- Press the SPEED DOWN arrow key 3 times.
Specifications
Designed Use — Heavy / Commercial
Maximum User Weight — 400 lbs. / 181 kg
Ceiling Height Minimum — 9 ft. / 2.7 m
Usable Step Surface Area — 205 sq. in. (520.7 cm)
Power Requirements — 100 – 240 volts, 50/60 Hz, 5 Amps
Resistance Levels — 26 (0-25)
Heart Rate Monitoring Options — Patented LifepulseTM digital heart rate monitoring with DSP (digital signal processing) and Polar® telemetry (optional chest strap required)
Base Feature — SureStepSystemTM, MaxBloxTM steps with anti-pinch toe protectors, dual braking system, dual step-assist, integrated reading rack, wide two-tone stairs, integrated Smartphone accessory tray, removable cup holders, four wheels for easy mobility, thumb resistance controls

2. Product Overview
Product Features

Where to Place Unit
Following all Safety Instructions, move the unit to the location in which it will be used. See Specifications for the dimensions of the footprint. The location must have a minimum ceiling height of 9 ft. (2.7 m). Allow at least 3 ft. (1 m) behind the unit and 1 ft. (0.3 m ) on each side. Grasp the handlebars and use the step assists to mount the unit. To dismount; stop the unit, grasp the handlebars, and use the step assists to back off the machine.
Free area

How to Stabilize Unit
After placing the unit in position, check the unit’s stability by attempting to rock it. Any slight rocking indicates that the unit must be leveled. There are four stabilizing feet on the unit. Check the front and back stabilizing feet to determine which foot does not restfully on the floor. Rotate the foot counterclockwise to lower it. Recheck the stability and adjust again as needed until the unit is stable and no longer rocks. Lock the adjustment into position by tightening the jam nut against the stabilizer bar with an open-end 17mm wrench.
3. Assembly
Hardware and Required Tools

Hardware

Required Tools:
- 5mm Allen Wrench
- 6mm Allen Wrench
- Phillips Screwdriver
- 10mm Socket Wrench
- 17mm Socket Wrench with extension
- 17mm Open End Wrench (for levelers only)
- Ratchet
Remove Base from Base Pad

Install Step Assists

Install Left and Right Rear Uprights

Install Console Support Upright
- Place top cap gasket on console support upright.
- Route cables up through console support upright.
- Secure console support upright to base.

Install Top Cover
1. Install plastic grommets into the front panel shroud.

2. Use screws to secure the top cover to the base.

3. Slide the top cap gasket down the console support upright so it rests flat against the top cover.
Install Handlebars
1. Join the left and right rear handlebars to left and right “L” tubes (front handlebars). Secure using screws.

2. Secure the left and right handlebar assemblies to the console support upright and rear uprights.

Install Accessory Trays

Install Handlebar Covers

Install Accessory Cups

Base to Console Cable Connections – Discover / ST

Base to Console Cable Connections – Integrity

Attach Discover Console
1. Install screws securing middle console shroud to console cover.

2. Install screws securing console and console cover to console support upright.

Attach Integrity Console
- Secure ground screw to console.
- Use the remaining four M5 X 14 Phillips Pan Head Screws to secure both the console and rear console cover to the console support upright.

Attach Access Panels

Tighten Hardware and Verify Leg Leveler Position
Tighten all hardware and make sure all leg levelers are down.

Remove Line Cord Bracket and Secure Power Cord
1. Remove line cord bracket and screw.

2. Plug in the power cord and reattach the line cord bracket and screw.

4. Service and Technical Data
Preventive Maintenance Tips
The following preventive maintenance tips will keep the product operating at peak performance:
- Locate the product in a cool, dry place.
- Clean the top surface of the steps regularly.
- Clean the display console and all exterior surfaces with an approved or compatible cleaner (see Approved Cleaners) and a microfiber cloth.
- Long fingernails may damage or scratch the surface of the console; use the pad of the finger to press the selection buttons on the console.
NOTE: When cleaning the exterior of the unit, a non-abrasive cleaner and soft cotton cloth are strongly recommended. At no time should cleaner be applied directly to any part of the equipment.
Approved and Compatible Cleaners
Two preferred cleaners have been approved by reliability experts: PureGreen 24 and Gym Wipes. Both cleaners will safely and effectively remove dirt, grime, and sweat from equipment. PureGreen 24 and the Antibacterial Force formula of Gym Wipes are both disinfectants that are effective against MRSA and H1N1.
PureGreen 24 is available in a spray that is convenient for gym staff to use. Apply the spray to a microfiber cloth and wipe down the equipment. Use PureGreen 24 on the equipment for at least 2 minutes for general disinfection purposes and at least 10 minutes for fungus and viral control.
Gym Wipes are large, durable pre-moistened wipes to use on the equipment before and after workouts. Use Gym Wipes on the equipment for at least 2 minutes for general disinfection purposes.
Contact Customer Support Services to order these cleaners (1-800-351-3737 or email: [email protected]).
Mild soap and water or a mild non-abrasive household cleaner can also be used to clean the display and all exterior surfaces. Use a soft microfiber cloth only. Apply the cleaner to the microfiber cloth before cleaning. DO NOT use ammonia or acid-based cleaners. DO NOT use abrasive cleaners. DO NOT use paper towels. DO NOT apply cleaners directly to the equipment surfaces.
Preventive Maintenance Schedule


Belt Inspection – Brake and Drive belts
The PowerMill has two belts. A brake belt and a drive belt.

Inspect belts for cracking or wear.
Belt Cracking

If cracks appear 2 cm or less apart, then 80% of the belt life is gone and the belt should be replaced.
Belt Wear (Material Loss)

If the material loss is occurring, as shown above, the belt should be replaced.
NOTE: If the belt between the motor and the brake is removed for any reason, it must be replaced with a new one.
Corporate Headquarters
Columbia Centre III, 9525 West Bryn Mawr Avenue, Rosemont, Illinois 60018 · U.S.A. 847.288.3300 · FAX: 847.288.3703
Service phone number: 800.351.3737 (toll-free within the U.S.A., Canada) Global Website: www.lifefitness.com
User and Service Documents Link
Operation Manuals and other Product Information available at https://www.lftechsupport.com/web/document-library/documents
International Offices
AMERICAS
North America
Life Fitness, Inc
Columbia Centre III
9525 West Bryn Mawr Avenue
Rosemont, IL 60018 U.S.A.
Telephone: (847) 288 3300
Service Email: [email protected]
Sales/Marketing Email: [email protected]
United Kingdom
Life Fitness UK LTD
Queen Adelaide
Ely, Cambs, CB7 4UB
Telephone: General Office (+44) 1353.666017
Customer Support (+44) 1353.665507
Service Email: [email protected]
Sales/Marketing Email: [email protected]
All Other EMEA Countries and Distributor
Business EMEA*
Bijdorpplein 25-31
2992 LB Barendrecht
THE NETHERLANDS
Telephone: (+31) 180 646 644
Service Email: [email protected]
Brazil
Life Fitness Brasil
Av. Rebouças, 2315
Pinheiros
São Paulo, SP 05401-300
BRAZIL
SAC: 0800 773 8282 option 2
Telephone: +55 (11) 3095 5200 option 2
Service Email: [email protected]
Sales/Marketing Email: [email protected]
Germany, Austria, and Switzerland
Life Fitness Europe GMBH
Neuhofweg 9
85716 Unterschleißheim
GERMANY
Telephone:
+49 (0) 89 / 31775166 Germany
+43 (0) 1 / 6157198 Austria
+41 (0) 848 / 000901 Switzerland
Service Email: [email protected]
Sales/Marketing Email: [email protected]
ASIA PACIFIC (AP)
Japan
Life Fitness Japan, Ltd
4-17-33 Minami Aoyama 1F/B1F
Minato-ku – Tokyo 107-0062
Japan
Telephone: (+81) 0120.114.482
Fax: (+81) 03-5770-5059
Service Email: [email protected]
Sales/Marketing Email: [email protected]
Latin America and the Caribbean*
Life Fitness, Inc.
Columbia Centre III
9525 West Bryn Mawr Avenue
Rosemont, IL 60018 U.S.A.
Telephone: (847) 288 3300
Service Email: [email protected]
Sales/Marketing Email: [email protected]
Spain
Life Fitness IBERIA
C/Frederic Mompou 5,1º1ª
08960 Sant Just Desvern Barcelona
SPAIN
Telephone: (+34) 93.672.4660
Service Email: [email protected]
Sales/Marketing Email: [email protected]
Hong Kong
Life Fitness Asia Pacific LTD
32/F, Global Trade Square
21 Wong Chuk Hang Road
Hong Kong
Telephone: (+852) 2575.6262
Service Email: [email protected]
Sales/Marketing Email: [email protected]
EUROPE, MIDDLE EAST, and AFRICA (EMEA)
Netherlands and Luxemburg
Life Fitness Atlantic BV
Bijdorpplein 25-31
2992 LB Barendrecht
THE NETHERLANDS
Telephone: (+31) 180 646 666
Service Email: [email protected]
Sales/Marketing Email:[email protected]
Belgium
Life Fitness Benelux NV
Parc Industrial de Petit-Rechain
4800 Verviers
BELGIUM
Telephone: (+32) 87 300 942
Service Email: [email protected]
Sales/Marketing Email: [email protected]
All Other Asia Pacific countries and distributor
business Asia Pacific*
32/F, Global Trade Square
21 Wong Chuk Hang Road
Hong Kong
Telephone: (+852) 2575.6262
Fax: (+852) 2575.6894
Service Email: [email protected]
Sales/Marketing Email: [email protected]
*Also check www.lifefitness.com for local representation or distributor/dealer
References
📧[email protected]
📧[email protected]
📧[email protected]
📧[email protected]
📧[email protected]
📧[email protected]
📧[email protected]
📧[email protected]
📧[email protected]
📧[email protected]
📧[email protected]
📧[email protected]
📧[email protected]
📧[email protected]
📧[email protected]
📧[email protected]
📧[email protected]
📧[email protected]
Fitness & Exercise Equipment for Your Facility or Home | Life Fitness
Life Fitness Technical Support - Documents & Software















