OTTO PP293235WAA Multifunctional Climbing Frame

Congratulations for choosing this product. Before using this product for the first time, please read the manual carefully and use the equipment only as described in the manual to avoid hazards and personal injury. Please retain this manual for future reference
CAUTION
Read all precautions and instructions in this manual before using this equipment. If you have any questions about this product, please consult your supplier in time.
BEFORE YOU BEGIN
Warnings
- Warning. The minimum user age is 3 years old; the maximum user age is 8 years old.
- Warning. This activity toy is for indoor use.
- Warning. The maximum user weight is 50kg.
- Warning. Only for domestic use
Precautions
- It is recommended to place the activity toy on a level surtace at least2m from any structure or obstruction such as a fence, garage, house, overhanging branches, laundry lines or electrical wires.
- For the safety of your child, the minimum clearance between the swing and the ground is 350mm, please adjust the height of the swing appropriately.
- This activity toys shall not be installed over concrete, asphalt or any other hard surtace.
- Please do not turn slide toward sun to avoid prolonged direct sunlight.
- It is not recommended that more than one user use the device at the same time, otherwise it may cause danger.
- Please keep the assembly and installation instructions for further reference.
- Do not make modifications to the structure of the toy or add accessories easily. For special requirements, please consult your supplier.
- Toys must be used under the direct supervision of an adult.
- Toys are for household use only.
- The packaging part is not a toy, please do not take it out to play to avoid danger.
FAILURE TO ABIDE BY THIS INSTALLATION STEPS MAY CAUSE INCORRECT INSTALLATION. THUS, NEED TO RE-INSTALL, OR EVEN CAUSE THE DEVICE TO BE UNSTABLE, RESULTING IN MORE SERIOUS CONSEQUENCES.
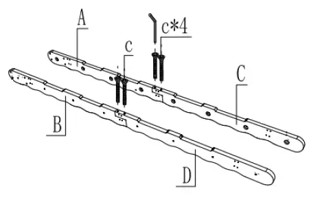
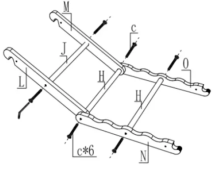
Part list

Installation instruction
- Connect A and C, B and D correspondingly together, and fix it with 4 pieces of M6*35 screws.

- Insert 7 pieces of E round sticks into the corresponding round holes and fix them with 14 pieces of M6*35 screws. Set aside for later use after installation

- Insert 2 pieces of H round sticks and k with lifting ring into F and G, and fix them with 6 pieces of M6*35. Set aside for later use after installation.

- Insert 1 piece of round stick J into L and M and fix it with 2 M6*35 screws, then Insert 1 piece of round stick H into L and M, at the same time, connect it with N and O, fixed with 2 pieces of M6*35. Finally, insert a H into O and N and fix it with 2 pieces of M6*35. Set aside for later use after installation

- Connect the 2 slide side panels Q to the slide R and fix it with 8 pieces of M6*35. Set aside for later use after installation.

- Connect the parts installed in the second and third steps with 8 pieces of M6*50. Set aside for later use after installation.

- Use 24 pieces of M3*25 screws to connect wall mounted accessories and product brackets.

- First, open six small holes on the wall suitable for M6*60 screws according to the position of the center round hole of the six wall-hanging iron pieces of the climbing frame. Second, put the M6*60 into the holes, tighten it. and then unscrew the nut, then align the wall-mounted iron piece of the climbing frame with the hole, insert the nut into the center hole of the iron piece and tighten. Finally, each iron piece is fixed again with 4 M3*25 screws

- Use 4 pieces of M6*30 screws to fix the part installed in the fourth step into the main frame.

- Place the slide on the first or second round stick of the main body, and the whole installation procedure is complete (please do not place it on the third or upper round stick, otherwise it will cause danger due to the excessive inclination angle)

Maintenance instructions
At the beginning of each season as well as at regular intervals during the usage season, Product should be checked and you should follow maintenance instructions:
- check all nuts and bolts for tightness and tighten when required;
- oil all metallic moving parts;
- check all coverings for bolts and sharp edges and replace when required;
- check swing seats, chains, ropes and other means of attachments for evidence of deterioration;
- replace defective parts in accordance with the manufacturer’s instructions.
The main parts (such as swing seat, supports, hand rings, slide, ladders.etc) should be checked and maintained at regular intervals. If checks are not carried out, the activity toy could overturn or become a fall off hazard.
Decobus Handel GmbH Ritscherstraße 11,21244 Buchholz i.d.N.,Deutschland





























