KAYOBA 003153 Home Gym Exercise Machine

Parts List

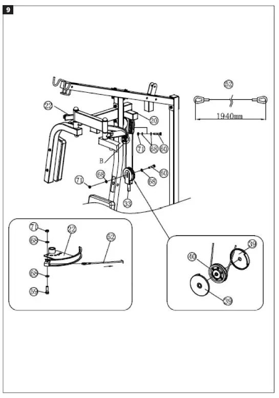
INSTALLATION











SAFETY INSTRUCTIONS
- Follow the assembly instructions carefully.
- Check all screws, nuts and other connections before using the machine for the first time, and check that it is in safe condition.
- Place the machine on a level surface,away from water and moisture.
- Use a protective covering (e.g. rubber mat, wooden board) when assembling the machine.
- Remove all objects within a radius of 2 metres from the machine before starting to exercise.
- Do not use strong detergents to clean the machine. Use the supplied tools, or your own suitable tools to assemble or repair the machine. Wipe off moisture and sweat after each session.
- Incorrect or excessive exercise can be harmful. Consult your doctor before starting a training programme. You can be advised about suitable levels for pulse, exertion, duration etc. The appliance is not suitable for physiotherapy.
- Check that the machine is in good condition before using it. Only use original spare parts.
- Wear suitable training clothing and shoes.
- Stop training immediately and consult a doctor if you are affected by dizziness, nausea, or other symptoms.
- Children and handicapped persons must only use the machine under the supervision of a person who can provide assistance and advice.
- The maximum permitted user weight is 700 kg.
NOTE:
After some time, check that the wires are correctly tensioned and that they run in the pulleys.
DESCRIPTION
ASSEMBLY PARTS
| No. | Designation | Qty | |
| 1 | Upper vertical bar | 1 | |
| 2 | Base frame | 1 | |
| 3 | Top frame | 1 | |
| 4 | Lower back bar | 1 | |
| 5 | Back bar | 1 | |
| 6 | Seat support | 1 | |
| 7 | Seat frame | 1 | |
| 8 | Frame to adjust seat | 1 | |
| 9 | Seat | 1 | |
| 10 | Upright | 1 | |
| 11 | Frame with press bar | 1 | |
| 12 | Left press frame | 1 | |
| 13 | Right press frame | 1 | |
| 14 | Foam roller | 4 | |
| 15 | Foam roller | 1 | |
| 16 | Foam roller | 1 | |
| 17 | Frame | 1 | |
| 18 | Frame to adjust backrest | 1 | |
| 19 | Backrest | 1 | |
| 20 | Frame for pulley | 1 | |
| 21 | Frame for arm | 1 | |
| 22 | Wire guide | 2 | |
| 23 | Right hand support | 1 | |
| 24 | Left hand support | 1 | |
| 25 | Plate | 2 | |
| 26 | Lat bar | 1 | |
| 27 | Straight bar | 1 | |
| 28 | Fastener | ||
| 29 | Guard | 2 | |
| 30 | Weights bar | 2 | |
| 31 | Adjuster | 1 | |





















