Weider 8530 Home Gym

IMPORTANT PRECAUTIONS
WARNING: To reduce the risk of serious injury, read the following important precautions before using the home gym system.
- Read all instructions in this manual and in the accompanying literature before using the home gym system.
- Use the home gym system only on a level surface. Cover the floor beneath the home gym system to protect the floor or carpet.
- Inspect and properly tighten all parts often. Replace any worn parts immediately.
- Keep small children and pets away from the home gym system at all times.
- Always wear athletic shoes for foot protection.
- Keep hands and feet away from moving parts. Keep hands away from the squat arm upright when the squat arm is being used. Your hand could become pinched between the squat arm upright and the squat arm.
- Always stand on a foot plate when performing an exercise that could cause the home gym system to tip.
- Never release the press arm, butterfly arms, squat arm, leg lever, lat bar or nylon strap while weights are raised. The weights will fall with great force.
- Do not use the VKR station when either weight stack is in use.
- Make sure that the cables remain on the pul-leys at all times. If the cables bind while you are exercising, stop immediately and make sure that the cables are on all of the pulleys.
- Always disconnect the lat bar from the home gym system when performing an exercise that does not use the lat bar.
- If you feel pain or dizziness at any time while exercising, stop immediately and begin cooling down.
- It is the responsibility of the owner to ensure that all users of this home gym system are adequately informed of all warnings and precautions.
WARNING: Before beginning, this or any exercise program, consult your physician. This is especially important for persons over the age of 35 or persons with pre-existing health problems. Read all instructions before using. ICON assumes no responsibility for personal injury or property damage sustained by or through the use of this product.
BEFORE YOU BEGIN
Thank you for selecting the versatile WEIDER® 8530 home gym system. The WEIDER® 8530 offers a selection of weight stations designed to develop every major muscle group of the body. Whether your goal is to tone your body, build dramatic muscle size and strength, or improve your cardiovascular system, the WEIDER® 8530 will help you to achieve the specific results you want.
For your benefit, read this manual carefully before using the home gym system. If you have questions
after reading this manual, call our Customer Service Department at 1-888-936-4266, Monday through Friday, 8h00 until 18h00 Eastern Time (excluding holidays). To help us assist you, please note the product model number and serial number before calling. The model number is WESY8530C2. The serial number can be found on a decal attached to the home gym system (see the front cover of this manual).
Before reading further, please familiarize yourself with the parts that are labeled in the drawing below. 
ASSEMBLY
Before beginning assembly, carefully read the following information and instructions:
- Place all parts of the home gym system in a cleared area and remove the packing materials; do not dispose of the packing materials until assembly is completed.
- Assembly is divided into five stages: 1) frame assembly, 2) press and butterfly arm assembly,
3) cable and pulley assembly, 4) seat and back-rest assembly, and 5) VKR assembly. The hardware for each stage is packaged separately. - Wait until you begin each assembly stage to open the parts bag labeled for that assembly stage.
- For help identifying the small parts used in the assembly, use the PART IDENTIFICATION CHART located in the center of this manual. Note: Some small parts may have been pre-attached for shipping. If a part is not in the parts bag, check to see if it has been pre-attached.
- As you assemble the home gym system, be sure that all parts are oriented as shown in the drawings.
- Tighten all parts as you assemble them unless instructed to do otherwise.
THE FOLLOWING TOOLS (NOT INCLUDED) ARE REQUIRED FOR ASSEMBLY:
- Two adjustable wrenches
- One standard screwdriver
- One Phillips screwdriver
- One rubber mallet
- Lubricants, such as grease or petroleum jelly, and soapy water will also be needed.

Assembly will be more convenient if you have the following tools: A socket set, a set of open-end or closed-end wrenches, or a set of ratchet wrenches.
- Before beginning assembly, be sure that you have read and understand the infor-mation in the box above.
Press a 2” Inner Cap (27) into the indicated end of the Stabilizer (5). Press 2” Outer Caps (51) onto the other two locations on the Stabilizer. Press a 2” Inner Cap into the end of the Base (4).
Insert four 5/16” x 2 1/2” Carriage Bolts (1) up through the Stabilizer (5).
Attach the Base (4) to the Stabilizer (5) with two 5/16” x 2 3/4” Bolts (11), two 5/16” Flat Washers (8), and two 5/16” Nylon Locknuts (3). Do not tighten the Nylon Locknuts yet.
Slide the VKR Upright (74) and the Squat Arm Upright (56) onto the 5/16” x 2 1/2” Carriage Bolts (1) in the Stabilizer (5). The high side of the brackets on the VKR Upright and Squat Arm Upright should be on the side shown. Hand-tighten four 5/16” Nylon Locknuts (3) onto the Carriage Bolts. Do not tighten the Nylon Locknuts yet.
- Insert two 5/16” x 2 1/2” Carriage Bolts (1) up through the Base (4).
Slide the Front Upright (42) onto the 5/16” x 2 1/2” Carriage Bolts (1) in the Base (4). Hand-tighten a 5/16” Nylon Locknut (3) onto each Carriage Bolt. Do not tighten the Nylon Locknuts yet.
Press a 1” Inner Cap (6) into the Front Upright (42). Press a 2” Inner Cap (27) into the Squat Upright (56). Press a 2” Inner Cap into the VKR Upright (74).
- Press a 2” Inner Cap (27) into the end of the Top Frame (55). Press a 1 3/4” Inner Cap (44) into each end of the crossbar on the Top Frame. Press two Inner Caps (96) into the top of the crossbar.
Attach the Top Frame (55) to the Front Upright (42) with two 5/16” x 2 3/4” Bolts (11), two 5/16” Flat Washers (8), and two 5/16” Nylon Locknuts (3).
Attach the Top Frame (55) to the VKR Upright (74) and the Squat Upright (56) with two 5/16” x 2 3/4” Bolts (11) and two 5/16” Nylon Locknuts (3).
Tighten all of the 5/16” Nylon Locknuts (3) used in steps 1–3. - Set two Weight Bumpers (19) on the bracket on the Base (4) as shown. Set two Weight Bumpers (19) on the bracket on the Stabilizer (5).
Stack eight Weights (25) onto each set of Weight Bumpers (19). Be sure that the pin grooves are all on the same side of each stack of Weights.
Be careful not to tip either stack of Weights (25) until step 6 is complete.
- Press a Weight Tube Bumper (64) into the end of a Weight Tube (63). Insert the Weight Tube into the front stack of Weights (25). Be sure that the pins on the Weight Tube are sitting in the pin grooves in the top Weight.
Lubricate the inside of the holes in a Top Weight (65). Set the Top Weight onto the front stack of Weights (25). Insert both Long Weight Guides (62) into the stack of Weights. Be sure that the holes in the Weight Guides are at the top, as shown.
- Press a Weight Tube Bumper (64) into the end of the other Weight Tube (63). Insert the Weight Tube into the rear stack of Weights (25). Be sure that the pins on the Weight Tube are sitting in the pin grooves in the top Weight.
Lubricate the inside of the holes in the other Top Weight (65). Set the Top Weight onto the rear stack of Weights (25). Insert both Short Weight Guides (73) into the stack of Weights. Be sure that the holes in the Weight Guides are at the top, as shown.
- Attach the upper ends of the Long Weight Guides (62) to the Top Frame (55) with a
5/16” x 6” Bolt (60), two 1/2” x 3/4” Spacers (61), and a 5/16” Nylon Locknut (3).
Be sure that the Pulley Bracket (20) is in front of the right Long Weight Guide (62) as shown.
Attach the upper ends of the Short Weight Guides (73) to the Top Frame (55) with a
5/16” x 6” Bolt (60), two 1/2” x 3/4” Spacers (61), and a 5/16” Nylon Locknut (3). - Press a 1” x 7/8” Plastic Bushing (90) onto each welded spacer on the Press Frame (17). Slide the Press Frame into place onto the Base (4). Note: This will be a tight fit. The Plastic Bushings should fit on each end of the indicated tube in the Base. Make sure that the pulleys are on the side shown. Lubricate the 3/8” x 8” Bolt (59). Attach the Press Frame (17) to the Base (4) with the
3/8” x 8” Bolt and a 3/8” Nylon Locknut (21).
- Wet the handle of one Press Arm (46) with soapy water. Slide a 5” Plastic Grip (83) onto the handle. Press a 1” Round Inner Cap (49) into the other end of the handle. Press a
1 3/4” Inner Cap (44) into the Press Arm.
Attach the Press Arm (46) to one side of the Press Frame (17) with two 5/16” x 2 1/2” Bolts (22) and two 5/16” Nylon Locknuts (3).
Assemble the other Press Arm (46) in the same manner. - Identify the Right Arm (48) and the Left Arm (47). Note the position of the welded bracket on each Arm. Arm identification is very important for step 11.
Attach a “V”-Pulley (50) and a Long Cable Trap (31) to the Right Arm (48) with a 3/8” x 2 1/2” Bolt (86) and a 3/8” Nylon Locknut
(21).
Attach a “V”-Pulley (50) and a Long Cable Trap (31) to the Left Arm (47) in the same manner.
- Lubricate both axles on the Top Frame (55). Slide the Right Arm (48) onto the right axle. Be careful not to confuse the Right Arm with the Left Arm (47); note the position of the “V” Pulley (50) to identify the Right Arm. Be sure that the upper end of the Right Arm is behind the indicated bracket on the Top Frame (55).
Tap two 1” Retainers (69) and a 1” Round Cover Cap (70) onto the axle. Be sure that the teeth on the Retainers bend toward the Round Cover Cap, as shown in the inset drawing.
Attach the Left Arm (47) in the same manner.
Press 1 3/4” Inner Caps (44) into the lower ends of the Left and Right Arms (47, 48). Wet the lower end of each Arm with soapy water. Slide a 10” Pad (45) onto the lower end of each Arm.
- Press two 1” x 2” Inner Caps (87) into the indicated end of the Squat Arm (84).
Attach the Squat Arm (84) to the VKR Upright
(74) with a 3/8” x 5 1/2” Bolt (93) and a 3/8” Nylon Locknut (21). Be sure that the indicated bracket is pointing down as shown. Wet the ends of the Squat Arm (84) with soapy water. Slide the two Squat Arm Pads (85) onto the Squat Arm.
Attach a Handle (82) to one side of the Squat Arm (84) with a 5/16” x 2 1/2” Bolt (22), two 5/16” Flat Washers (8), a 1/2” x 17/32” Spacer (91), and a 5/16” Nylon Locknut (3).
Wet the Handle (82) with soapy water. Slide a 5” Plastic Grip (83) onto the Handle. Press a 1” Round Inner Cap (49) into the other end of the Handle.
Assemble another Handle (82) to the other side of the Squat Arm (84) in the same man-ner.
During steps 13 to 25, refer to the CABLE DIA-GRAM on page 19 of this manual. Identify the three cables by their lengths, and note the positions of the cable traps. IMPORTANT: Do not overtighten the bolts and nuts securing the pulleys. The pulleys must turn freely. - Locate the Medium Cable (58). Route the Medium Cable around the indicated 3 1/2” Pulley (15) attached to the Top Frame (55). Be sure that the ball is on the indicated side of the Pulley and that the Cable is between the Pulley and the hook. Tighten the 3/8” x 3 3/4” Bolt (88) and the 3/8” Nylon Locknut (not shown).
- Wrap the Medium Cable (58) around a “V”-Pulley (50). Attach the “V”-Pulley and a Long Cable Trap (31) to the indicated bracket on the Front Upright (42) with a 3/8” x 2 1/2” Bolt (86) and a 3/8” Nylon Locknut (21). Be sure that the Long Cable Trap is positioned to hold the Cable in place.
Route the Medium Cable (58) around the “V”-Pulley (50) on the Left Arm (47). Be sure that the Cable is in the groove of the Pulley and that the Long Cable Trap (31) holds the Cable in place. Tighten the 3/8” x 2 1/2” Bolt (86) and the 3/8” Nylon Locknut (not shown).
- Route the Medium Cable (58) around the “V”-Pulley (50) on the Right Arm (48). Be sure that the Cable is in the groove of the “V”-Pulley and that the Long Cable Trap (31) is positioned to hold the Cable in place. Tighten the 3/8” x 2 1/2” Bolt (86) and the 3/8” Nylon Locknut (not shown).
Route the Medium Cable (58) around the
3 1/2” Pulley (15) attached to the Pulley Bracket (20). Be sure that the Cable is in the groove of the Pulley and that the Cable Trap (66) holds the Cable in place. Tighten the 3/8” Nylon Locknut (21) and the 3/8” x 2” Bolt (not shown). Tighten the 5/16″ x 5” Bolt (68) and the 5/16″ Nylon Locknut (not shown). Be sure that the Pulley Bracket swivels freely. - See the inset drawing. Attach a 3 1/2” Pulley
(15) and a Cable Trap (66) to the upper hole in the Long “U”-Bracket (57) with a 3/8” x 2” Bolt (12) and a 3/8” Nylon Locknut (21). Be sure that the Cable Trap is inside the Long “U”-Bracket. (Note: This may come pre-assembled.)
Route the Medium Cable (58) through the
3 1/2” Pulley (15) and Long “U”-Bracket (57) shown in the inset drawing. Be sure that the Cable is in the groove of the Pulley and that the Cable and Pulley move smoothly. - Route the Medium Cable (58) around the
3 1/2” Pulley (15) attached to the bracket on the Top Frame (55). Tighten the 3/8” x 2” Bolt (12) and the 3/8” Nylon Locknut (21). (Note: This Pulley is pre-assembled. It has been shown disassembled for easy part identification.) Be sure that the Cable is in the groove of the Pulley and that the Cable and Pulley move smoothly.
18. Remove the 3 1/2” Low Pulley (95) from the Press Frame (17). Reattach the Pulley with the 5/8” x 9/16” Spacer (7) between the Pulley and the Press Frame. Hand-tighten the 3/8” Nylon Locknut (21).
Locate the Short Cable (23). Route the Short Cable under the 3 1/2” Low Pulley (95). Be sure that the end of the Cable with the ball is on the indicated side of the Press Frame (17) and that the Cable is between the Pulley and the crossbar on the Press Frame. Tighten the 3/8” Nylon Locknut (21) and 3/8” x 3 3/4” Bolt (88).
Route the Short Cable (23) around the 3 1/2” Pulley (15) attached to the lower hole in the Front Upright (42). Be sure that the Cable Trap (not shown) is turned to hold the Cable in place and that the Cable is routed around the Pulley as shown. Tighten the 3/8” Nylon Locknut (21) and 3/8” x 3 3/4” Bolt (not shown).
- Route the Short Cable (23) around the 3 1/2” Pulley (15) attached to the upper hole in the Press Frame (17). Be sure that the Cable Trap (66) is in the “3 o’clock” position and that the Cable is routed around the Pulley as shown. Tighten the 3/8” Nylon Locknut
(21) and 3/8” x 3 1/2” Bolt (not shown). - Route the Short Cable (23) around the 3 1/2” Pulley (15) attached to the upper hole in the Front Upright (42). Be sure that the Cable Trap (not shown) is turned to hold the Cable in place and that the Cable is routed around the Pulley as shown. Tighten the 3/8” Nylon Locknut (21) and 3/8” x 3 3/4” Bolt (not shown).
- Attach the end of the Short Cable (23) to the Long “U”-Bracket (57) with a 1/4” Nylon Locknut (2) and a 1/4” Flat Washer (10). Do not tighten the 1/4” Nylon Locknut. It should be threaded onto the Cable only a couple of turns.

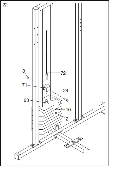
- Attach the Medium Cable (58) to a Small “U”-Bracket (71) with a 1/4” Nylon Locknut (2) and a 1/4” Flat Washer (10). Do not tighten the 1/4” Nylon Locknut. It should be threaded onto the Cable only a couple of turns.
Attach the Small “U”-Bracket (71) to the indi-cated Weight Tube (63) with a 5/16” x 1 3/4” Bolt (24) and a 5/16” Nylon Locknut (3).
- Locate the Long Cable (72). Attach the Long Cable to the other Small “U”-Bracket (71) with a 1/4” Nylon Locknut (2) and a 1/4” Flat Washer (10). Do not tighten the 1/4” Nylon Locknut. It should be threaded onto the Cable only a couple of turns.
Attach the Small “U”-Bracket (71) to the indicated Weight Tube (63) with a 5/16” x 1 3/4” Bolt (24) and a 5/16” Nylon Locknut (3).
- Route the Long Cable (72) around the 3 1/2” Pulley (15) on the Top Frame (55). Tighten the 3/8” Nylon Locknut (21) and the 3/8” x 2” Bolt (not shown).
See inset drawing. Wrap the Long Cable (72) around a 3 1/2” Pulley (15). Attach the Pulley and a Cable Trap (66) to the bracket on the Stabilizer (5) with a 3/8” x 2” Bolt (12) and a 3/8” Nylon Locknut (21). Be sure that the Cable Trap is turned to hold the Cable in place.
- Wrap the Long Cable (72) around a 3 1/2” Pulley (15). Attach the Pulley and a Cable Trap (66) to the Squat Arm (84) with the 3/8” x 2 1/4” Bolt (94) and a 3/8” Jam Nut (92). Be sure that the 3/8” Jam Nut is on the side shown and that the Cable Trap is posi-tioned to hold the Cable in place.

- See inset drawing A. Note: The inset draw-ing shows the view from the other side of the Squat Arm Upright (56). Wrap the Long Cable (72) around a “V”-Pulley (50). Attach the “V”-Pulley and a Long Cable Trap (31) to the top hole in the Squat Arm Upright with the 3/8” x 5” Bolt (67), the 5/8” x 3/8” Spacer (76), a 3/8” Flat Washer (9), and a 3/8” Nylon Locknut (21). Position the Long Cable Trap (31) as shown.
See inset drawing B. Note: The inset draw-ing shows the view from the other side of the Squat Arm Upright (56). Slide the end of the Long Cable (72) onto the end of the 3/8” x 2 1/4” Bolt (94). Thread another 3/8” Jam Nut (92) onto the Bolt. Do not tighten the sec-ond Jam Nut. There must be room between the two Jam Nuts for the end of the Cable to pivot.
- 26. Attach the Backrest (41) to the Front Upright (42) with two 1/4” x 2 1/2” Screws (43) and two 1/4” Flat Washers (10).

- Press a 1 1/2” Inner Cap (32) into the Seat Frame (36).
Insert a 1/4” x 2” Carriage Bolt (38) through the center hole in the Seat Plate (37). Attach the Seat Plate to the Seat (13) with two 1/4” x 3/4” Screws (18).
Insert the 1/4” x 2” Carriage Bolt (38) through the indicated hole in the Seat Frame (36). Tighten a 1/4” Nylon Locknut (2) with a 1/4” Flat Washer (10) onto the Carriage Bolt.
Attach the other end of the Seat (13) to the Seat Frame (36) with a 1/4” Flat Washer (10) and a 1/4” x 2” Machine Screw (81). - Press a 1 1/2” Inner Cap (32) into the Leg Lever (29).
Lubricate the 5/16” x 2 1/4” Bolt (33). Attach the Leg Lever (29) to the Seat Frame (36) with the 5/16” x 2 1/4” Bolt and a 5/16” Nylon Locknut (3).
Insert the 3/8” x 2” Eyebolt (35) into the Leg Lever (29) from the direction shown. Tighten a 3/8” Nylon Locknut (21) with a 3/8” Flat Washer (9) onto the Eyebolt.
- Rest the Seat Frame (36) on the indicated pin in the Front Upright (42). Attach the Seat Frame to the Front Upright with a 5/16” x 2 3/4” Carriage Bolt (14) and the Seat Knob (40).
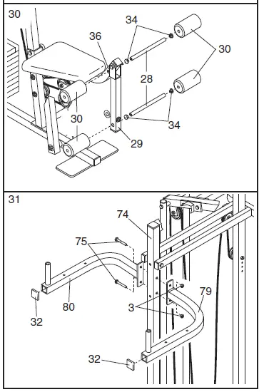
- Press two 3/4” Round Inner Caps (34) into each 13 1/2” Pad Tube (28).
Insert one 13 1/2” Pad Tube (28) into the Seat Frame (36). Slide a 6” Pad (30) onto each end of the Pad Tube.
Insert the other 13 1/2” Pad Tube (28) into the Leg Lever (29). Slide a 6” Foam Pad (30) onto each end of the Pad Tube.
- Press 1 1/2” Inner Caps (32) into the ends of the Left VKR Arm (79) and the Right VKR Arm (80).
Attach the Left VKR Arm (79) and the Right VKR Arm (80) to the VKR Upright (74) with two 5/16” x 3” Bolts (75) and two 5/16” Nylon Locknuts (3). - Wet the handle on the Right VKR Arm (80) with soapy water. Slide a 5” Plastic Grip (83) onto the Handle. Press a 1” Round Inner Cap
(49) into the bottom of the handle. Attach a 5” Plastic Grip (83) and a 1” Round Inner Cap (49) to the handle on the Left VKR Arm (79) in the same manner. - Attach a VKR Armrest (78) to the Right VKR Arm (80) with two 1/4” x 2” Machine Screws
(81) and two 1/4” Flat Washers (10). Attach a VKR Armrest (78) to the Left VKR Arm (79) in the same manner.
Attach the VKR Backrest (77) to the VKR Upright (74) with two 1/4” x 2 1/2” Screws (43) and two 1/4” Flat Washers (10).
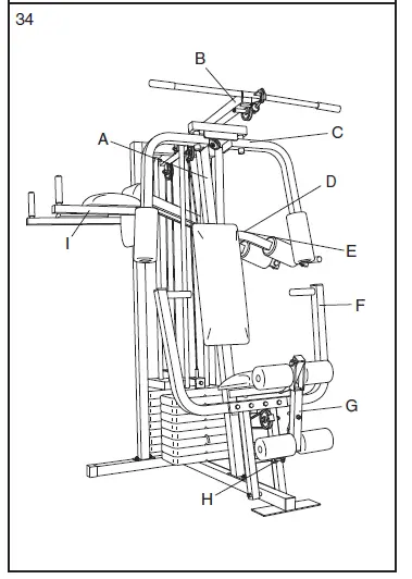
- Remove the decals from the Decal Sheet (not shown) and apply them to the home gym sys-tem in the locations shown:
- A—8530
- B—HIGH PULLEY
- C—BUTTERFLY
- D—MILITARY PRESS
- E—SQUAT STATION
- F —BENCH PRESS
- G—LEG DEVELOPER
- H—LOW PULLEY
- I —VKR

Make sure that all parts have been properly tight-end. The use of the remaining parts will be explained in HOW TO USE THE HOME GYM SYSTEM, beginning on page 17 of this manual.
Before using the home gym system, pull each cable a few times to be sure that the cables move smoothly over the pulleys. If one of the cables does not move smoothly, find and correct the problem.
IMPORTANT: If the cables are not properly installed, they may be damaged when heavy weight is used. See the CABLE DIA-GRAM on page 20 of this manual for proper cable routing. If there is any slack in the cables, the cables should be tightened. See TROUBLESHOOTING AND MAINTENANCE on page 19.
HOW TO USE THE HOME GYM SYSTEM
The instructions below describe how each part of the home gym system can be adjusted. Refer to the exercise poster accompanying this manual to see how the home gym system should be set up for each exercise. IMPORTANT: When attaching the lat bar or nylon strap, make sure that the attachments are in the cor-rect starting position for the exercise to be performed. If there is any slack in the cables or chain as an exercise is performed, the effectiveness of the exercise will be reduced.
CHANGING THE WEIGHT SETTING
The WEIDER 8530 features two weight stacks. The front weight stack is connected to the upper and lower pulleys, the press arm, and the butterfly arms. The rear weight stack is connected to the squat arm.
To change the weight setting of either weight stack, insert a Weight Pin (26) under the desired Weight
(25). Insert the Weight Pin until the bent end of the Weight Pin is touching the Weights, and turn the bent end downward. The weight setting of either weight stack can be changed from 6.5 pounds to 106.5 pounds, in increments of 12.5 pounds. Note: Due to the cables and pulleys, the actual amount of resistance at each exercise station may vary from the weight setting. Use the WEIGHT RESISTANCE CHART on page 18 to find the approximate amount of resistance at each weight station.
ATTACHING THE LAT BAR OR NYLON STRAP TO THE HIGH PULLEY STATION
Attach the Lat Bar (54) to the Medium Cable (58) with a Cable Clip (53). For some exercises, the Chain (52) should be attached between the Lat Bar and the Medium Cable with two Cable Clips. Adjust the length of the Chain between the Lat Bar and the Medium Cable so the Lat Bar is in the correct starting position for the exercise to be performed.
The Nylon Strap (39) can be attached in the same manner.
ATTACHING THE LAT BAR OR NYLON STRAP TO THE LOW PULLEY STATION
Attach the Lat Bar (54) to the Short Cable (23) with a Cable Clip (53). For some exercises, the Chain (52) should be attached between the Lat Bar and the Short Cable with two Cable Clips. Adjust the length of the Chain between the Lat Bar and the Short Cable so the Lat Bar is in the correct starting position for the exercise to be performed.
The Nylon Strap (39) can be attached in the same manner.
ATTACHING AND REMOVING THE SEAT
To attach the Seat (13), set the bracket on the Seat Frame (36) onto the indicated pins on the Front Upright (42). Attach the Seat Frame to the Front Upright with the 5/16” x 2 3/4” Carriage Bolt (14) and the Seat Knob (40).
For some exercises, the Seat (13) must be removed. First, be sure that the chain is not attached to the leg lever. Next, remove the Seat Knob (40) and the 5/16” x 2 3/4” Carriage Bolt (14) from the Seat Frame (36). Lift the Seat Frame off the Front Upright (42).
ATTACHING THE LEG LEVER TO THE LOW PULLEY STATION
To use the Leg Lever (29), the seat must be attached to the front upright (see ATTACHING AND REMOVING THE SEAT above.)
Attach one end of the Chain (52) to the Short Cable (23) with a Cable Clip (53). Attach the other end of the Chain to the Eyebolt (35) with a Cable Clip.
WEIGHT RESISTANCE CHART
This chart shows the approximate weight resistance at each station. “Top” refers to the 6.5 lb. top weight. The other numbers refer to the 12.5 lb. weight plates. The butterfly arm resistance listed is the resistance for each butterfly arm.
| WEIGHT PLATES | PRESS ARM (lbs.) | BUTTERFLY ARM (lbs.) | LEG LEVER (lbs.) | HIGH PULLEY (lbs.) | LOW PULLEY (lbs.) | SQUAT ARM (lbs.) |
| Top | 20 | 10 | 15 | 14 | 24 | 31 |
| 1 | 45 | 22 | 36 | 28 | 54 | 52 |
| 2 | 70 | 33 | 54 | 44 | 82 | 75 |
| 3 | 99 | 42 | 75 | 60 | 115 | 101 |
| 4 | 128 | 48 | 96 | 72 | 147 | 114 |
| 5 | 153 | 60 | 115 | 90 | 175 | 136 |
| 6 | 184 | 69 | 137 | 103 | 209 | 157 |
| 7 | 204 | 79 | 146 | 126 | 223 | 174 |
| 8 | 247 | 91 | 176 | 138 | 269 | 194 |
TROUBLESHOOTING AND MAINTENANCE
Inspect and tighten all parts each time you use the home gym system. Replace any worn parts immediately. The home gym system can be cleaned using a damp cloth and mild non-abrasive detergent. Do not use solvents.
TIGHTENING THE CABLES
Woven cable, the type of cable used on the home gym system, can stretch slightly when it is first used. If there is slack in the cables before resistance is felt, the cables should be tightened.
Tightening the Medium and Short Cables
If any slack is felt when using the front weight stack, both the Medium Cable (58) and the Short Cable (23) will need to be tightened. Insert the weight pin into the middle of the weight stack. Slack can be removed from these cables in three ways:
See drawing 1. Tighten the 1/4” Nylon Locknut (2) that connects the end of the Short Cable (23) to the Long “U”-Bracket (57).
See drawing 1. Move the 3 1/2” Pulley (15) to the other hole in the Long “U”-Bracket (57). Remove the 3/8” Nylon Locknut (21) and the 3/8” x 2” Bolt (12) from the Cable Trap (66), Pulley, and Long “U”-Bracket. Re-attach the Pulley and Cable Trap. Be sure that the Cable Trap is in the proper position and that the Cable and Pulley move smoothly. See drawing 2. Tighten the 1/4” Nylon Locknut (2) that connects the end of the Medium Cable (58) to the Small “U”-Bracket (71).
Tightening the Long Cable
If any slack is felt when using the rear weight stack, the Long Cable (72) will need to be tightened. Insert the weight pin into the middle of the weight stack. Slack can be removed from these cables two ways:
See drawing 2. Tighten the 1/4” Nylon Locknut (2) that connects the end of the Long Cable (72) to the Small “U”-Bracket (71).
See drawing 3. Move the “V”-Pulley (50) to another hole in the Squat Arm Upright (56). Remove the 3/8” Nylon Locknut (21) and the 3/8” x 5” Bolt (not shown) from the Long Cable Trap (not shown), and Pulley. Re-attach the Pulley and Cable Trap. Be sure that the Cable trap is in the proper position and that the Cable and Pulley move smoothly.
Do not over-tighten the cables, or the top weight will be lifted off the weight stack. If a cable tends to slip off the pulleys often, the cable may have become twisted. Remove the cable and re-install it. If the cables need to be replaced, see ORDERING REPLACEMENT PARTS on the back cover of this manual.
CABLE DIAGRAM
The cable diagram below shows the proper routing of the Long Cable (72), the Medium Cable (58), and the Short Cable (23). Use the diagram to be sure that the three cables and cable traps have been assembled correctly. If the cables have not been correctly routed, the home gym system will not function properly and damage may occur. The insets show the proper positioning of the cable traps. The cable traps should be positioned so that the cables will not come off the pulleys. Be sure that the cable traps do not touch or bind the cables.
ORDERING REPLACEMENT PARTS
To order replacement parts, call our Customer Service Department toll-free at 1-888-936-4266, Monday through Friday 8h00 until 18h30 Eastern Time (excluding holidays). When ordering parts, please be prepared to give the following information:
- the MODEL NUMBER of the product (WESY8530C2)
- the NAME of the product (WEIDER® 8530 weight system)
- the SERIAL NUMBER of the product (see the front cover of this manual)
- the KEY NUMBER and DESCRIPTION of the part(s) (see the PART LIST in the center of this manual)
LIMITED WARRANTY
ICON OF CANADA, INC., (ICON), warrants this product to be free from defects in workmanship and material, under normal use and service conditions, for a period of one (1) year from the date of purchase. This warranty extends only to the original purchaser. ICON’s obligation under this warranty is limited to replacing or repairing, at ICON’s option, the product through one of its authorized service centers. All repairs for which warranty claims are made must be pre-authorized by ICON. This warranty does not extend to any product or damage to a product caused by or attributable to freight damage, abuse, misuse, improper or abnormal usage or repairs not provided by an ICON-authorized service center, to products used for commercial or rental purposes, or to products used as store display models. No other warranty beyond that specifically set forth above is authorized by ICON.
ICON is not responsible or liable for indirect, special or consequential damages arising out of or in con-nection with the use or performance of the product or damages with respect to any economic loss, loss of property, loss of revenues or profits, loss of enjoyment or use, costs of removal, installation or other consequential damages of whatsoever nature. Some provinces do not allow the exclusion or limitation of incidental or consequential damages. Accordingly, the above limitation may not apply to you. The war-ranty extended hereunder is in lieu of any and all other warranties and any implied warranties of merchantability or fitness for a particular purpose is limited in its scope and duration to the terms set forth herein. Some provinces do not allow limitations on how long an implied warranty lasts. Accordingly, the above limitation may not apply to you.
This warranty gives you specific legal rights. You may also have other rights which vary from province to province or so specified by the retailer of your equipment.
ICON OF CANADA, INC., 900 de l’Industrie, St. Jerôme, QC J7Y 4B8
REMOVE THIS PART IDENTIFICATION CHART FROM THE MANUAL
This chart is provided to help you identify the small parts used in assembly. Important: Some parts may have been pre-assembled for shipping purposes. If you cannot find a part in the parts bags, check to see if it has been pre-assembled. The number in parenthesis below each part refers to the key number of the part. The second number refers to the quantity needed for assembly. 
Note: Assembly is divided into five stages: 1) frame assembly, 2) press and butterfly arm assembly, 3) cable and pulley assembly, 4) seat and backrest assembly, and 5) VKR assembly. The hardware for each stage is packaged separately. WAIT UNTIL YOU BEGIN EACH ASSEMBLY STAGE TO OPEN THE PARTS BAG LABELED FOR THAT ASSEMBLY STAGE.


EXPLODED DRAWING—Model No. WESY8530C2 
Download Pdf: Weider 8530 Home Gym User Manual











































