
Installation Instructions and User Guide
OVATION
Model: 31511 Tastic Ovation
Electrical Rating: 230~240 V. 50 Hz.
www.ixlappliances.com.au
www.ixlappliances.co.nz
![]()
Welcome
Thank you for buying this IXL Tastic Ovation. Even if you have used a Tastic before, there are very good reasons to read this user guide before using this one:
- You and your family, property and home will be safe from harm.
- You will learn how this appliance may differ from others.
- By using the Tastic Ovation fully and properly, you will get maximum life and value from it.
- Our warranty depends on you using the Tastic Ovation according to this user guide. It will only take you a few minutes, so please read on!
Tastin®

Tastic Ovation Range
31511 Tastic Ovation
1 x 800 W Tungsten Halogen
Heat Lamp
3 x 7W GU10 Frosted LED
Cutout Template Supplied
180 mm Exhaust Fan,
Up to 396 m³/hr or 110 l/s
150mm x 6m Duct Supplied
Safety
Read through these instructions completely before commencing installation.
When installed, the Tastic appliance shall, under no circumstance, be covered with insulating material or similar material.- This Tastic unit must be installed horizontally in the ceiling.
- There is no IP rating on this IXL Tastic Ovation.
- To prevent overheating do not place any object within 1 metre of heat lamps.
NOTE: This product must be installed by a qualified installer. Locate the Tastic in accordance with the requirements of the current Australian/New Zealand Wiring Rules AS/NZS 3000 relating to damp situations. In some installations this may mean that no part of these Tastic may be located directly above any part of a bath or shower recess or enclosure. For unenclosed showers refer to Wiring Rules conditions. Switches and other controls must not be located where they can be touched by a person in the bath or shower.
- Do not look directly into heat lamps when in use.
- Tastic products are not tanning lamps.
- Make sure the lamps have cooled and power is off to the Tastic before removing lamp’s replacement.
- Do not operate this appliance without the fascia or glass panels in position.
- This appliance is not intended for use by persons (including children) with reduced physical, sensory or mental capabilities, or lack of experience and knowledge, unless they have been given supervision or instruction concerning use of the appliance by a person responsible for their safety.
- Young children should be supervised to ensure they do not play with the appliance.
- This appliance must be mounted with the lowest point at least 2.2 meters from the floor.
- This appliance must not be mounted immediately below a socket outlet.
- Regulations concerning the discharge of air have to be fulfilled.
WARNING: Curtains or combustible material may ignite if in contact or close proximity with the heater.
Thermal Switch
When Tastic heat lamp is operating and the fan is off, if the temperature inside the unit reaches 65°C, the built-in thermal switch will switch on the fan automatically to cool the unit. When the temperature drops, the thermal switch will switch off the fan.
Over-temperature switch (PTCR)
If for any reason the temperature inside the Tastic reaches 80°C, The PTCR will cut off power to the unit. The PTCR can be reset by turning off power to the unit at the isolating switch and allowing to cool for 10-15 minutes.
In such a case the Service Centre should be called as this is not normal operation.
In order to avoid a hazard due to inadvertent resetting of the thermal cut out, this appliance must not be supplied through an external switching device, such as a timer, or connected to a circuit that is regularly switched on and off by the utility.
How it Works
The Tastic Ovation has been designed to exacting standards to give you many years of trouble-free operation. To ensure you get the most from your Tastic there are a few simple points to keep in mind.
Heat Lamps
The IXL Tastic Ovation uses 800W tungsten halogen heat lamp in conjunction with reflective element, for a more efficient dispersion of radiant heat. The tungsten halogen lamp provides instantaneous heat, and is designed to heat you and not your whole bathroom – that’s the efficient way infra red heat works. To get the full benefit of Tastic’s tungsten halogen warmth, stand directly under the heat lamp. IXL’s exclusive halogen lamps have been designed specifically for this application, and concentrate their heat for maximum effectiveness.
This Tastic is manufactured to optimal peak performance with bathroom ceiling heights from 2.2m.
Centre LEDs
With 3 x Frosted LED globes, the Tastic Ovation is designed to provide diffused light, soothing to your eyes without compromising on the quality of lighting in your bathroom.
In order to ensure long life of the LED globes, they will not operate while the heat lamp is switched on If the heat lamp is switched on while the LED’s are on, they will automatically turn off. When the heat is turned off the LED’s will automatically turn back on again.
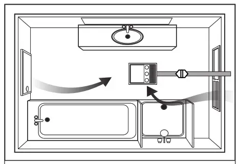
Ventilation
IXL Tastic Ovation utilises a high performance centrifugal fan to draw steam out of your bathroom and vent it directly outside. (Fig. 2). To allow the Tastic’s efficient exhaust fan to remove steam while you shower, it is essential that there is adequate air flow into your bathroom through windows, vents or under the door. (Fig. 1). The air flow path from inlet to fan should ideally pass over the steam source. Bathrooms which have high ceilings, are larger than average, or have an open shower may all require an additional ventilation fan.
We recommend that you visit our website for further details and suggestions on effectively ventilating your bathroom.
Ventilation Requirements
Fig.1:Ideal placement of Tastic. Sufficient air inlets into room are required
Overview
Fig. 2: Layout of Tastic Ovation.
Removing Glass Shield
Preparing
Turn the heat lamp off and let it cool for at least 5 minutes. For extra safety, switch the power off at the isolating switch. Position a sturdy ladder of sufficient height to let you safely and comfortably reach the Tastic Ovation. Ask someone to hold the ladder if you can.
Removing Glass Shield
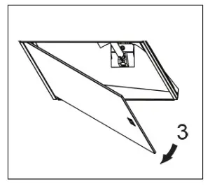
With one hand gently press the glass shield (at a point close to the air inlet) 20 mm towards the ceiling and carefully slide it towards the air inlet. Hold your other hand below the other end of the shield to catch it when it drops. If the shield chips, cracks or breaks replace it with IXL Tastic Ovation® Tempered Glass Shield (Part 12200), not normal household glass. Do not operate the heat lamp without the glass shield in place.
| Step 1. Push up inner edge of glass Step 2. Slide glass across ![]() | Step 3. Glass drops down
|
Heat Lamp Replacement
Fig. 4
Removing Heat Lamp
A spring-loaded socket holds each end of the heat lamp. Gently grasp the heat lamp and push it towards one socket. When it is free of the other socket, carefully pull the heat lamp down towards you. The heat lamp is not recyclable. Dispose of it like a normal incandescent light globe (i.e. unbroken, with your general waste, wrapped in any paper or cloth you used).
Fitting New Heat Lamp
Natural skin oils and salts damage new halogen lamps and shorten their life. Only handle a new heat lamp with soft, dry, clean, lint-free cloth or paper. You can wear gloves, cover your fingers or wrap the heat lamp until it is installed (so long as you remove all cloth or paper when finished).
If your skin touches a new heat lamp, wipe it gently it with cloth or paper. The heat lamp is half coated with a white reflector. When you grasp the heat lamp, face the back of the reflector to the ceiling (so you can see the heat lamp’s filament). Not doing this will reduce performance.
- Fit one end of the heat lamp into a socket and gently push it away from the other socket.
- When there is enough room, fit the other end of the heat lamp into its socket. (Fig. 4).
- Gently rotate the heat lamp to ensure it is correctly seated (i.e. it looks like the old one did before you removed it).
- Replace the glass shield by reversing the directions for removing it. (Fig. 3).
- Switch the power on and test the heat lamp.
LED Replacement
It is recommended to use authentic IXL GU10 type frosted LED globes to ensure that replacement lighting fits the unit, and to preserve the style of the IXL Tastic Ovation. When replacing the LED globes be aware that the maximum allowable total power for all LED’s combined is 50W.
Note: Position a sturdy ladder of sufficient height to let you safely and comfortably reach the Tastic Ovation.
Ask someone to hold the ladder if you can.
Step 1.
Remove fascia by pulling it down gently off the unit. Note that the LED globes are fitted to the fascia and wired to the unit so lower the fascia carefully. (Fig. 5).
Step 2.
The LED lights are clipped to the fascia by two small retention tabs. Push LED’s sideways to unclip from fascia. Then disconnect the faulty LED from the globe holder by twisting and remove from the socket.
Fig. 5
Step 3.
Connect the new LED to the globe holder. Insert all LED’s back into the fascia by locating under the tab on one side and pressing firmly to locate the tab on the other side. (Fig. 6).
Step 4.
Replace the fascia on the Tastic and press up firmly to engage all mounting clips. Check to see fascia is fully engaged and sitting on the ceiling before letting go.
Fig. 6
Replacement Lamps
Heat Lamps
The IXL Tastic lamps have been specially developed for best performance. Replace only with genuine IXL-approved infrared halogen heat lamps. R7s, 800W max. IXL Cat No. 11380
LED Globes
The Tastic Ovation frosted LED globes are unique to IXL and are only available from IXL Home or their retail partners. Please visit IXL website ixlappliances.com.au for stockist near you. IXL Cat No. 11254
NOTE: Replacement with any other lamps other than those listed above may cause damage to the Tastic Ovation and void the warranty.
Cleaning & Maintenance
WARNING: Always make sure the unit is turned off and allow all lamps to cool before cleaning.
Maintenance of the Tastic Ovation is required to ensure the quality of the product and functions are maintained. It is recommended that the Tastic Ovation body, fascia and lamps be checked and cleaned every 2 years. To clean the fascia and air inlet use a damp cloth with liquid glass cleaner. Cleaning and maintenance will help to preserve the life-span and performance of the Tastic Ovation.
Note: Position a sturdy ladder of sufficient height to let you safely and comfortably reach the Tastic. Ask someone to hold the ladder if you can.
FAQ’s
Service
NOTE: Do not remove the Tastic from the ceiling. Your Tastic will be serviced in your home. If service is required, please contact IXL’s Customer Service on 1300 727 421.
Frequently asked questions
- Q Will my Tastic heat my bathroom?
A No, your Tastic is designed to provide infra red radiant heat to warm the body while drying, when standing directly underneath. It is not designed as a room heater. - Q Can I install my Tastic directly above a shower recess?
A For safety reasons this Tastic cannot be installed above shower recess. Please refer to the current Australian/New Zealand Wiring Rules AS/NZS 3000 relating to damp situations for further details. - Q What will happen if I leave my heat lamp on without fan operation?
A The fan will commence operation automatically to keep the unit operating at a safe temperature. When the unit has cooled sufficiently the fan will switch off automatically. - Q What is the maximum recommended light globe wattage that I can install in my Tastic?
A Check the rating label for the maximum safe wattage for your product. - Q Why is my Tastic making noise?
A All Tastics create some noise due to the rapid movement of air through the Tastic. You may also notice a ticking noise as the unit heats or cools from operating the heat lamp. - Q Can the installer rotate the IXL wall switch mechanisms?
A Yes, the wall switches can be rotated by a qualified electrical trades person. - Q Can my installer use an alternative wall switch mechanism other than the one supplied with my IXL product?
A Yes, your authorised installer can use an alternative switch mechanism. - Q My Tastic unit’s extraction fan doesn’t seem to be removing all the moisture and steam from my bathroom?
A There are a number of factors that will influence the exhaust fan’s performance. Firstly you can improve your cross ventilation via an open door or window; refer to page 7 of the instructions for details on improving the room’s air flow. If you live in a traditionally cooler climate, in the winter months during hot showers, you may notice that there is more moisture and condensation build up. If this is the case, you may wish to improve your natural ventilation or invest in an additional exhaust fan. Bathrooms which have high ceilings, are larger than average, or have an open shower may all require additional ventilation. We recommend that you visit our website for further details and suggestions on effectively ventilating your bathroom. Tastic Ovation is designed to suit bathrooms up to 9m2 - Q Can the Tastic Ovation duct vertically through the roof?
A Yes, additional parts required (not supplied).
Warranty
Tastic Ovation® by IXL Home Pty. Ltd Warranty
- IXL Home Tastic products come with guarantees that do not exclude the following consumer entitlements under the Australian and New Zealand Consumer Law:
a. replacement or refund for a major failure and compensation for any other reasonably foreseeable loss or damage; and
b. to have the goods repaired or replaced if goods fail to be of acceptable quality and the failure does not amount to a major failure. - IXL Home warrants that your product and related supply will be free from defects in materials and workmanship during the warranty term. Your in-home warranty term is five years with a two year replacement warranty on the heat lamps, exhaust fan & LED globes, commencing from the date of purchase. IXL Home acknowledges this product requires professional installation and product removal is hazardous to consumers, accordingly any necessary inspections and services will be carried out on site. You should not attempt de-installation.
- Subject to Point 1, IXL Home will repair any defects in materials and workmanship during the warranty term and if the product is deemed irreparable provide a replacement of an equivalent current model where the balance of the warranty period from the original date of purchase will take effect. Also subject to Point 1, where the exhaust fan is installed into an environment that has limited access and the unit needs to be serviced or replaced under warranty, a replacement exhaust fan will be supplied free of charge by IXL Home however, all associated reinstallation charges will be borne by the owner.
- To the fullest extent permitted by law and subject always to Point 1, IXL Home will not be liable for:
a. any loss or damage arising from loss of use, loss of profits or revenue; or
b. for any indirect or consequential loss or damage resulting from any breach of this warranty against defects. - Defective IXL Home Tastic products may be repaired using refurbished parts or if required, completely replaced by a refurbished product of the same type.
Limitations to Your IXL Warranty - Subject to Point 1, this Warranty:
a. will only be provided to the original purchaser where the original purchase was made from a IXL Home Authorised Dealer or Reseller and proof of such purchase can be presented at the time of service;
b. only applies to IXL Home Tastic products purchased in Australia and New Zealand from a IXL Home Authorised Dealer or Reseller and installed by a qualified person where a Certificate of Compliance in accordance with Country/State/Territory laws is provided;
d. will not cover faults due to normal wear and tear with reasonable use nor consumable components such as globes, glass items, etc;
e. will not cover any damages or problems caused to this product by natural forces eg. storm, fire, food, and earthquake; or by intrusion or accumulation (or both) of foreign matters eg. dust, soil, and moisture. IXL Home recommends that you take out appropriate insurances to protect your product to this end;
f. will not apply if this product is installed in a mobile dwelling eg. caravan or boat;
g. will not apply if this product is removed from the location where it was first installed;
h. is immediately void if the serial or model number label is removed or defaced;
i. is immediately void if the product is serviced or repaired by a unauthorised/unqualified personnel;
j. covers use of this product for domestic use only;
k. will not be restarted or extended upon repair or replacement of the product or a part.
How to make a Claim under Your IXL Warranty - To make a claim under this Warranty you will need to:
a.contact IXL Customer Service Team to provide details and register your claim enabling an assessment.
b. submit proof of purchase with your claim eg. tax invoice or purchase receipt;
c. where a property has been constructed by a builder/developer and it is fitted with IXL products, please submit proof of purchase by way of the certificate of occupancy, with your claim. - 8. IXL Home will contact you to make arrangements for service on site.
- Subject to Point 1, you will be responsible for any costs relating to the provision of your product to a IXL Home Authorised Service Dealer .
- 10. Subject to Point 1, in the event you live more than 50 km from a IXL Home Authorised Service Dealer you may be subject to travel or transport costs to facilitate the repairing or replacement of your IXL product.
- IXL Home and its Authorised Service Dealers reserve the right to seek reimbursement of any costs incurred by them should your IXL product be found to be in good working order.
Privacy
The privacy of your personal information has always been important to us. To learn more about we collect, keep and use your personal information, please obtain a copy of our privacy statement by visiting our website or by contacting us via email.
Warranty Registratio
Visit the IXL Home website below to register your warranty details online.
| Australia | New Zealand |
| www.ixlappliances.com.au/warranty | www.ixlappliances.com.au/warranty |
For comments, questions or warranty matters:
IXL Home Pty Ltd
| Australia: | New Zealand: |
1K Marine Parade, Free Call: 0800 727 421 [email protected] | Free Call: 0800 727 421 [email protected]
|
IXL, TASTIC and OVATION are registered trademarks of Alver Pty Ltd in Australia and New Zealand used under licence by IXL Home Pty Ltd.
© Copyright IXL Home, 2021
![]()
Approved by the appropriate electrical supply authorities. P
art number 611058 A






















