
Technical Support and E-Warranty Certificate
www.vevor.com/support
PERMANENT MAGNETIC LIFTER
USER MANUAL
We continue to be committed to offering tools at competitive prices. “Save Half”, “Half Price”, or any other similar expressions used by us only represent an estimate of savings you might benefit from buying certain tools with us compared to the major top brands and do not necessarily mean to cover all categories of tools offered by us. You are kindly reminded to verify carefully when placing an order with us if you are saving half in comparison with the top major brands.

NEED HELP? CONTACT US!
Have product questions? Need technical support? Please feel free to contact us:
This is the original instruction, please read all manual instructions carefully before operating. VEVOR reserves a clear interpretation of our user manual. The appearance of the product shall be subject to the product you received. Please forgive us that we won’t inform you again if there are any technology or software updates on our product.
1. The maintenance and safety
WARNING!
Read this material before using this product. Failure to do so can result in serious injury. SAVE THIS MANUAL
1.1 The idle load of the permanent lifter is forbidden. Empty loading is strictly prohibited! Prevent the handle from rebounding and hurting people!
1.2 The permanent magnetic lifter must work within the rated weight. It is forbidden for over loading to avoid an accident.
1.3 It is forbidden to stand under or through the hoisted work piece during operation.
1.4 When the work piece is in the air during operation, the moving operation can be started.
1.5 Do not turn the handle when the lifter bottom hasn’t magnetized work piece.
1.6 Please check the slide-key and positioning-bolt regularly to guarantee reliable lock and safety.
1.7 Keep the absorbing surface clean and flat. Remove the impurity on the surface.
1.8 Do not strike and impact the permanent magnetic lifter during operation, these may influence its performance.
1.9 Please demarcate and test the lifter every two years after putting into use to ensure safety.
1.10. The height of lifting heavy objects should not be higher than 1 meter.
1.11. The product should be adsorbed at the center of gravity of the heavy object, and the adsorption surface should not deviate from the center by 5cm, so as to prevent the object from tilting, falling off and hurting people when lifting the heavy object.
1.12. Before storage, antirust oil shall be wiped on the adsorption surface to prevent rust.
2.Main Usage and characteristics
The permanent magnetic lifter of the PML series is mainly used to magnetize plant shapes or column ironware materials and work pieces. The permanent magnetic lifter of the PML series is mainly used to magnetize plant shapes or column ironware materials and work pieces, and powerful magnetism, it has been widely used as the hoisting tool in factory, dock, storehouse and transportation.
3. Main structure and parameters
The Nd-Fe-B high performance permanent magnetic material is used for the permanent magnetic lifter. It can produce very strong magnetism within the magnetic circuit. The handle can be used to switch on or off the core shaft of the lifter and is free of power supply. When the lifter is under working status,the magnetism of the lifter bottom will form a pair of longitudinal magnetic pole to firmly absorb the work piece of iron material. There is a V shape groove on the attraction surface, so it can be used for both plank-shape work piece and column-one.
Main Technology parameters

Model | PML-100 | PML-300 | PML-400 | PML-600 | PML-1000 | PML-1500 | PML-2000 |
| Rated Lifting Force | 100kgf | 300kgf | 400kgf | 600kgf | 1000kgf | 1500kgf | 2000kgf |
Working Temp | -40°~ 80 | -40°~ 80 | -40°~ 80 | -40°~ 80 | -40°~ 80 | -40°~ 80 | -40°~ 80 |
| L×W×H | 93×60×7 5mm | 160×92× 96mm | 160×92× 96mm | 220×110 ×115mm | 260×135× 140mm | 300×135×140mm | 350×158×168mm |
G.W. | 3.2kg | 9.5kg | 9.8kg | 21kg | 33kg | 42kg | 67kg |
| Handle Surface Finishing | Chrome Plated | Chrome Plated | Chrome Plated | Chrome Plated | Chrome Plated | Chrome Plated | Chrome Plated |
Hook Surface Finishing | Chrome Plated | Chrome Plated | Chrome Plated | Chrome Plated | Chrome Plated | Chrome Plated | Chrome Plated |
| Lifter Main Body | Powder Coating | Powder Coating | Powder Coating | Powder Coating | Powder Coating | Powder Coating | Powder Coating |
4. The Choice of the type
According to the work piece’s thickness, weight, the gap of the work piece and the permanent magnetic lifter, material, the area of the attraction, the balance of the weight and the roughness degree of the surface, and then choose the relevant type.
4.1 The conversion reference of the thickness and lifting power:
4.2 The surface roughness of the material(Fx), the material(Mx)and the lifting.

The load capacity and the roughness of surface:
0 50% 100% 125%
Fl 1.6μm 125%
F2 6.3μm 100%
F3 12.6μm 90%
F4 ~ 80%
M1 (low carbon steel) 100%
M2 (Inside carbon steel)90%
M3 (High carbon steel)80%
M4 (Low metal alloy steel)
M5 (Cast iron)50%
4.3 The conversion formula of the lifting range-(Tx*Fx*Mx rated lifting weight(kg)
4.4 For example: material condition: T8,F1,M3,1000kg(PML-1000)
5 The operation and use
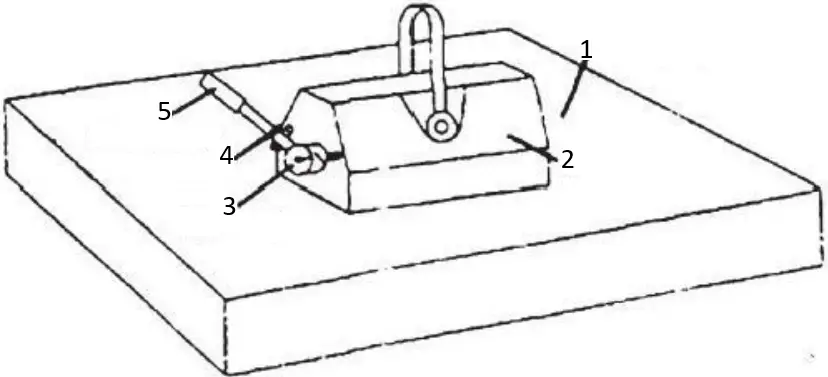
5.1 Install method

- (Steel plate)
- (lifting magnet)
- (Tight screw)
- (Safety lock)
- ( Hand handle)
In the first step, place the permanent magnetic lifter in the center of the steel.

The second step,press the handle button and turn the handle from OFF to ON, and the handle can only be released after the safety lock is locked. It is strictly forbidden to use it with no load or overload.

The third step is to keep the cargo balanced.
The fourth step, after the goods are transported to the destination, put them down gently.

Press and hold the handle button to move the handle from the ON position to the OFF position.

The last step, after confirming that the permanent magnetic lifter is closed, remove the permanent magnetic lifter and store it in a dry place to prevent rust.
5.2 The work piece’s material, thickness, quality of surface will influence the lifting power, therefore before operation, should according to the practical situation,Tx and lifting power conversion,Fx,Mx,and lifting power conversion and then estimate the lifter’s lifting power, and then decide the actuarial hoisting capacity.
5.3 The lifting power of permanent magnetic lifter in relation to the attracting area, when in using, try best to make the area largest.
5.4 The handle operate power has relation with the using degree of the lifter’s lifting capacity, such as lifting a column work piece, thin work piece, the surface roughness above 6.3um, or worse with smaller attraction area, the handle operate power will be aggrandizement.
5.5 Working environment condition of the permanent magnetic lifter
A. The temperature is not higher than 80 °C(-40 °C to 80 °C).
B. No violent shake or impact.
C. No metal erosion metal agent around the environment.
5.6 When hoisting work piece, be sure to hoist the gravity center of the work piece to guarantee the balance, then the switch the handle from off to on, and confirm the slide-key of handle is locked and then begin hoisting, the lifter shouted move smoothly to avoid shake that may cause work piece drop and accident.
5.7 If it is used to hoist column-shape work piece, please be sure to make the V-shape on the lifter bottom contact with the work piece, but the hoisting capacity is only 30%-50% of the rate hoisting capacity.(The decrease of hoisting capacity is related to the diameter of the column work piece.
5.8 After hoisting operation, please detach the slide-key of the handle from the positioning lock, then recover the handle to the free position shut off and take down the lifter.
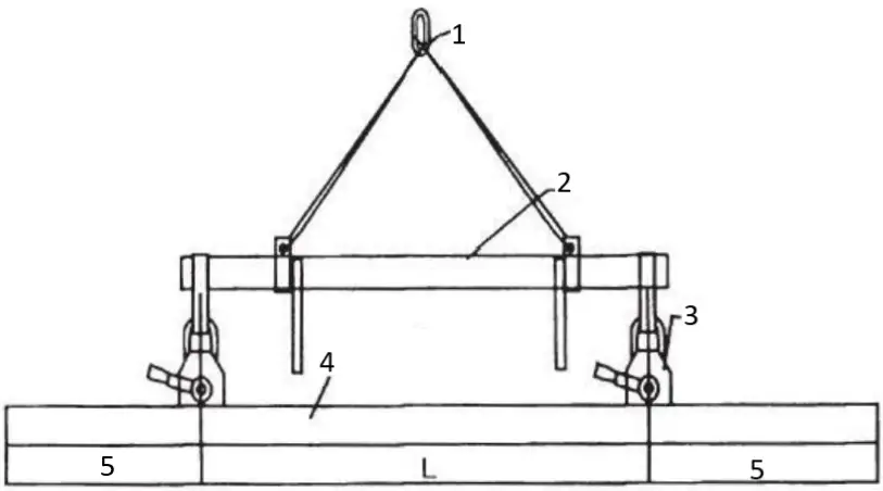
5.9 Consider the core when lifting the long shape work piece, the length should not above 2mm in principle or use more lifter, as the picturer.
muiti sets of machine are used for hoisting

- Hoisting hook
- balance girder
- Magnetic Hoisting Machine
- work-piece
- B<L2<1500mm
EC Importer: WAITCHX
Address: 250 bis boulevard Saint-Germain 75007 Paris
UK Importer: FREE MOOD LTD
Address: 2 Holywell Lane, London, England, EC2A 3ET
ManufacturerHEBEI JUYING HOISTING MACHINERY CO.,LTD
AddressDonglv Industrial Park,Donglv Town,Qingyuan District,Baoding
City,Hebei Province,China

Technical Support and E-Warranty Certificate
www.vevor.com/support

















