VERMEIREN Eagle 620 Electric Patient Lift

Preface
Congratulations! You are now owner of a Vermeiren patient hoist!
This product is made by qualified and committed personnel. It is designed and produced according to high quality standards, guarded by Vermeiren.
Thank you for your trust in the products of Vermeiren. To support you on the use of this patient hoist and its operating options, this manual is offered. Please read it carefully; it will help you to get familiar with the operation, capabilities and limitations of your product. If you still have questions after reading this manual, do not hesitate to contact your specialist dealer. He/she will be glad to help you. Important note To ensure your safety and to prolong the lifetime of your product, please take good care of it and have it checked and serviced on a regular basis.
This manual reflects the latest product developments. Vermeiren has the right to implement changes to this type of product without any obligation to adapt or replace similar products previously delivered. Pictures of the product are used to clarify the instructions in this manual. Details of the depicted product may deviate from your product.
The information available On our website http://www.vermeiren.com/ you will always find the most recent version of the information in this manual. Please consult this website regularly for possible updates. Visually impaired people can download the electronic version of this manual and have it read out by means of a text-to-speech software application.
- This user manual For user and specialist dealer
- Service manual For specialist dealer
- EC declaration of conformity
Your product


- Cantilever arm
- Spreader bar
- Motor
- Transport holder for spreader bar (Eagle 620)
- Foldaway lock
- Chassis
- Roller
- Control box
- Handle for pushing
- Manual operation
- Emergency stop
- Pole
- Safety spindle
- Chassis expansion pedal
- Caster with brake
Before use
Intended Use
In this paragraph a brief description of the intended use of your patient hoist is given. Additionally, relevant warnings are added to the instructions in the other paragraphs. In this way we would like to make you aware of the possible misuse that may appear.
- Indications and contraindications: This patient hoist is meant to be operated by an attendant to transfer sitting patients between e.g. wheelchairs, nursing beds and bathrooms. The patient hoist is designed and produced to be a transport/transfer aid for elderly persons or persons who suffer from paralysis, limb loss or defects, stiff or damaged joints, cardiovascular problems, cachexia, … .
- This patient hoist is suitable for indoor use.
- This patient hoist is designed and produced solely to transport/transfer one (1) person with a maximum weight according to the. It is not designed for transportation of goods or objects, nor for any use other than previously described.
- Only use accessories and spare parts approved by Vermeiren.
- Please read all technical details and limits of your patient hoist in chapter 7.
- The warranty on this product is based on normal use and maintenance as described in this manual. Damage to your product caused by improper use or lack of maintenance will cause the warranty to lapse.
General safety instructions
Please read and follow the instructions in this manual. Otherwise you may get injured or your patient hoist may get damaged. Keep the following general warnings in mind during use:
- The patient hoist must only be operated by qualified staff who have been instructed or trained in its specific application.
- Do not exceed the maximum load for the patient hoist. This will shut down the control box.
- In case of different user weights for patient hoist and slings, always observe the lowest user weight.
- An attendant needs to be present during the lifting operation.
- Be aware that some parts of the patient hoist may get very hot or cold due to ambient temperature, solar radiation or heating devices. Be careful when touching.
- The patient hoist has been tested for electromagnetic compatibility and complies with the standard. Nevertheless, sources of electromagnetic fields may influence the performance of the patient hoist, such as the fields of mobile phones, power generators or high-power energy sources. On the other hand, the electronics of the patient hoist can affect other electronic appliances too.
- Only use the patient hoist on flat surfaces where all castors touch the ground and where there is sufficient contact to operate the patient hoist safely. Do not take obstacles with the patient hoist while transferring a patient.
- Do not use the patient hoist in wet or humid environments.
- Alterations or substitutions should not be made to the patient hoist securement points or to structural and frame parts or components without consulting the manufacturer.
- Make sure that your hands, clothes, belts, buckles or jewellery don’t get caught by wheels or other moving parts during use.
- Be careful with sources of ignition such as lit cigarettes as they may set the sling alight.
In case a serious incident has occurred involving your product, notify Vermeiren or your specialist dealer as well as the competent authority in your country.
Using the patient hoist
Operating the lift
- When using the lift, make sure that there is sufficient room around and above it, as the adjustment movements could otherwise lead to damage or injury.
- Always be aware of the lifting arm to avoid injury.
- Only slings that have been designed and approved for the patients must be used (see usage instructions for the various slings). Use of any other slings is at your own risk.
- Only use the handles to push/pull the patient hoist, no other components.
Please observe the technical information according to which the patient hoists (620 or 625) may be operated. The patient hoist must only be operated by authorised staff who have been trained in its use and operation.
- Altering the chassis width
To get the lift around a wheelchair or other seating furniture, or to increase the stability of the lift in the standing position, the separation of the chassis legs can be increased.
Stand behind the assembled lift and take hold of the handles for pushing the patient hoist (on the left and right, next to the control box). Press the lever at the bottom of the chassis (left or right) down with your foot, and the separation of the legs of the chassis can be increased or decreased. - Parking brakes
Secure the two casters at the back of the chassis by pressing the caster brake plates down gently to their end stops with the tip of your foot. To release the brake, push the brake plate gently back up again with the front of your foot until the casters are free.
- Raising and lowering the cantilever arm
The manual control allows the cantilever arm to be adjusted smoothly to any point. When using the lift function until the end of the hoist motor, the limit switch is activated by electronics (security function). Use the lifting function only in the middle of the adjustment range.
- Moving the patient hoist
- Be careful passing through restricted passages (e.g. doors).

- Stand behind the patient hoist and grasp the handles (left and right, next to the control box) with both hands.
- Make sure that both back caster brakes have been released.
- Push the patient hoist slowly into the desired position.
When it is not loaded, we advise you to pull the patient hoist backwards, which makes it easier to get round any obstacles (door frames, corners of rooms or furniture).
- Be careful passing through restricted passages (e.g. doors).
- Turn the patient hoist around his axle
- Be careful there are no people or objects in the swing range of the patient hoist.
- Turn the patient hoist carefully and slowly around his axle, so that the patient cannot swing out.

- Open the legs of the patient hoist to give more stability.
- Activate the brakes.
- Place the patient in the patient hoist with the appropriate sling. (refer to sling manual for instructions of placing the patient in the hoist).
- Lift the patient from the ground, chair, bed.
- Loosen both brakes of the rear wheels.
- Stand behind the patient hoist and grasp the handgrips (left and right next to the control box) with both hands.
- Now turn the patient hoist carefully, slowly around on the same place. Be careful you do not touch any objects with the legs of the patient hoist.
- When you are turned in the good position, you can lift the patient down.
Slings
- Only use appropriate slings for the patients.
- Do not use damaged slings.
- Read the full slings manual first.
- Only use compatible slings approved by Vermeiren.
The Eagle patient hoist must only be used with slings designed for the Vermeiren Eagle patient hoists (for 4-point speader bar). The applicability and instructions for use for the specific slings should be followed, see the separate manual.
Attaching to the spreader bar of the patient hoists
The slings shall be attached by the mounting straps. These mounting straps shall be suspended on the spreader bar of the patient hoist. The mounting straps of the slings have 4 loops in different colors.
With these loops it is possible to lift the patient in different positions. These positions depends on the length and weight of the person.
The legrests can be attached on the patient hoist according different methods.
- Crossed legrests
This is the most used method to attach the sling. The attachment of the sling with crossed legrests shall be according to the instructions below:- Put the mounting strap of the legrest through the loop of the other legrest.
- Attach the mounting straps of the legrests on the spreader bar of the patient hoist.
- Crossed under both thighs
CAUTION: Risk of falling – By a patient with amputated legs increases the risk of falling because the patient loose easy his balance.
This method can be used for lifting a patient with amputated legs. The attachment of the sling crossed under both thighs shall be according to the instructions below:- Cross the mounting strap of the legrest under the thighs.
- Attach the mounting straps of the legrests on the spreader bar of the patient hoist.
- Each legrest separately on the spreader bar
CAUTION: Risk of falling- This method increases the chance of sliding out the sling.
Attaching each legrest separately on the spreader bar can be used for patient with sensitive genitals. The attachment of the sling with this method shall be according instructions below:- Put the legrest around each leg separately, but not crossed.
- Attach the mounting straps of the legrests on the spreader bar of the patient hoist.
Position of spreader bar
The spreader bar must always be perpendicular to the body of the patient. The left figure is the good method. The right figure is the wrong way.
Eagle 620: Battery and charging
Battery charger
| Primary voltage | 100 – 240VAC / 50/60 Hz | |
| Secondary voltage (charging voltage) | 27.6VDC (+/- 2%) | |
| Secondary current (charging current) | max. 500 mA | |
| Safeguards | Protected against reverse polarisation, electrical surges and extreme temperature | |
| Efficiency | min. 80% (when fully loaded) | |
| Ambient temperature | 0 to +40°C | |
| Length of mains lead | 2.0 m | |
| Ambient storage temperature | -15° to +50°C | |
| Relative storage humidity | max. 95% (non-condensing) | |
| Conformity | tested in accordance with IEC 60601-1 |
Charging the batteries
Use only the battery charger supplied and no other charging equipment.
We recommend that you should regularly recharge the built-in control box batteries in order to ensure that the hoist remains usable and to extend the lifespan of the batteries. The control box will give the warning sound to tell you when the battery charge is too low.
- Setting up the charger
When setting up the charger, ensure that it is well-ventilated on all sides. A minimum of 100 mm space should be left free around the unit for this purpose. If the charger is insufficiently ventilated so that the unit heats up, the charging rate will fall which will extend the charging time. If the charger overheats (> +50°C), it will stop charging.
The charger should only be used from a wall socket with a voltage of 100 to 240V at 50/60Hz and in well-ventilated, dry areas. - First use
First, insert the recharge cable into the appropriate connector on the control box. Then insert the mains adapter into the socket. The loading time is about 4 hours. The charger will stop the recharging process automatically when the device is fully loaded. - Recharging
WARNING: Risk of injury – Do not use the lift when the charger is connected in the control box.
When the batteries are recharging there will burn a yellow light on the upper LED. After the recharging process is completed, you should always remove the mains plug of the charger from the socket first and then remove the charger from the control box. Do not use the lift while it is being recharged! If the batteries are not used for a significant period, they discharge slowly by themselves (deep discharge). It then becomes impossible to recharge them with the battery charger supplied. You should therefore recharge the batteries at least once a month even if they are not being used.
Eagle 625: battery and charging
- Battery
The battery is above the control box and is replaceable with an integrated clip system.
Primary voltage 24 VDC Ambient temperature +5°C to +40°C Ambient storage temperature -10° to +50°C Relative storage humidity max. 80% (non-condensing) Conformity tested in accordance with IEC 60601-1 - Control box + included battery charger
The control box is designed with a red emergency stop and an internal battery charger.
Primary voltage 100 – 240 VAC / 50/60 Hz Secondary voltage (charging voltage) 24 VDC, max. 250 VA Secondary current (charging current) max. 10 A Safeguards Protected against reverse polarisation, electrical surges and extreme temperature Ambient temperature +5°C to +40°C Ambient storage temperature -10° to +50°C Relative storage humidity max. 80% (non-condensing) Conformity tested in accordance with IEC 60601-1 - External charger (OPTIONAL)
The external charger shall be mounted on the wall. It is possible to charge the spare battery (optional) with this external charger and you have no waiting time to use the patient hoist when charging the batteries.
Primary voltage 100 – 240 VAC / 50/60 Hz Charging current max. 650 mA Ambient temperature +5°C to +40°C Ambient storage temperature -10° to +50°C Relative storage humidity max. 80% (non-condensing) - Charging the batteries
Use only the control box with included battery charger on the Eagle 625 or the external charger meant to be mounted on the wall. We recommend that you should regularly recharge the batteries in order to ensure that the hoist remains usable and to extend the lifespan of the batteries. The control box will give a warning sound to tell you when the battery charge is low.- First use
First, insert the supply cable with the connector side into the appropriate connector on the control box. The plug side of the supply cable must be insert in the socket outlet. The loading time is about 24 hours. - Recharging
WARNING: Risk of injury – Do not use the lift when the supply cable is connected in the socket outlet.
- First use
When the batteries are recharging, the right LED will light green. The battery is fully charged once all three LEDs are on.
After the recharging process is completed, you should always remove the mains plug from the socket first and then remove the connector plug from the control box. Do not use the lift while it is being recharged! If the batteries are not used for a significant period, they discharge slowly by themselves (deep discharge). It then becomes impossible to recharge them. You should therefore recharge the batteries at least once a month even if they are not being used.
Emergency
In cases for emergency the emergency stop and the function for lowering in an emergency must be used.
- Emergency stop Eagle 620

In emergencies, and during assembly and disassembly, the emergency stop is activated by pressing the red button on the right of the control box. Push on the button and turn in the direction of the arrows. If the button is fully pressed to the back turn back in the opposite direction of the arrows. The emergency stop is deactivated by turning the red button in the direction of the arrows. - Emergency stop Eagle 625

In emergencies, and during assembly and disassembly, the emergency stop is activated by pressing the red button on the control box. Push on the button and turn in the direction of the arrows. If the button is fully pressed to the back turn back in the opposite direction of the arrows. The emergency stop is deactivated by turning the red button in the direction of the arrows. - Emergency lowering Eagle 620

If the manual operation mechanism should be damaged, it is possible to lower the cantilever arm from the control box. The arm moves down for as long as the bottom button on the control box panel is pressed. - Emergency lowering Eagle 625
WARNING: Risk of injury – Adjust the manual emergency lowering for the weight of the patient. Emergency lowering if the power fails or the batteries are empty can be done using the red pull button at the lower end of the motor. This emergency lowering is factory-set for a patient weight of 75 kg. Standard calibration: 3000N, 16 mm/s to lower the patiënt. Please note that the manual emergency lowering is only possible when the patient is sitting in the patient hoist.
Installation and adjustment
The patient hoist is delivered fully assembled by your specialist dealer. The instructions in this chapter are for the specialist dealer. To find a service facility or specialist dealer near you, contact the nearest Vermeiren facility.
WARNING: Risk of unsafe limitations – Use only the limitations described in this manual.
Delivery
- The Vermeiren Eagle 620 patient hoist shall be delivered with:
- chassis including 4 casters (2 with brakes)
- pole, including handles for pushing
- cantilever arm and spreader bar
- control box (incl. 2 accumulator batteries and manual operation)
- battery charger
- motor
- instruction manual
- The Vermeiren Eagle 625 patient hoist shall be delivered with:
- chassis including 4 casters (2 with brakes)
- pole, including handles for pushing
- cantilever arm and spreader bar
- control box (+ included battery charger)
- battery
- manual control
- motor
- instruction manual
Before use check if everything is included and that no products are damaged (example by transport, …).
Please note that the basic configuration may vary from one European country to another. Please contact the specialist dealer in your country for more information.
Assembly or dismantling
Unpacking
WARNING: Risk of injury – After unpacking and before further assembly, always first confirm that the emergency stop (the red pushbutton on the control box) is pressed in.
The patient hoist packaging has been selected to provide the best possible protection during transport.
- Take the patient hoist out of the box and check that all the items have been delivered and that the individual parts do not have any visible defects. If there is any damage, please contact your sales office.

- Before assembly, put on the caster brakes to make sure that the lift cannot be moved unintentionally. Push the caster brake plate down gently to its end stop with the front of your foot. To release the brake, push the brake plate gently back up again with the front of your foot until the caster is free.

Assembly
WARNING: Risk of clamping – Take care that no body parts and wires get trapped, crushed or cut during assembly.
- Remove the safety spindle (locking pin) from the bottom end of the pole by gently pressing the button at the head of the spindle. The safety spindle can now be removed easily.

- Undo the transport lock (wing screw) gently and the pole can now be raised.

- A. The standing position safety (traction screw) clicks audibly into place once the pole is put in its final position.

- A. The standing position safety (traction screw) clicks audibly into place once the pole is put in its final position.
- WARNING: Risk of injury – Make sure that the safety spindle is correctly inserted.
Fix the pole in place by pushing the safety spindle at the end of the pole in with the pushbutton depressed until its other end clearly protrudes. Release the pushbutton on the safety spindle and check that it cannot be pulled out.
- Undo the transport strap (Velcro) of the spreader bar. This can now be moved freely to the end of the pole.

Dismantling
WARNING: Risk of clamping – Take care that no body parts and wires get trapped, crushed or cut during dismantling.
WARNING: Risk of injury – Check the emergency stop (red pushbutton on the control box) is activated, to avoid unintentional adjustment movements
- Secure the two casters at the back of the chassis by pressing the caster brake plates down gently to their end stops with the tip of your foot. To release the brake, push the brake plate gently back up again with the front of your foot until the casters are free.

- Move the cantilever arm to the bottom position (end stop). Place the spreader bar vertically and secure it with the transport strap Velcro, as shown in the picture.

- Remove the safety spindle (locking pin) from the bottom end of the pole by gently pressing the button at the head of the spindle. The safety spindle can now be removed easily.

- Pull out the standing position safety (traction screw) until the pole is released and can be tilted. The pole can now be tilted forwards. Tip the pole as far as possible forward that its head end comes to rest on the spreader bar.

- Fix the pole in place by pushing the safety spindle at the end of the pole in with the pushbutton depressed until its other end clearly protrudes. Release the pushbutton onthe safety spindle and check that it cannot be pulled out again.

Swapping the battery
- We shall decline all liability for damage caused by the use of improper battery.
- Do not use the battery at temperatures below +5°C or above +50°C (the ideal is +20°C).
- If the battery is opened, all liability of the manufacturer shall be voided as well as any claim.

The battery of the patient hoist Eagle 625 can be swapped by an integrated clip system. To swap the battery pull on the integrated clip system. The plate will be lifted and the battery can be taken off the holder (control box).
Maintenance
Time of maintenance
Repairs and replacements may only be undertaken by trained persons and only genuine replacement parts of Vermeiren should be used (see the maintenance manual).
The last page of this manual contains a registration form for the specialist dealer to record each service.
The service frequency depends on the frequency and intensity of use. Contact your dealer to agree to a common timetable for inspection/maintenance/repair.
For the maintenance manual, refer to the Vermeiren website: www.vermeiren.com.
Before each use
Inspect the following points:
- All parts: present and undamaged or unworn.
- All parts: clean.
- Condition of frame parts: no deformation, instability, weakness or loose connections.
- Brakes: no visible damage and/or dirt.
- Control box, manual control, battery charger, relevant cables: no damage such as wires that have become frayed, broken or exposed. Check that the electrical adjustment of the cantilever arm is working properly, using the manual control.
- Battery status: charge the battery when necessary.
Approx. every 8 weeks
Depending on the frequency of use, check the following:
- Lubrication of the joints of the cantilever arm
- Condition of the casters
- Whether there is any visible damage to the casing of the control box, battery, battery charger and the manual controls
- Whether the cables are fit for use
- Recharge the battery
Approx. every 6 months or for every new user
Depending on the frequency of use check the following:
- Cleanliness
- General condition
- That the battery charger is working (Eagle 620)
- Casters are working
If the resistance to rotation is too great, clean the casters. If this is insufficient, please consult your dealer.
Yearly or more often
Have the patient hoist inspected and serviced by your specialist dealer, at least once a year, or more often. The minimum maintenance frequency depends on use and should therefore be commonly agreed upon with your specialist dealer.
Shipping and storage
- Shipping and storage should happen according to the technical specifications. Make sure that the patient hoist is stored dry.
- Prevent cables from being crushed or bent with kinks.
- Disconnect the power plug of the battery charger (Eagle 620).
- Disconnect the patient hoist from the socket (Eagle 625).
- Provide sufficient covering or packaging to protect the patient hoist against rust and foreign bodies. (e.g. salt water, sea air, sand, dust).
- Store all removed parts together in one place (or mark them if necessary) to avoid mixing up with other products when re-assembling (e.g. the charger).
- Make sure no objects are stored on or against the patient hoist and its components to prevent damage.
Cleaning
- Never use a hose or high-pressure cleaner.
- Use a mild commercial detergent to remove stubborn dirt.
- Stains can be removed by using a sponge or a soft brush.
- Do not use strong cleaning liquids like solvents, nor use hard brushes.
- Plastic parts
Clean plastic parts of your patient hoist with commercial plastic cleaners. Read the specific product information and only use a soft brush or soft sponge. - Coating
The high quality of the surface layer guarantees optimal protection against corrosion. If the outer coat is damaged by scratching or in some other way, get your specialist dealer to repair the affected surface.
When cleaning, only use warm water and normal household detergents and soft brushes and cloths. Ensure that no wetness gets into the tubes. - Electronics casing
WARNING: Risk of injury – The emergency stop must be activated before maintenance work, so that no unintentional adjustment movements can be made. Wipe the control box, motor casing and manual controls down with a cloth moistened by a few drops of a commercial domestic cleaner. Do not use abrasives or sharp edged polishing equipment like a metal scrubber or brush, as these can scratch the surface of the manual control and destroy its water repelling property. Regularly check the plug connectors for corrosion or damage, as these could affect the functional integrity of the electronics. The manufacturer will not accept liability for damages caused by insufficient maintenance.
Disinfection
WARNING: Dangerous Products – The use of disinfectants is restricted to authorized personnel.
All parts of the patient hoist can be treated by scrubbing with a commercial disinfectant. Follow the instructions on the disinfectant. Washing instructions for slings can be found in the slings manual and on the label of each sling.
Inspection
In principle we recommend one inspection every year, and a minimum of one before usage is resumed. All of the following checks must be performed and documented by authorized persons:
- Check the cabling (in particular for crushing, wear, cuts, visible parts of the insulation of the inner wires, visible metal wire cores, kinks, bulges, colour changes of the outer sleeve, brittle spots, and safe positioning so that mechanical effects such as being cut or crushed are not probable).
- Visual inspection of the frame parts to check for plastic deformation and/or wear and tear (frame, motor suspension, cantilever arm, spreader bar).
- Visually check for damage to the paintwork (danger of corrosion).
- Visual inspection of all casings for damage; screws must be tight.
- Verify the amount of grease on the metal joints of movable parts
- Visually check all plastic parts for cracks and brittle spots
- Review the charger (Eagle 620), control box + included charger (Eagle 625) residual discharge current (A) based on VDE 0702
- Review the charger (Eagle 620), control box + included charger (Eagle 625) insulation resistance (MO) based on VDE 0702
- Functional test of the cantilever arm (lubrication of the joint parts, range of adjustability, deformation, wear and tear)
- Check the functioning of the hoist drives (during a test drive → noises, speed, free running, etc.), if necessary: Measure the performance, first with no load and then with the nominal load (“SWL”), to investigate the wear and tear of the motors by comparing the values for the electric current against the values when it was delivered.
- Functional test of the emergency stop
- Functional test of the emergency lowering
- Completeness of the delivery condition, instruction manual available?
Checking measurements may only be carried out by skilled persons trained on the patient hoist at least and at least under the supervision of an electrician who knows the checking instruments and processes. Only an electrician can release the patient hoist for use after making the measurements and carrying out the servicing. The service must only be signed off in the maintenance plan if a minimum of all the above-mentioned aspects have been checked.
Expected lifespan
The average lifespan of the patient hoist is 8 years. Depending on the frequency of use, storage, maintenance, servicing and cleaning, the lifespan of the patient hoist will increase or decrease.
Reuse
Before each reuse, have the patient hoist disinfected, inspected and serviced according to the instructions in this chapter.
End of use
At end of life, you need to dispose of the patient hoist according to the local environmental legislation. The best way to do so, is to disassemble the patient hoist to facilitate the transport of recyclable parts.
Troubleshooting
| Problem | Cause of problem | Problem-solving |
| Noisy sound of the moving parts (example: cantilever arm). | Lubrication is necessary. | Lubricate the moving parts. (Do not lubricate the actuator!) |
| Actuator makes an unusual sound. | The actuator is damaged. | Replace the actuator or contact your specialist dealer. |
| Patient hoist does not lift anymore. | 1. Electric actuator is damaged. 2. The user weight is too high. 3. Manual control or actuator are not connected. 4. Battery not connected or not connected properly to control box. 5. Battery too low. 6. Emergency stop is activated. | 1. Replace the actuator. 2. Use a patient hoist with higher maximum user weight. 3. Check connections. If necessary connect manual control or actuator. 4. Check battery is installed or the connection of the battery. 5. Charge the batteries or replace. 6. Deactivate the emergency stop. |
| Lowering the patient in case of emergency does not work. | There is required a minimum weight load to lower the patient. | If the patient weight is too low pull down slightly on the cantilever arms or adjust the lowering speed. |
| Battery cannot be charged | 1. Batteries not fitted correctly to control box. 2. Mains cable defect. 3. Batteries are defected. 4. Control box with included charger is defected 5. Battery charger is defected | 1. Check batteries are connected to the control box. 2. Change mains cable. 3. Replace battery. 4. Replace control box with included charger. 5. Replace new battery charger. |
Technical specifications


| Brand | Vermeiren | ||
| Type | Patient hoist | ||
| Model | Eagle 620, Eagle 625 | ||
| Description | Measurement in drawing | Dimensions | |
| Eagle 620 | Eagle 625 | ||
| Lowest CAP position* | l | 728 mm | 766 mm |
| Highest CAP position* | k | 1740 mm | 1840 mm |
| Lifting range (range of heights) | m | 1012 mm | 1074 mm |
| Leg length | 1000 mm | 1150 mm | |
| Total length | 1115 mm | 1290 mm | |
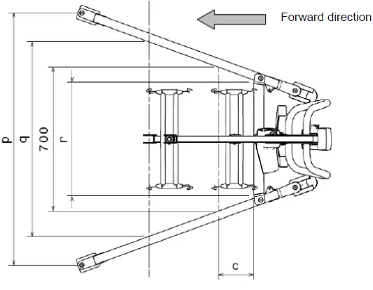
| Minimum leg separation | r | 463 mm | 554 mm |
| Maximum leg separation | q | 833 mm | 945 mm |
| Leg height / Frame height | n | 111.5 mm | 111.5 mm |
| Overall width (closed), external dimension | 550 mm | 680 mm | |
| Overall width (opened), castors forwards | p | 1035 mm | 1225 mm |
| Folded length | 1180 mm | 1220 mm | |
| Folded height | 480 mm | 480 mm | |
| Folded width | 550 mm | 680 mm | |
| Min. distance between wall / CSP* (minimum height) | w3 | 680 mm | 750 mm |
| Min. distance between wall / CSP* (maximum reach) | w2 | 240 mm | 310 mm |
| Min. distance between wall / CSP* (maximum height) | w1 | 320 mm | 390 mm |
| Turning circle | 1160 mm | 1290 mm | |
| Total weight | 37 kg | 42 kg | |
| Weight of chassis + motor | 17 kg | 20 kg | |
| Weight of battery | Not applicable | 2.90 kg | |
| Weight of cantilever arm / spreader bar | 20 kg | 22 kg | |
| Maximum load | 150 kg | 175 kg | |
| Free height, minimum | 51.5 mm | 51.5 mm | |
| Maximum reach at 600 mm | a | 265 mm | 434 mm |
| Maximum reach from support | b | 476 mm | 508 mm |
| Reach from support at separation 700 mm | c | 295 mm | 172 mm |
| Power outlet | 24V max. 250 VA | ||
| Supply voltage | 24V max. 5.3 VA | 100-240V ~ max. 37-53 VA | |
| Maximum current drawn | max. 300 mA | max. 400 mA | |
| Operating temperature | +5 to +40°C | ||
| Relative humidity | 20% to 90% at 30°C, non-condensing | ||
| Noise level | < 50 dB(A) | ||
| Air pressure | 700 to 1060 hPa | ||
| Brand | Vermeiren | ||
| Type | Patient hoist | ||
| Model | Eagle 620, Eagle 625 | ||
| Description | Measurement in drawing | Dimensions | |
| Eagle 620 | Eagle 625 | ||
| Control box | Linak CBJ Home | Linak CBJ2 | |
| Battery | Not applicable | Linak BAJ1 | |
| Manual control | Linak HB7X (< 5N force required to operate) | ||
| Motor | Linak LA31C (6000N) | Linak LA34 (10000N) | |
| Control box protection class | IPX4 | ||
| Battery protection class | Not applicable | IPX5 | |
| Manual control protection class | IP66 | ||
| Motor protection class | IP54 | ||
| Insulation class | II – Type B | ||
| Operational performance | approx. 40 lifts per charge | ||
| Periodic operation | max. 10%, or 2 min. continuous operation/18 min. pauses | ||
| Battery capacity | 2.9 Ah | ||
| Emergency stop | Yes | ||
| Manual lowering in emergency | No | Yes | |
| Electrical lowering in emergency | Yes | No | |
| We reserve the right to introduce technical changes. Measurement tolerance ± 15 mm / 1,5 kg / 1,5° | |||
Service registration form
- This product (name): …………………………………….. was inspected (I), serviced (S), repaired (R) or disinfected (D):
| By (stamp): Kind of work: I / S / R / D Date: | By (stamp): Kind of work: I / S / R / D Date: | By (stamp): Kind of work: I / S / R / D Date: |
| By (stamp): Kind of work: I / S / R / D Date: | By (stamp): Kind of work: I / S / R / D Date: | By (stamp): Kind of work: I / S / R / D Date: |
| By (stamp): Kind of work: I / S / R / D Date: | By (stamp): Kind of work: I / S / R / D Date: | By (stamp): Kind of work: I / S / R / D Date: |
| By (stamp): Kind of work: I / S / R / D Date: | By (stamp): Kind of work: I / S / R / D Date: | By (stamp): Kind of work: I / S / R / D Date: |
| By (stamp): Kind of work: I / S / R / D Date: | By (stamp): Kind of work: I / S / R / D Date: | By (stamp): Kind of work: I / S / R / D Date: |
Vermeiren GROUP Vermeirenplein 1 / 15 2920 Kalmthout BE
- website: www.vermeiren.com
Instructions for specialist dealer
This instruction manual is part and parcel of the product and must accompany every product sold.
- Version: C, 2022-04
- Basic UDI:
- 5415174 123603Eagle 620 TN
- 5415174 123603Eagle 625 TY
All rights reserved, including translation.









































