AMF MAGNETICS 89131 Magnetic Lifters
Operating Instructions
- The Permanent Magnetic Lifter must be used within its rated range.
- To avoid accidents do not exceed the Permanent Magnetic Lifter‘s rated capacity.
- The lifting capacity of the Permanent Magnetic Lifter is influenced by the thickness and surface finish of the work piece
- Therefore, before operation, it is necessary to inspect the thickness of the work piece.
- The percentage of the rated capacity that the Permanent Magnetic Lifter may hold can be determined from the steel thickness lifting capacity curve, shown in the performance chart on the side plate of the Permanent Magnetic Lifter.
- It is also necessary to inspect work piece surface finish. If its roughness Ra is 6.3um, an air gap will exist.
- Estimate the air gap and find out the percentage of the Permanent Magnetic Lifter’s lifting capacity from the air gap lifting capacity curve showing the performance chart on the side plate of the Permanent Magnetic Lifter.
- Combine these two factors and calculate the lifting capacity the Permanent Magnetic Lifter may hold.
- Before lifting, place the Permanent Magnetic Lifter on the work piece surface at the position where the line of the Permanent Magnetic Lifter lifting force passes through the centre of gravity of the work piece, then turn the handle from the release position, OFF to holding position ON.
- Check that the sliding key on the handle is automatically locked by the security pin and that the handle cannot release.
- Then attach the lifting hoist to the shackle of the Permanent Magnetic Lifter in preparation for hoisting the load. If the lifter is placed with its line of lifting
- When lifting and handling cylindrical work pieces, the Permanent Magnetic Lifter should mbe placed on the cylindrical surface at the position where the line of lifter lifting force passes through the centre ofm gravity of the work piece. Since the cylindrical surface contracts the V-slot of the lifter on only two lines the actual lifting capacity will generally be reduced to 30-50% of the lifting capacity
CAUTION
- The work-piece composition also influences the Permanent Magnetic Lifter’s lifting capacity.
- The coefficient of low-carbon steel is 100%.
- The coefficient of medium-carbon steel may reach 95%.
- The coefficient of high-carbon steel may reach 90%.
- The coefficient of low-alloy steel may reach 75%.
- The coefficient of cast-iron may reach 50%.
The environmental conditions for using the Permanent Magnetism Lifters should be:
- Ambient temperature not over 80°C.
- No strong vibration and shock.
- No corrosion existing on the surrounding medium.
Note:
The decrease in lifting capacity of the Permanent Magnetic Lifter is related to the diameter of the work piece force deviating from the centre of gravity of the work piece, the work piece will incline, and the lifting capacity of the Permanent Magnetic Lifter will decrease as the angle of the work piece inclines. If necessary lower the work piece and readjust the position of the Permanent Magnetic Lifter.
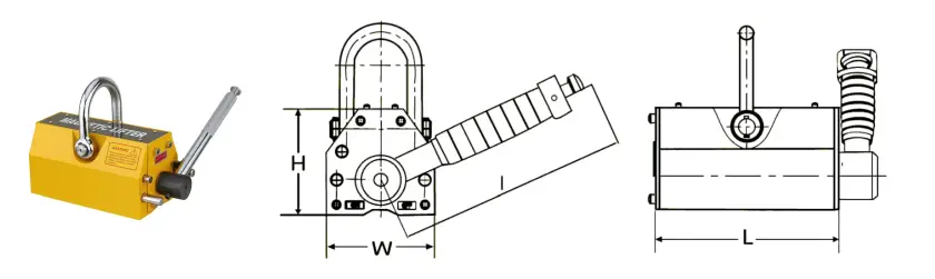
Rated Capacities and Specifications
The Permanent Magnetic Lifters contain a Rare Earth (NdFeB) Permanent Magnet, which can generate high holding-power in a magnetic circuit. Turning the pole-core shaft through the control handle, initiates the ON / OFF function of the Permanent Magnetic Lifter, which is independent of any outside power supply. When in use, the permanent magnetic lifter bottom holding-face forms a pair of longitudinal magnetic poles for holding Ferromagnetic materials. There are V-slots in the holding face that are used for holding flat, as well as cylindrical work pieces.
| Model | PML-1 | PML-3 | PML-6 | PML-10 | PML-20 | |
| AMF Product Code | 89130 | 89131 | 89132 | 89133 | 89134 | |
| Width (mm) W | 62mm | 92mm | 122mm | 176mm | 234mm | |
| Length (mm) L | 92mm | 162mm | 232mm | 258mm | 378mm | |
| Height (mm) H | 70mm | 96mm | 120mm | 163mm | 212mm | |
| Lifter (mm) l | 145mm | 180mm | 220mm | 285mm | 465mm | |
| Max Handle Turning Force (kgF) | <4 | <8 | <8 | <16 | <16 | |
| Dead Weight (kg) | 3kg | 10kg | 24kg | 50kg | 125kg |
Working temperature -40°C to 80°C.
Steel Thickness and Air Gap Requirements
- Influenced by thickness and surface quality of the component.
- Before operation, it is necessary to find out the percentage of the steel thickness-lifting capacity according to the thickness of the component and capacity curve (on the following page).
- If its surface roughness Ra is less than 6.3um, the lifter surface gap will not exist, the lifting capacity will be 100%. If the surface roughness Ra is above 6.3um or even worse, the lifter surface gap should be estimated.
- Find out the percentage that lifting capacity of the lifter may reach from the air gap-lifting capacity curve shown in the performance chart. Combine these two factors and calculating the lifting capacity that the lifter may reach. The curves are on the two sides of lifter

Maintenance and Safety Requirements
- When using or handling the Permanent Magnetic Lifter, care should be taken not to damage the unit. Rough treatment or severe shocks may influence the characteristics of the Permanent Magnetic Lifter.
- When the Permanent Magnetic Lifter is not in contact with ferromagnetic material or the work piece, do no turn the handle.
- When the Permanent Magnetic Lifter has materials attached, do not suspend or lift the load over people
- Always keep the Permanent Magnetic Lifter holding surfaces clean and smooth.
- Regularly check the handle button, the sliding key and the security pin. Make sure that they are in good condition and that the handle can be securely locked.
- WARNING
- If any of these are damaged, the security function will no longer be effective and repairs must be carried out before using the Permanent Magnetic Lifter again.
- The Permanent Magnetic Lifter’s functions should be checked every year by a qualified technical service personnel.
- Do not modify products





















