JULA 003151 Magnetic Motstand

SAFETY INSTRUCTIONS
- Check before use that all the screw unions are properly tightened and that the machine is working properly.
- Place the machine on a dry, level surface. Do not expose the machine to rain or moisture.
- Assemble the machine on a suitable surface.
- When exercising make sure there are no objects within a radius of 2 metres around the machine.
- Do not use strong detergents. Only use the supplied tools, or tools of the same type, for assembly and any repairs. Wipe any sweat or dirt off the machine after use.
- Incorrect or excessive exercise can have an adverse effect on your health. Consult a doctor before starting an exercise programme to get advice on a suitable level of exertion. The machine is not intended to be used for medical treatment.
- Do not use the machine if it is not working properly. Only use approved spare parts and accessories for servicing.
- Only one person at a time can use the machine.
- Wear suitable clothing and shoes. Do not wear clothes that can fasten in any part of the equipment.
- If you experience chest pains, nausea, dizziness or shortness of breath, stop exercising at once and seek medical attention.
- The machine is not intended to be used by persons (children or adults) with any form of functional disorders, or by persons who do not have sufficient experience or knowledge on how to use it, unless they have received instructions concerning the use of the machine from someone who is responsible for their safety.
- The machine should be assembled by two persons to avoid the risk of personal injury.
TECHNICAL DATA
- Dimensions H167 W135 D67 cm
- Max weight of user 120 kg
- Weight 44.5 kg
DESCRIPTION
- Frame x1
- Rear end piece x 2
- Rear foot x 1
- Hex screw (MB x 90) x 2
- Flat washer (0 10 x 0 20 x 2) x 4
- Nyloc nut (M10) x 4
- Plastic bushing (0 28 x 16 x 0 16.1) x 4
- Alloy bushing (0 18 X 0 70 X 11) X 4
- D-shaped washer x 4
- Hex screw (M10 x 20) x 4
- Spring washer 0 10) x 4
- Flat washer (0 8 x 0 76 x 1.5) x 10
- Nyloc nut (MB) x 10
- Left/right pedal x 1/1
- Left/right pedal attachment x 1/1
- Screw (MS x 10) x 4
- Guard Left/right x 2/2
- Hex screw (012 x M10 x 80) x 2
- Axle bushing 3 (0 12 X 0 32 X 15) X 4
- Spring washer (0 8 x 0 19 x 1.5 x R 30) x 6
- Hex screw (MB x 72) x 2
- Front end piece x 2
- Front foot x 2
- Left/right tube arm x 1/1
- Axle bushing 4 (016 X 0 31 X 23) X 6
- Cuardx 2
- Screw (ST3.5 x 13) x 4
- L/R handle x 1/1
- Foam rubber grip x 2
- End piece x 2
- Training computer x 7
- Guardx7
- Mains adapter x 7
- Self tapping screw (ST4.2 x 78) x 70
- Wave washer x 4
- Carriage screw (MB x 45) x 4
- Hex screw (MB x 45) x 6
- Hex screw (M70 x 55) x 2
- Coupling left/right pedal tube x 7/7
- End piece x 2
- Foam rubber grip x 2
- Fastener for handlebars x 7.
- Pulse coble x 2
- Spring washer (0 8) x 8
- Hex screw (MB x 76) x 8
- Handlebar post x 7
- Guardx7
- Flat washer (0 72 x 0 24) x 2
- Handlebar post cover x 7
- Power cord x 7
- ong axle x 7
- Flat washer (0 70 x 0 20 x 2) x 4
- Sensor cable x 7
- Guardx4
- Guardx2
- Left/right crank arm x 7/7
- Screw x4
- Spring washer (0 8 x 0 25 x R 39) x 2

ASSEMBLY
NOTE:
- Take out the machine and all the parts from the packaging. Check the list to see that no parts are missing.
- Make sure there is enough free space around the machine for its assembly.
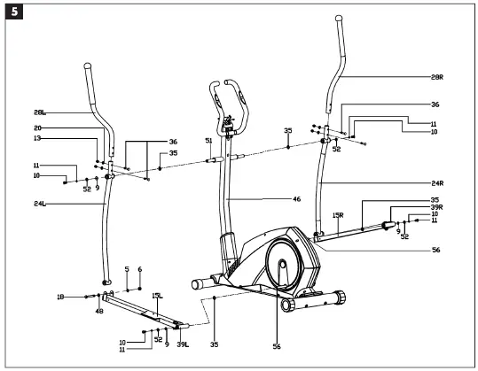
- Screw the front foot (23) on the frame (1) with the hex screws (21) and spring washers (20), and screw the rear foot (3) on the frame (1) with the hex screws (4) and spring washers (58), as shown in the diagram.

- Put the handlebar post guard (49) on the handlebar post (46). Connect the power cord (50) to the sensor cable (53) and fit the handlebar post (46) on the frame (1) with the hex screws (45), spring washers (44) and flat washers (12). Move down the handlebar post guard (49) to the correct position.

- Put the pulse cable (43) through the handlebar post (46) and the hole up in the computer bracket. Lock the fastener for the handlebars (42) at the handlebar post (46) with the hex screws (45) and flat washers (44).

- Fit the left/right tube arms (24L/R) on the long axle (51) on the handlebar post (46) with hex screw (10), spring washer (11), flat washer (52), D-shaped washer
- Fit the couplings for the left/right pedal tubes (39L/R) on the left/right crank arms (56L/R) with hex screw (10), spring washer (11), D-shaped washer (9), flat washer (52) and wave washers (35). Do not fully tighten the screws until the assembly is complete.
- Fit the left/right tube arms (24L/R) and left/right pedal brackets (15L/R) with cap screw (18), flat washer (5), flat washer (48) and nyloc nut (6).
- Tighten the hex screws (10), cap screw (18) and nyloc nut (6) firmly.
- Fit the left/right handle (28L/R) on the left/right tube arms (24L/R) with carriage screw (36), spring washer (20) and nyloc nut (13).

- Fit the left/right pedals (14L/R) and left/ right pedal brackets (15L/R) with the cap screws (37), flat washers (12) and nyloc nuts (13). NOTE: The pedal are marked with R for right and L for left.

- Fit the guards (26a/b) and (55a/b) over the joints between the left/right handles (28L/R) and left/right tube arms (24L/R) and lock with the screws (27).
- Fit the guard (17L/R) on the pedal bracket (15 L/R) with self-tapping screw (34).
- Fit the guard (54a/b) on the coupling for the left/right pedal tubes (39L/R) with the screws (16).

- Connect the power cord (50) and pulse cables (43) to the computer cables and fit the computer (31) on the computer bracket on the handlebar post (46). Screw firm the computer (31) with the screws (57).
- Fit the guards (32) and (47) on the handlebar post (46) with the screws (34).

USE
App IconSole
- Download the app iConsole+ from App Store or Google play.
- Start the app iConsole+ on the tablet/ smartphone, activate Bluetooth on the tablet/smartphone, and press Connect to start exercising.
USB CHARGING
Only tablets and smartphones can be charged via USB from the computer.
TRAINING COMPUTER
Functions
- SPEED Speed during exercising, 0.0-99.9
- RPM Speed,0-999
- TIME Exercising time, 0:00-99:59
- DISTANCE Distance covered during the exercising, 0.0-99.9
- CALORIES Number of burned calories during the exercising, 0-999
- WATT Power consumption during the exercising, 0-350
- PULSE Pulse during the exercising in spm. Pulse alarm if set target pulse is exceeded.
- MANUAL Manual exercise mode.
- PROGRAM Pulse during the exercising in spm. Pulse alarm if set target pulse is exceeded.
- H.R.C xercise mode for target pulse.
- WATTS Exercise mode for constant power consumption.
- USER Resistance profile set by user.
Buttons
- Control Increase resistance
- wheel up wheel up
- Control Reduce resistance.
- wheel down Choice of setting.
- Mode Confirm setting or choice
- Reset Press for 2 seconds to restart the computer with the user settings. Go back to main menu when setting the exercise data or in stop mode.
- Start/Stop Start/stop exercising.
- Recovery Measure recovery pulse.
- Body fat Measure body fat and BMI.
Start
- Connect the power supply.
- The computer starts and all segments are shown on the display for 2 seconds.

- The preset wheel diameter is then shown on the display image Speed and E or A on the display image TIME for 1 second.

- The display image for user settings is then shown. Press the control wheel to select U1-U4 and set SEX, AGE, HEIGHT and WEIGHT.

- The computer starts and all segments are shown on the display for 2 seconds.
- Confirm by pressing the MODE button. When the user settings are completed the display shows the main menu.

After 4 minutes without pedalling or pulse detection the computer goes into power saving mode. Press any button to activate the computer.
Setting the functions
- In the main menu turn the control wheel UP or DOWN to select exercise settings.
- M (Manual)

- P (Program 1-12)

- (H.R.C)

- W(WATT)

- U (User)

- M (Manual)
- Press the MODE button to activate.
Manual made (M)
Press START in the main menu to start exercising in manual mode.
- Press the control wheel UP or DOWN to select exercise programme, select M and press the MODE button to activate.
- Press the control wheel UP or DOWN to set the resistance. The preset value is 1.

- Press the control wheel UP or DOWN to preset TIME, DISTANCE, CALORIES and PULSE. Press the MODE button to confirm.




- Press the START/STOP to start exercising. The resistance can be changed with the control wheel while exercising. The resistance is shown in the display image WATT. If no change is made for 3 seconds the display returns to show the power consumption.

- Press the START/STOP to pause the exercising. Press the PRESET button to return to the main menu.
Programme
- Press the control wheel UP or DOWN to select exercise programme, select P01, P02, P03 … P12 and press the MODE button to activate.

- Press the control wheel UP or DOWN to set the resistance. The preset value is 1.

- Press the control wheel UP or DOWN to preset TIME.
- Press the START/STOP to start exercising. The resistance can be changed with the control wheel while exercising.
- Press the START/STOP to pause the exercising. Press the PRESET button to return to the main menu.
H.R.C
- Press the control wheel UP or DOWN to select exercise programme, select H.R.C. and press the MODE button to activate.
- Press the control wheel UP or DOWN to select exercise programme, select 55%, 75%, 90% or TAG (TARGET H.R., target pulse). The standard setting is 100. lfTAG has been selected, press the control wheel to set a value from 30 to 230.




- Press the control wheel UP or DOWN to preset TIME.

- Press the START/STOP button to start or stop exercising. Press the PRESET button to return to the main menu.
Watt
- Press the control wheel UP or DOWN to select exercise programme, select Wand press the MODE button to activate.
- Press the control wheel UP or DOWN to preset the target value for WATT (power consumption). The standard setting is 120.

- Press the control wheel UP or DOWN to preset TIME.

- Press the START/STOP to start exercising. During the exercising the resistance is adjusted automatically on the basis of the user’s exercising status. The user can change the power consumption with the control wheel.
Resistance profile set by user
- Press the control wheel UP or DOWN to select exercise programme, select U and press the MODE button to activate.
- Press the control wheel UP or DOWN to create a user profile. Adjust the values for resistance in the 8 columns.
- Press the MODE button for 2 seconds to store the setting.

- Press the control wheel UP or DOWN to preset TIME.

- Press the START/STOP to start exercising. The resistance can be changed with the control wheel while exercising.
- Press the START/STOP to pause the exercising. Press the PRESET button to return to the main menu.
Recovery
- When you have finished exercising, continue to hold the handles or keep the chest band on and press the RECOVERY button to measure the recovery rate.
- All mode displays stop, except for TIME, which starts counting down from 00:60 to 00:00.
- The display shows your recovery status, with the values Fl to F6. Fl is the best value, F6 the worst.


- Press the RECOVERY button again to return to the main display.
BODY FAT
- Press the BODY FAT button in STOP mode to start measuring body fat.
- Hold the handles with both hands during the measurement. The computer detects the pulse for 8 seconds until the measurement is completed.

- The display shows BMI, FAT% and the symbol for body fat advice.



























































