
H-1826, H-1827 H-2528, H-2596
PLASTIC PLATFORM TRUCKS
1-800-295-5510
uline.com

TOOLS NEEDE

PARTS

ASSEMBLY
- Place deck upside down on a smooth non-marring surface.
- Fit socket stiffeners into a groove in the deck. Face the welded nuts toward the middle of the deck.
NOTE: A nut is welded to each socket. - Place the swivel casters on the deck, at the socket end.
- Place the rigid casters at the opposite end.
- The top plate of each caster is centered over the socket stiffener tube and lined up with the four caster holes in the deck.
- Place a washer over each long screw.
- Place a long screw and screw down through the slot in each caster. (Requires a 9/16″ socket wrench)
NOTE: Four long screws are required per caster.
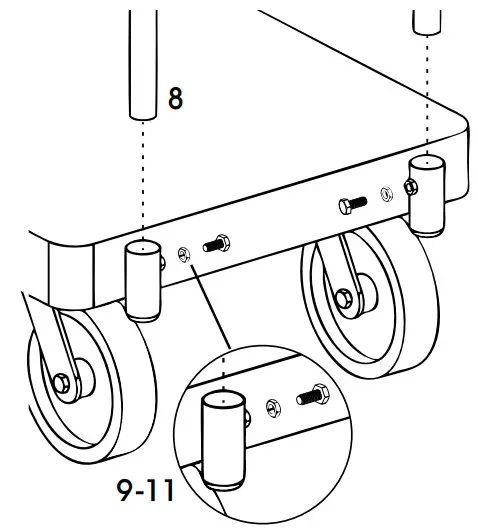
ASSEMBLY CONTINUED - Turn the deck over onto its casters and insert the handle into the sockets.
- Fully thread the nut onto the bolt. There are two of
- Thread the bolts into the nut welded to each socket. Tighten securely with 9/16″ socket wrench.
- Tighten the nut securely against the welded nut attached to the socket. (Requires 9/16″ wrench.)


1-800-295-5510
uline.com
0521 IH-1826

ASSEMBLY CONTINUED



















