ULINE H-3012 Plastic And Fiber Drum Truck Installation Guide
Product overview


Technical Data
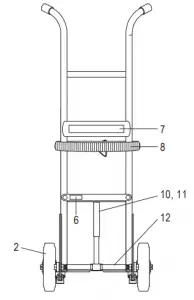
| # | DESCRIPTION | QTY. | ULINE PART NO. | MFG. PART NO. |
| 1 | Frame Weldment | 1 | ———– | 051826 |
| 2 | Wheel BT-1, 10 x 2.5 | 2 | H-1233-WHEEL | 150596 |
| 3 | Washer, Flat, 1″ SAE | 8 | H-1233-WASHR | 108208 |
| 4 | Cotter Pin 3/16 x 1⁄” | 2 | H-1233-CP | 108218 |
| 5 | Handgrip, Yellow | 2 | H-1233-GRIP | 108433 |
| 6 | Uline Label | 1 | H-61LBL | 154009 |
| 7 | Warning Label | 1 | ———– | 154024 |
| 8 | Securing Strap | 1 | H-3012-STRAP | 150303 |
| 9 | Nose Prong Set | 1 | H-3012-NOSE | 240115 |
| KIT | Kit: Hardware for Nose Prong | 1 | ———– | 051355 |
| 10 | Axle Spring | 1 | H-1233-AXSPR | 108443 |
| 11 | Upper Spring Housing | 1 | H-1233-TH | 051346 |
| 12 | Floating Axle Assembly | 1 | ———– | 051347 |
| KIT | Kit: Hardware Floating Axle Assembly | 1 | ———– | 051356 |
Contacts Us
1-800-295-5510
uline.com




















