ABB 6AGC085684 Pedestal For Terra AC Wallbox

Product Information
The Pedestal for Terra AC Wallbox is an alternative to mounting the Terra AC Wallbox on a wall. This free-standing pedestal can be installed indoors or outdoors, and it is available in two designs: Single Pedestal 6AGC085345 and Back-to-Back Pedestal 6AGC085684. The single pedestal is designed to hold one charging station while the back-to-back pedestal can hold two charging stations.
The installation of the charging station, as well as the pedestal, should only be performed by correctly trained, qualified,and authorized electricians who are fully responsible for the compliance with existing standards and installation regulations. The producer assumes no liability for claims resulting from not following the safety instructions.
The installation manual is intended for qualified personnel only, and it should be used as a supplement to the Terra AC Wallbox Installation Manual. The manual provides instructions on selecting the location, installation, and connection of the charging station, which must be adhered to.
Product Usage Instructions
Before installing the Pedestal for Terra AC Wallbox, ensure that you have read and understood the safety instructions and installation manual. Keep in mind that installation, commissioning, and maintenance of the charging station may only be performed by correctly trained, qualified, and authorized electricians who are fully responsible for the compliance with existing standards and installation regulations.
Intended Use
The Pedestal for Terra AC Wallbox is intended for free-standing installation in inside or outside areas as an alternative tomounting the charging station on a wall. Depending on the design and number of charging stations, the relevant number of empty pipes and connection cables should be taken into consideration in the concrete foundation.
| 2× | SCREW; FLAT HEADED DIN 923 M5X3(x12) Stainless steel | 4× | SCREW; FLAT HEADED DIN 923 M5X3(x12) Stainless steel |
| 2× | SCREW; HEX. SOCKET HEAD M6X90 A2-70 DIN 6912 | 4× | SCREW; HEX. SOCKET HEAD M6X90 A2-70 DIN 6912 |
| 1× | EDGING L = 65 mm | 2× | EDGING L = 65 mm |
| 1× | NUT. M6 UNI 5588 A2 | 2× | NUT. M6 UNI 5588 A2 |
| 1× | CONTACT WASHER M6 | 2× | CONTACT WASHER M6 |
Location Requirements
The respective national regulations must be observed with regard to the installation of the pedestals. The base should be positioned below street level, and the pavement can cover the base. The concrete foundation should be considered for the installation of the charging station, and the four anchors (M10x40) must be used for anchoring the pedestal to the base.
Warning
It is important to note that the back-to-back pedestal must always be fitted with two charging stations. If the charging station is installed with a plug-in power supply line (e.g., for demonstration purposes), you should ensure that there is sufficient tension relief and edge protection for the power supply line.
By following these instructions and observing the safety guidelines, you can safely and effectively use the Pedestal for Terra AC Wallbox to install your charging station.
Safety instructions
Warning!
- Not observing the safety instructions can result in risk of death, injuries and damage to the device!
- The producer assumes no liability for claims resulting from this!
Electrical hazard!
- The installation, commissioning and maintenance of the charging station may only be performed by correctly trained, qualified and authorized electricians who are fully responsible for the compliance with existing standards and installation regulations.
- Observe the instructions given for selecting the location and the constructional requirements!
- If the specifications for the location are not observed, this can result in death, serious physical injury or equipment damage if the corresponding precautionary measures are not met!
Use of this manual
- This installation manual is intended for qualified personnel only(1).
- This guide is a supplement to the “Terra AC wallbox
- Installation Manual.” The information and instructions in the manual about selecting the location, installation and connection of the charging station must be adhered to.
Intended use
- A pedestal for free-standing installation in inside or outside areas is available as an alternative to mounting the charging station on a wall.
- Depending on the design and number of charging stations the relevant number of empty pipes and connection cables should be taken into consideration in the concrete foundation.
- If the charging station is installed with a plug-in power supply line (e.g., for demonstration purposes), you should ensure that there is sufficient tension relief and edge protection for the power supply line.
- The respective national regulations must be observed with regard to the installation of the pedestals.
- Weight (without charging station): 10,5 kg (single / back-to-back)
Overview
Single pedestal 6AGC085345
The single pedestal is designed for the installation of one charging station.
Back-to-back pedestal 6AGC085684
The back-to-back pedestal is designed for the installation of two charging stations
Electrical hazard!
The back-to-back pedestal must always be fitted with two charging stations!
Location requirements
General:
- All of the location requirements for the charging station in the ” Installation manual” must be adhered to!
- When mounting the pedestals in parking spaces or parking garages, appropriate anti-collision protection must be provided by the customer.
Concrete foundation:
- The calculation, design and manufacture of the concrete foundation lies in the scope of responsibility of the producer of the site.
- A horizontal, level and sound foundation is required for installation.
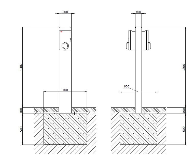
- To ensure safe and permanent anchoring, we recommend creating a concrete foundation: 70 cm (L) × 60 cm (W), depth = 50 cm. Concrete: C30/37
- The base must permit the running off of any water that has entered the base.
- All cables must be laid precisely in the centre of the concrete foundation from the base and must have an excess length of approx. 1.5 m for the remaining installation activities.
- During the production of the concrete foundation, the cables must be protected against damage using appropriate measures (e.g., a protective tube). The protective tube must have an excess length of approx. 25 cm above the concrete foundation.
- Mounting the pedestal on asphalt is not allowed!
Positioning the base
Position the base below street level. The pavement can cover the base. See drawings below
Anchoring to the base
The 4x anchors (M10x40) must be used for anchoring.
Technical data

Making drill holes
- Mark the 4 holes on the concrete foundation using the base plate of the pedestal. Make sure that the connection cable is located precisely underneath the opening in the base plate.
- Drill the 4 mounting holes:
- Diameter: 12 mm
- Drill-hole minimum depth: 43 mm
- Hammer the anchors (not included) so that they are flush with the floor.
Please also observe the following instructions:
Instructions on inserting the anchors
NOTE
THE IMAGES ARE VALID FOR ALL VERSIONS
Thread in cable:
Thread the connection cables from the bottom through the pedestal upwards through the cable opening
Anchoring:
- Position the pedestal directly over the cable outlet.
- Anchor the pedestal to the foundation using 4 bolts M10 and washer M10 (not included).

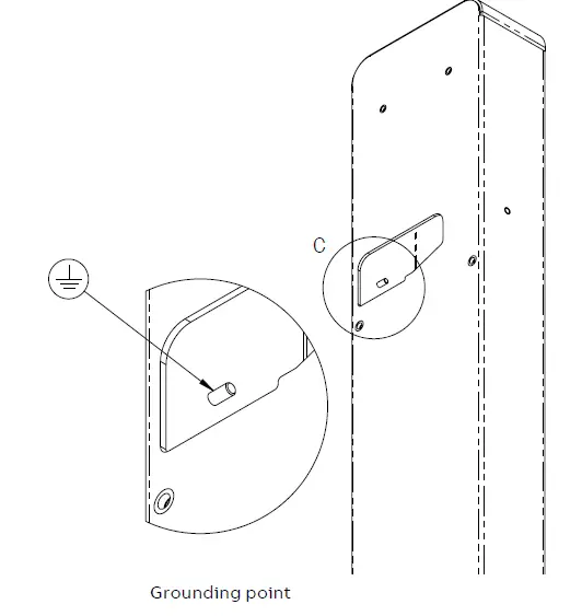
Grounding:
If necessary, connect the earthing to the pedestal’s grounding point with included nut M6 UNI 5588 A2 and contact washer M6. Max torque: 4 Nm.
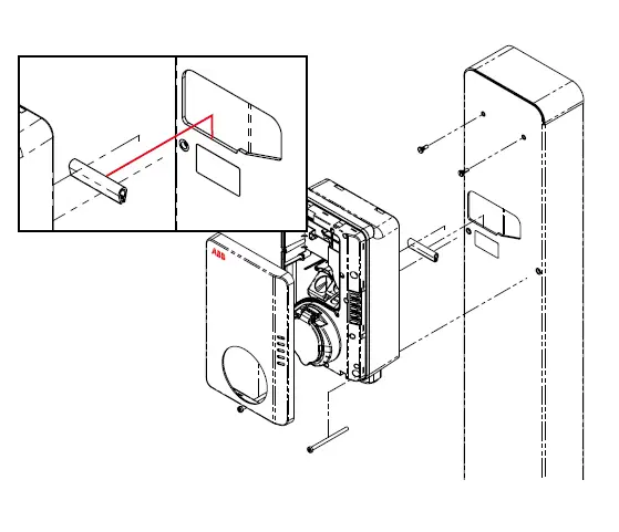
Add edge cable protection
- Add the edge protection on the cable opening of the pedestal immediately before installing the charging station (see figure).
- Use included edging 65 mm.

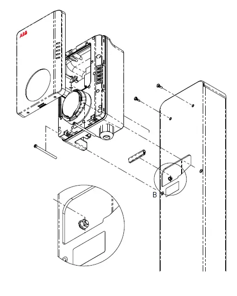
Mounting the charging stations
- Mount the charging stations on the pedestal using the enclosed screws.
- Use for top; screw type flat headed DIN 923 M5X3 (x12) Stainless steel
- Use for bottom; screw HEX socket head M6X90 A2-70, DIN 6912
Connecting and commissioning
- Perform the electrical connection and commissioning in accordance with the instructions in the “Installation manual.”
Pedestal for Terra AC wallbox
- TAC pedestal single (ABB6AGC085345)
- TAC pedestal back-to-back (ABB6AGC085684)





















