AEG WB 11 FI 11 kW Wallbox

Product Information
- Product Name: AEG WALLBOX WB 11 FI 11 KW, MIT FI-SCHUTZSCHALTER
- Product Type: Wallbox with FI-Schutzschalter
- Manufacturer: LRT Automotive GmbH
- Manufacturer Address: lmpexstr. 7, 69190 Walldorf, Deutschland Manufacturer
- Contact Details:
- Phone: +49 (0)6227 63692
- Fax: +49 (0)6227 63792
- Email: [email protected]
- Website: www.lrt-automotive.de
- Licensee: MTS MarkenTechnikService GmbH & Co.KG Carl-Benz-StraBe 276761 Rulzheim
- Tel.: +49 (0) 7272 I 9801 -100
- E-Mail: [email protected]
- Version: 1.0
- Release Date: 07.05.2021
All rights to this document are owned by MTS MarkenTechnikService GmbH & Co.KG.
MTS MarkenTechnikService GmbH & Co.KG reserves the right to make changes or improvements to its products without prior notice. Reproduction, excerpt or reference without prior written consent is prohibited.
©2021
Product Usage Instructions
- Ensure safety precautions are followed while using the AEG WALLBOX WB 11 FI 11 KW.
- Connect the wallbox to a power source.
- Make sure the FI-Schutzschalter is properly installed and functioning.
- Refer to the user manual for detailed instructions on how to use the wallbox.
- Pay attention to the safety warnings and signals provided in the user manual.
- Beware of electrical voltage hazards and take necessary precautions.
- For any queries or assistance, contact the manufacturer using the provided contact details.
Please note that the provided information is based on the text-extract from the user manual, and it is recommended to refer to the complete user manual for comprehensive product information and usage instructions.
ABOUT THIS DOCUMENT
Read these operating instructions before using the charging station. This is a prerequisite for trouble-free handling.
Observe the safety and warning notices in this documentation. Keep the documentation accessible to all users.
This documentation is a permanent part of the described product and must be handed over to the buyer at the time of sale!
Scope
The operating instructions apply to the models:
- AEG Wallbox WB 11 Fl
- AEG Wallbox WB 22 Fl
Target group
The operating instructions are intended for:
- the operator of the charging station
- the users of the charging station
Qualification of electricians
Installation, maintenance and repair work on the charging station may only be carried out by qualified electricians. These must be trained in handling a mains connection.
Due to their professional training, knowledge and experience as well as knowledge of the relevant standards and regulations, qualified electricians are able to carry out work on electrical systems and to independently detect possible hazards.
In Germany, qualified electricians must comply with the provisions of the accident prevention regulation DGUV Regulation 3 (e.g. master electrician). In other countries, corresponding regulations apply and must be observed.
SAFETY INFORMATION
Structure of safety instructions:
The signal word indicates the level of risk as well as the severity of possible injuries:
| Sig | |
| DANGER | This signal word is used to indicate an imminently hazardous situation which, if not avoided, will result in seri- ous injury or death. |
| WARNING | This signal word is used to indicate a potentially hazardous situation which, if not avoided, could result in death or serious injury. |
| CAUTION | This signal word is used to indicate a potentially hazardous situation which, if not avoided, could result in minor or moderate injury. |
| ATTENTION | |
| ATTENTION | This signal word without a warning sign is used to indicate a possible danger of property damage. |
| NOTE | This signal word indicates additional information useful to the user, such as operator facilitations and cross-references. |
The warning sign indicates the type of danger.
| Warning sign | M |
![]() | eral warning sign, danger of personal injury |
![]() | Warning of electrical voltage |

SAFETY
Use for intended purpose
Observe the intended use!
The protection of persons and the charging station is not guaranteed if the charging station is not used in accordance with its intended use.
- Only use the charging station in accordance with its intended use.
- MTS MarkenTechnikService GmbH & Co.KG is not liable for damage caused by improper use.
Read these operating instructions before using the charging station. Knowledge of the operating instructions is part of the intended use.
The AEG Wallbox is a three-phase charging station for electric vehicles. This is a stand-alone solution without a higher-level control system. The charging station is used exclusively for charging electric vehicles in accordance with charging mode 3 as per IEC 61851.
Only operate the charging station under the specified operating conditions, see Chap. 3.3 Technical data.
The charging station
- is suitable for charging with alternating current (AC).
- has been designed and manufactured in accordance with the inter- national standard IEC 61851.
- meets the requirements of protection class IP45.
- is suitable for outdoor use.
- is intended for operation in private areas, e.g. private properties.
- is intended exclusively for stationary installation.
Do not use extension cables, cable drums, multiple sockets or adapters to operate the charging station.
Foreseeable misuse
The charging station may only be operated within the technical data specified by MTS MarkenTechnikService GmbH & Co.KG. Any use other than that described in chapter 2.1 Intended use is considered improper use. The manufacturer is not liable for any damage resulting from this.
Possible foreseeable misuse:
- Use of extension cables, cable drums, multiple sockets or adapters for the operation of the charging station
- Charging with other charging modes
- Use in the non-private sphere
- Use in an environment with aggressive media (e.g. sea air) or highly dusty media (e.g. desert) or in explosive atmosphere
- Operation outside the specified operating conditions, see Chap. 3.3 Technical data
- Modifications or changes to the charging station
Follow the operating instructions!
Failure to observe the operating instructions and the resulting
non-intended use of the charging station can result in life-threatening personal injury and damage to the charging station or the vehicle.
- • Read these operating instructions before using the charging station.
• Keep the documentation accessible to all users.
Warning of dangerous electrical voltage!
Touching electrical cables can result in a fatal electric shock.
- Always keep the charging station housing closed.
- Only qualified electricians may open the housing.
- Have installation, maintenance and repair work carried out exclusively by a qualified electrician.
- Do not leave children unattended near the charging station while charging is in progress.
- Only use the charging station after it has been put into operation by a qualified electrician.
Warning of electromagnetic interference radiation!
MTS MarkenTechnikService GmbH & Co.KG charging stations that are operated non-intended comply with the European directive on electromagnetic compatibility with regard to interference radiation. In the event that persons with pacemakers or defibrillators wish to carry out activities at charging stations and their equipment, MTS MarkenTechnikService GmbH & Co.KG cannot make any statement about the suitability of these medical devices.
- MTS MarkenTechnikService GmbH & Co.KG recommends that affected persons only carry out work on the charging station after consulting the manufacturer of these medical devices.
- Do not store flammable, explosive, chemical or other hazardous substances near the charging station.
- Do not clean the vehicle or the area around the charging station with a high-pressure cleaner while the vehicle is connected to the charging station. The plug connection is not resistant to pressurised water.
Warranty and disclaimer
LRT Automotive GmbH only accepts responsibility for the delivery condition of the charging station and for all work carried out by LRT specialist personnel and official partner companies.
The manufacturer’s warranty shall elapse in the event of:
- Failure to observe the safety and operating instructions.
- Improper handling and non-intended use of the charging station.
- Unauthorised and improper installation, maintenance and repair of the charging station.
- Modifications or changes to the charging station.
- Damage caused by fire, flooding and other natural disasters.
- Transport damage or damage caused during installation.
DESCRIPTION
Layout

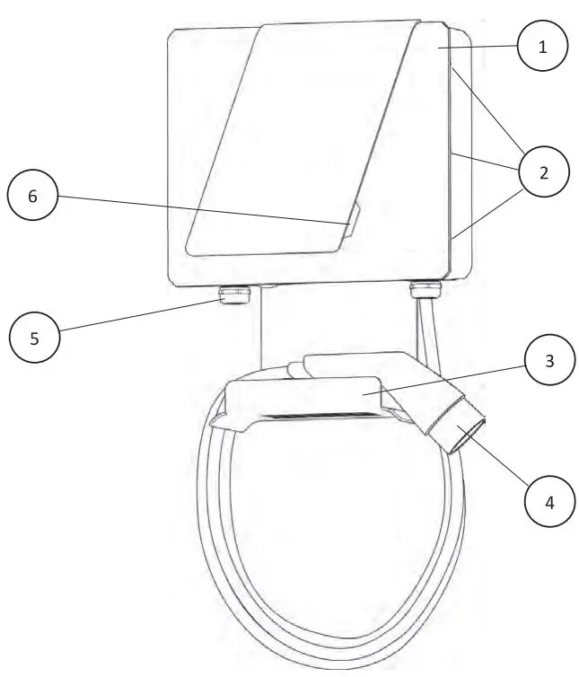
Fig. 1: Charging station housing outside
| 1 | Charging housing | s n | h r | n | Charging cable with coupler | ||
| 2 | Cover fitting | 5 | Power cable connection | ||||
| 3 | Bracket for charging cable | LED display | |||||
Function
The AEG Wallbox is a three-phase charging station for charging electric vehicles according to charging mode 3 as per IEC 61851 with alternating current (AC).
| Functiona | n |
| Type 2 cable | Coupler for connecting the vehicle |
| LED display | Charging station status display |
| RCCB type B (only for 11202, 11204) | Safety |
Technical data
General data
| G Wallbox WB 11 Fl | AEG Wallbox WB 22 Fl | |
| Article number | 11202, 11201 | 11204, 11203 |
| Housing dimensions LxWxH | 48x36x13 cm | |
| Housing material | PC/ABS VO+ MB | |
| Weight | 7.14 kg | |
| Cable length | Sm | |
Electrics
| EG Wallbox WB 11 Fl | AEG Wallbox WB 22 Fl | |
| Charging mode | Mode 3- C | |
| Three-phase alternating current | 3P + N + PE | |
| Supply voltage | 400 V AC ±10 % | |
| Mains frequency | 50/60 Hz | |
| Max. current | 16 A | 32A |
| Max. charging power | 11 kW | 22 kW |
| Overvoltage category | Ill | |
| Charging coupler | Charging cable type 2 IEC 62196 | |
| Residual current circuit breaker on 11201, 11203 | Necessary on the installation side | |
| Residual current circuit breaker on 11202, 11204 | AC 30mA, DC 6mA, type B RCCB | |
| Connection on 11201, 11203 | 3-phase on through terminals | |
| Connection on 11202, 11204 | 3-phase on RCCB | |
| Protection type | IP45 | |
Environmental conditions
| allbox WB 11 Fl | AEG Wallbox WB 22 Fl | |
| Ambient temperature | -40 °C – 45 °C | |
| Storage temperature | -40 °C – 70 °C | |
| Max. humidity | 5 % – 95 %, non-condensing | |
| Max. height above sea level | 2000m | |
INSTALLATION
Have the charging station installed and secured by a qualified electrician in accordance with local safety regulations and legal requirements.
Warning of dangerous electrical voltage!
- Touching electrical cables can result in a fatal electric shock.
- Only use the charging station after it has been put into operation by a qualified electrician.
Follow the installation instructions!
For installation by a qualified electrician, refer to the AEG Wallbox WB 11 Fl / AEG Wallbox WB 22 Fl installation instructions.
OPERATION
Warning of dangerous electrical voltage!
Touching electrical cables can result in a fatal electric shock.
- Only use the charging station after it has been put into operation by a qualified electrician.
- Do not touch the plug connection on the charging cable, only on the coupler of the charging cable.
- Always close the protective cap at the end of the charging cable coupler after you have finished charging.
Prerequisites
- LED display flashes blue: The charging station is ready for charging.
- The vehicle is stationary.
Do not charge the electric vehicle when it is moving. It must have come to a complete standstill before charging is started and must not move during charging.
Check the following points before every charging process:
- Is the charging station firmly connected to the wall?
- Is the housing undamaged and closed?
- Is the charging cable undamaged?
The sheathing must not have any cracks and no metal must be exposed.
If the answer to any of the three questions is no, switch off the power supply to the charging station immediately and contact an electrician or customer service for repair work.
Is the coupler of the charging cable clean and dry?
If the coupler of the charging cable is wet or dirty, it can be cleaned with a clean and dry cloth.
Charging a vehicle
Plug the coupler of the charging cable into the vehicle socket. The LED status display lights up blue as soon as the vehicle is connected to the charging station. During the charging process, the LEDs light up green . The vehicle engages the charging coupler and requests the charging process. As long as the charging process is running, the charging coupler is engaged. The charging cable can only be unplugged after the process has been completed/cancelled.
- Unplug the coupler from the vehicle socket.
- Close the protective cap at the end of the charging cable coupler.
- Wind the charging cable onto the bracket of the charging station.
Cancelling the charging process
The charging process can be cancelled if the driver wants to use his vehicle before it is fully charged.
You have two options to cancel the charging process:
- via the controls in the vehicle,
- by switching off the fuse in the building.
The procedure should be cancelled using the controls on the vehicle. Only if this is not possible for safety reasons (e.g. if the vehicle is on fire) should the building security system be switched off.
Charging will continue when the fuse is switched on again and the charging cable is connected to the vehicle.
Malfunction or failure
In the event of a fault or failure, disconnect the charging station from the supply voltage by switching off the fuse in the building. Contact a qualified electrician for the repair work. If the building or wall box fuse trips, it must not simply be switched on again. This can result in damage to the charging station, the vehicle, etc.
- Disconnect the vehicle from the charging station.
- Find and eliminate the reason for the tripping or have a qualified electrician do so.
The fuse can then be switched on and the charging station reconnected to the vehicle.
Meaning of the LED display
| LED Display | Operating status |
| Flashing blue | Ready to connect |
| Steady blue | Connected to vehicle |
| Steady green | Charging in progress |
| Steady red | Overheating, cancel charging process |
| Flashing red | Malfunction, charging process cancelled |
MAINTENANCE/CLEANING
Testing the safety function
Have the safety function of the charging station checked twice a year by a qualified electrician.
Cleaning
Wipe the housing and the cable holder with a damp cloth. Do not use any aggressive cleaning agents. These can attack the plastic parts. Do not clean the vehicle or the area around the charging station with a high-pressure cleaner. The plug connection and the charging station are not resistant to pressurised water.
DISPOSAL
The charging station is a device that must be disposed of in accordance with national and regional regulations for waste electrical and electronic equipment.
Have the charging station dismantled and disposed of by a qualified electrician.




















