Wallbox
Assembly manual

Wallbox AC Charger
Before the installation, make sure that the module packages contain all the elements. Current version of the operation manual can be accessed at http://enelion.com/en/help/.
See the contents of the manual before initiating any activities related to the installation or the activation of the charger.
Important information
1.1.General Provisions
Installation and servicing of the device must be performed by qualified and authorized persons, and repairs may only be carried out by the manufacturer or entities authorized by the manufacturer.
Tampering with the mechanical, electrical and electronic components and the device software is forbidden and shall result in the nullification of the warranty.
The exceptions include operations described herein and those agreed in writing with the manufacturer.
The manufacturer is not responsible for damage to property resulting from the forbidden interference in the product.
The electrical installation to be used by the device during its operation must meet the conditions described in the installation manual. The manufacturer is not responsible for incorrect assembly and/or protection of the electrical installation to which the device is connected.
The manufacturer is not responsible for the malfunction of the electrical installation to which the device is connected.
The electrical installation to be used by the device during its operation must comply with the legal standards in force in the place of assembly and the operation of the device. The manufacturer is not liable for any damage caused by an electrical installation that does not meet legal standards.
The device does not have a built-in switch. The device activates when the supply voltage is applied. The power supply cut off function must be provided by the appropriate electrical installation devices described in the assembly manual. Except in emergencies, the device must not be turned off during the charging process.
It is forbidden to supply the power to the device when the device casing remains open.
The use of a mechanically damaged charger or a charger that indicates a critical error is forbidden.
It is forbidden to place in the charger socket any objects not intended for this purpose. A working power cable with a cross-section appropriate for the power supplied to the device and appropriate for the type of electric vehicle, terminated with a functional plug type 2 in accordance with EC 62196-2 is the only object that may be plugged in the charger socket.
It is forbidden to use any extensions of the charging cable.
The manufacturer is not responsible for loss of health or life by any persons resulting from failure to comply with the above-mentioned recommendations.
The data plate on the device is an integral part of the device and its removal or damage shall result in the nullification of the warranty.
1.2.Safety instructions
Outdoor installation should not be carried out during precipitation or strong wind, if there is a risk that wa- ter or dirt may get into the device.
All operations described in this manual should be performed only having made sure that there is no voltage in the power cable.
General information
Wall box is a charging station intended for electric road passenger vehicles. It is made of an aluminum casing, closed at its sides with reinforced polymer material. It includes a charging process control module, a front panel with an RFID reader, an OLED screen and LED signaling, and a TYPE 2 socket. Additional accessories can be installed. The range of functions of the device can be extended by adding such accessories as Endellion Bridge, Endellion MID or Endellion RCM B protection.
Some parameters and functions can be changed by reprogramming the device with the use of the attached RFID card. Endellion Wall box is available in two colors:
black and silver.

All Enelion charging stations are compatible with the original Enelion Chain communication protocol, which enables operation in the local network of chargers. This enables the Enelion DLB function to be activated for dynamic load balancing, thus reducing the number of devices that require an Internet connection and optimizing the use of power in charging vehicles.
All Enelion devices can be fitted with Enelion Bridge (an add-on to be purchased separately). It equips the devices with Smart functions and facilitates their connection to a remote management system (OCPP 1.6 compliant) via the Internet.
INFO
For more information, see the “User Guide”. It contains detailed information about the functionality and use of the device.
2.1.Opening and closing Enelion Wallbox
INFO
The 3 mm Allen key – included with the charger – is needed to open (or close) the Enelion Wall box.
No other tool is necessary for this operation.
INFO
Closing of the device is performed by repeating the steps in the reverse order.
INFO
The operations described below are identical for the device already mounted on the wall. Please note that the device must be opened at least once before the installation to allow access to the mounting holes on its back and to connect the power cable.
- Remove the rubber plugs from the top left and right hole of the device.
- Insert the supplied Allen key into the exposed hole. The key should be inserted until resistance is felt, i.e. until it cannot be pushed deeper.

- Turn the key counterclockwise until the locking pin is aligned with the side of the charger. Remove the Allen key from the hole. Repeat action number 2 for the second locking pin.

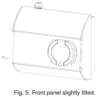
- Slide the front panel upwards of the device by holding the socket housing – use a suction cup as an option – until the lower edge of the front panel is exposed.

- Holding the socket housing, pull the bottom edge of the panel until it is released from the housing and tilted slightly.

- Holding the front panel in the same plane, slide it downwards from the top frame of the device.

- Slowly continue to pull out the front panel, watchful of the socket lock not hooking onto the housing.

- The front panel may freely rest next to the housing, hanging within the reach of the socket connection wires.

INFO
The panel is fitted into place by following the above operations in the reverse order.
WARNING
Be careful not to crimple the signal tape while fitting the front panel.
Design indications of the installation
3.1.Recommended power connection
Endellion charging stations are adapted to five-wire power supply from TN-S type and TT type grid. It is possible to apply three-wire power supply from TN-S type grid.
WARNING
Connection possibilities have been described in “User manual”, in the Device configuration section. Enelion charging terminal must be powered from the electrical switchboard. The board must have the required protections in the form of an overcurrent circuit
breaker with B or C characteristics and rated current of 32 A or lower, appropriate to the device version. To be compliant with the PN-EN IEC 61851-1: 2019-10 standard, each charging point must also be protected against type A or B residual current. This requirement must be met by one of the below:
- installation of a type B residual current device (RCD B 30 mA/40 A) or RCD EV (30 mA/40 A) in the switchboard,
- installation of a type A residual current device (RCD A 30 mA/40 A) in the switchboard with the application of Enelion RCM B – type B Residual Current Monitor, attached to the charging terminal.
The final selection of the safety devices belongs to an authorized designer or a qualified electrician.
The above requirements result in the necessity to use independent cables for multi-socket devices: Wallbox Duo Power and Wall box Ad space.
Wall box Duo multi-socket device allows one to power the charging sockets only in 1-phase mode. Therefore, it should be powered with one four-wire cable.
The cross-section of the power supply cables must be selected by an authorized electrician, depending on the distance from the switchboard and other conditions pertinent to the location. To obtain the maximum charging power in wall-mounted devices, the use of cables with a conductor cross-section not greater than 6 mm² is rec- commended. The diameter of the power supply cable with insulation must not exceed 16 mm. Cables running underground must be installed in accordance
with the binding building regulations. For convenient installation, flexible power cables, stranded type, terminated with clamping sleeves are recommended
INFO
In case of single phase installation, the maximum cross-section of the power supply cable to be assembled in connection terminals is 10 mm² . The diameter of the power supply ca- ble with insulation must not exceed 16 mm.
WARNING
To supply the voltage to the installed and connected charging station, first switch on the RCD protection, and next the overcurrent switch.
For installation, about 50 cm of power cable reserve from the expected installation position is recommended.
For Wall box Ad space devices, a reserve of about 110 cm of the cable supplying power to the left socket is recommended.
3.2.Recommended communication network
Enelion devices support the Enelion Chain communication interface. For its implementation, a wired connection between the devices is required using an Ethernet CAT 5 or CAT 6 cable.
For installation, leave about 50 cm of communication cables from the expected installation position.
The network works in a serial topology where:
- the number of Endellion charging points does not exceed 100 devices,
- the total length of the communication cable connecting the devices does not exceed 500 m.

Endellion devices equipped with the Endellion Bridge module can use the Internet connection via the Ethernet interface in the LAN network. In order to utilize this function, run the Ethernet CAT 6 cable to the device in which the use of this option is expected.
INFO
Devices equipped with Endellion Bridge can also use WIFI and GSM interfaces to ensure the Internet connection, but they do not have requirements related to cable installation.
3.3.Location selection criteria
Wall-mounted Endellion devices may be installed both internally or externally.
The device has been designed to be installed near parking spaces for electric vehicles. When used in the vehicle collision hazard zone, the structure should be secured with appropriate fenders painted in yellow and black stripes (warning about the gauge).
Bear in mind that the national regulations may define the space for the installation. The device should not be located in a place of high exposure to sunlight, which could cause overheating. Do not install the device near heat sources or in small, closed spaces (e.g. in a box).
It is forbidden to install a power cord that does not comply with the guidelines in section 3.1 Recommended power connection. It is forbidden to install the device in potentially explosive environment.
Local regulations for electrical installations, fire prevention measures and accident prevention must be taken into account, and escape routes at the installation site must be provided.
It is forbidden to install the device in a location where falling objects may damage the charger.
Before installation, make sure that the mounting space for the device is sufficient.
Wall box family devices should have at least:
- 10 cm clearance on each side of the unit.
Stile family devices should have at least:
- 10 cm clearance on the right side of the unit.
- 50 cm clearance above the top edge of the device.
- 100 cm clearance below the bottom edge of the device.
WARNING
The manufacturer accepts no responsibility for any damage resulting from failure to comply with the above-mentioned recommendations.
Assembly
WARNING
Before commencing the installation, switch off the power supplied to the cables.
4.1.Preparing the installation
- Place the packaged Endellion Wall box Easy horizontally, in accordance with the markings on the packaging. Cut the package open along the indicated line. Take the device out of the cardboard box, remove the polystyrene protective casing and put the device in the correct horizontal position.
- The polystyrene protection contains useful accessories required for the mounting of the device. Before recycling the packaging, collect those accessories that include:
• 3 mm Allen key,
• cable gland plug,
• RFID configuration card and RFID pendant. - Open Endellion Wall box in accordance with the instruction included in section 2.1 Opening and closing Enelion Wallbox.
4.2.Selection of bolts and anchors
Endellion Wall box is mounted on vertical surface using bolts. The device has four mounting openings.
Fig. 10: Mounting holes as seen from the back of the device.
Follow the information listed below to choose the appropriate method of assembly, depending on the mounting surface:
- four mounting holes are positioned on the plan of a rectangle with dimensions of 230 mm x 96 mm (width x height),
- mounting holes have a diameter of 5,5 mm,
- the device weighs between 3 kg – 3,5 kg,
- mounting must provide stability for the device to withstand significant forces affecting it when plugging and unplugging the charging cable in the socket.
WARNING
Use all mounting holes in the process of installation.
Failure to do so will result in the loss of water and dust resistance of the device, classified, as a default, as IP 54. This can lead to damage or failure of the charger, and consequently to loss of life or health. The manufacturer is not responsible for damage and injuries arising from failure to observe the above recommendations.
4.3.Cable routes
The default power cable entry is at the top of the device.
It is possible to insert the power cable from the bottom of the device by moving the gland by oneself. To do this, remove the plug on the bottom of the device.
The insertion of communication cables is possible from the bottom of the device. This requires the removal of the plug and the installation of a gland suitable for the type and number of communication cables to be routed. The opening diameter for the communication cable gland is 19 mm.

The removal of plugs for the assembly of cable glands should be performed according to the following guidelines:
- place the device on a stable surface,
- use a hammer and a flat-bladed screwdriver to knock out the gland hole plug carefully.

The cable gland in the upper part of the device should be put into the hole in the lower part of the device and screwed to ensure tightness. The gland nut requires a 32 spanner and the gland requires a 30 mm spanner.
After repositioning the gland, the opening in the upper part of the device should be closed with the plug provided with the product.
The cable gland for communication cables should be installed in accordance with the manufacturer’s instructions.
WARNING
If the gland is moved by the user, the manufacturer’s warranty for the tightness of the device in accordance with the IP54 class becomes void.
Correct performance of the operation ensures adequate tightness; however, the manufacturer reserves the right to refuse to repair, under warranty, the damage resulting from the relocation of the cable gland from the top to the bottom of the device.
4.4.Mounting the device
INFO
The device has been equipped with a template facilitating the installation.
- Determine the final location of the device using the attached template and the level, and mark the mounting holes. The template marks the mounting holes, the outline of the rear wall of the device, the axis of the glands (both in the version with a gland in the upper and the lower part of the device) and the optimal cable lengths. Mounting holes should be at least 5 cm from the edge of the wall (in case of a recess, minimum 20 cm — to leave enough space for the use of Allen key). The axis of the power cable must coincide with the axis of the glands marked on the template. Make sure that the power cord is at least 350 mm long, measured from the edge of the device marked on the template.
- Make assembly holes and install expansion bolts. Mounting holes should be made in accordance with the specification of expansion bolts, which should be placed in the cleaned holes.
- Make sure that there is no voltage in the power cords.
- Open the device as described in section 2.1 Opening and closing Endellion Wall box.
- Put the device in the target position by threading the power cable through the glands.
- Fasten the device with screws using a screwdriver with a shaft length of at least 150 mm.
- Screw on the power cable gland ensuring tightness.
- (Optional) Insert at least 350 mm of the communication cables into the device.
The device mounted in this way can be connected.
Connection
5.1.Power connection
Endellion Wall box comes in various types. Depending on which type is being installed, the power supply cables may be connected directly to the terminals or to the approved integrated MID meter.


5.1.1.Standard power connection
- Prepare the power supply cable.
Remove 200 mm of the main insulation off the power supply cable. Terminate the individual wires of the cable with fork (M4 or M5 size) or sleeve terminals. - Insert the power supply cables into the terminals.

- Use a PZ2 end screwdriver to tighten the terminals with 1,5 N m torque.

INFO
It is also possible to use a three-wire power supply in a TN-S network. The possible connection methods for the device are described in the
User Manual in the section titled Device Configuration.
5.1.2.Power connection in version with MID meter
- Prepare the power cord.
Remove 200 mm of the main insulation off the power supply cable. Terminate the individual wires of the cable with sleeve terminals. - Insert the power cables into the terminals of the MID meter and tighten them.
Unless otherwise marked on the label of the device, make a standard connection in accordance with the markings on the meter. The PE protective conductor should be connected to the prepared coupling.

MID meter communication connection should be done according to the diagram below:

HINT
The colors of the phase wires in Endellion Box may not match the colors of the power cables, maintaining, however, the guidelines on Endellion Wall box label. This is a correct and expected situation when using the phase sequence function.
5.1.3.RCM B Connection
Enelion RCM B – Residual Current Monitor type B accessory.
Endellion RCM B in combination with the RCD A used in the switchgear meet all safety requirements.
- Connect the device to the dedicated socket on the Pilot Box board. [Fig. 20]

- Pass through the RCM B hole four powering cables (All three phases and neutral cord.)

HINT
The way of cables through the RCMB hole does not matter. The RCMB monitor could be freely assembled on the socket cables or on the main income cables.
INFO
More information in the User Manual.
5.2.Enelion Chain
If the communication between the devices is expected to be via Endellion Chain network, the cables should be connected to the charge controller. Two cores of the communication cable and the screen grounding are used for communication. To connect correctly:
- Prepare communication cables
- (a)for devices at the beginning of the network, select a pair of communication wires,
(b)for devices in a section of the network, prepare the communication cables inserted into the device by connecting together the cores of the incoming and outgoing wires (in variant
A) or move to the next step (in variant B, check figures below).
Fig. 22: Incoming and outgoing communication cable connection (variant A)
Fig. 23: Incoming and outgoing communication cables (variant B) - Release the connector terminal by pressing the button using a flathead screwdriver and insert the wires into the respective locations. There will be single wires for devices at the start and end of the network.
Fig. 24: Diagram of Endellion Chain communication cables connection (variant A)
Fig. 25: Diagram of Endellion Chain communication cables connection (variant B) - Use termination for devices at the beginning and end of the network. In case of variant A place terminating jumper on the marked headers [Fig 28]. In case of variant B termination is done by slide the switch down, to show white square. In alternate version, if there is no switch, place a jumper on two pins in the header inside the charger marked by white line [Fig. 29].

Fig. 28: The place of applying the terminating jumper (variant A)
5.3.Internet connections via Ethernet interface in LAN network
To provide the Internet connection to a charger equipped with Endellion Bridge module via Ethernet interface:
- Insert the Ethernet cable into the device through the gland for communication cables.
- Terminate the cable with the RJ45 connector according to TIA-568A/B to 100BaseT.
Fig. 30: Termination of the Ethernet cable according to TIA-568A/B to 100BaseT. - Connect the Ethernet cable to the WAN/INTERNET socket of Endellion Bridge module marked with number 2.

Maintenance
The device is designed to operate in temperatures from −25 °C to 55 °C. The manufacturer does not guarantee the proper functioning of the charging station in temperatures outside the specified range. Chargers that are damaged because of exposure to temperatures below −25 °C or above 55 °C are not covered under the warranty.
In case it is necessary to open the device, make sure that it is disconnected from the power source. With the device installed outdoors, make sure that there is no precipitation or strong wind.
WARNING
The device may only be opened by a qualified and authorized person.
6.1.Cleaning
The correct way to clean the charger is to wipe the housing with a microfiber cloth using a cleaning agent dedicated to anodized aluminum. Plexiglas elements (front panel) and plastic elements (socket) should be cleaned with a microfiber cloth using a cleaning agent dedicated to cleaning windowpanes. Other cleaning methods (e.g. wire brush) may lead to the damage of the device housing. Damage resulting from improper cleaning of the device does not constitute grounds for warranty claims.
WARNING
The device meets the IP 54 standard. Therefore, it is forbidden to wash the charger with pressure washers, garden hoses, shower or any other water stream sources.
Technical data
7.1.Enelion Wall box
| Electrical data | |
| Routing of the power cord | Surface mounted |
| Power cord cross-section | Recommended minimum cross-section • 5x 6,0 mm2 (32A nominal current) |
| Supply voltage (Europe) | 3 x230 V/400 VAC (-1-10%) |
| Voltage frequency | 50 Hz/60 Hz |
| Network type | TN, TT (IT per special request) |
| Overvoltage category | III according to EN 60664-1 |
| Rated short-circuit current | Effective value < 6 kA according to EN 61439-1 |
| Overcurrent protection | Not included. Protection to be made in accordance with the locally valid regulations and according to the type of the device. |
| Protection Class | Class I |
| Socket type | Type 2, standard socket 32 N400 VAC in accordance with EN 62196-1 |
| Mechanical data | |
| Dimensions (width x height x depth) | 271 mm x 249 mm x 144 mm |
| Weight | 3,1 kg ± 5% |
| IP Class | IP54 |
| Mechanical strength class | IK10 |
| Interfaces | |
| Charging network development | Endellion Chain |
| Add-ons | • Enelion MID • Enelion Bridge • Enelion RCM B |
| RFID | MIFARE cards compliant with ISO 14443 |
| Ambient conditions | |
| Working temperature | from −25 °C to 55 °C |
| Storage temperature range | from −40 °C to 80 °C |
| Permitted relative air humidity | from 5% to 95% |
| Elevation above the sea level | maximum 2000 m |
| Signs of installation faults | |
| Damaged varactors on Pilot Box | It means faulty connection powering cords |
WARNING
Above information may be the basis for exclusion of warranty.
© 2022 ENELION
Pana Tadeusza 50, 80-123 Gda´nsk, Polska
Enelion Sp. z o.o.
[email protected]
Copyright, Enelion Sp. z o. o.
The manual may change as the product develops. The information provided may not be correct. All rights
reserved.
Revision: V 3.6
Number of pages: 23
Released: January 31, 2022











Fig. 22: Incoming and outgoing communication cable connection (variant A)
Fig. 23: Incoming and outgoing communication cables (variant B)
Fig. 24: Diagram of Endellion Chain communication cables connection (variant A)
Fig. 25: Diagram of Endellion Chain communication cables connection (variant B)
Fig. 28: The place of applying the terminating jumper (variant A)
Fig. 30: Termination of the Ethernet cable according to TIA-568A/B to 100BaseT.














