CRYSTORAMA ARA-10264-SB LED Chandelier

ASSEMBLY INSTRUCTION

The glass can be installed facing either up or down. Please decide the preferred direction before installing the rod onto the frame.
MODEL #ARA-10264-SB
WARNING:

All electrical components must be installed by a licensed electrician in accordance with the National Electric Code and the appropriate local electrical codes.

- You will need a 6-G9 LED Bulb
- LED 3.5 Watts Max.
- USE LED BULBS FOR EXTENDED USE
- THIS FIXTURE IS DRY RATED
How to install for hanging:
Please place the fixture frame on a soft cloth-covered table before the installation.
- Insert one end of a side rod into the coupler on the inside of the frame ring and secure it with set screw using the Allen wrench.Tighten the screw until it is flush with the rod. Do not over tighten the screw.Repeat for the other side rods.
- Insert the other end of a side rod into the coupler on the wire box and secure it with set screw using the Allen wrench.Tighten the screw until it is flush with the rod. Do not over tighten the screw. Repeat for the other side rods.
- Decide the preferred hanging height and choose the rods needed.
- Slip the wire through the rods and connect them together.Screw one end of the rod assembly onto the top of the wire box and the other end onto the swivel on the mounting bar.
- Install the mounting plate to the outlet box and raise the fixture up and do the wire connections. Raise the canopy up over the outlet box and secure with the collar ring.
- lide the rubber washer over the socket,and place the crystal shade and check ring over the socket and secure it with the socket ring using the wrench.
- Install the G9 led bulb into the socket.
WARNING: This product can expose you to Lead which is known to the state of California to cause cancer and/or birth defects or reproductive harm. For more information go to www.P65Warnings.ca.gov
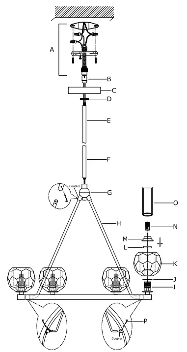
Part Numbers

- A. Mounting Hardware
- Mounting Bar
- Wire Nut
- Outlet Box Screw
- B. (1) Swivel
- C. (1) Canopy, W5″ *HI” ; XME10264SBCANSIN
- D. (1) Collar Ring
- E. (3) Rod W5/8*#12″: XME10264SBROD12IN
- F. (1) Rod WE5/8*H6″; XME10264SBROD6IN
- G. (1) Wire Box
- H. (3) Side Rod; XME10264SBSIDEROD
- I. (6) Socket
- J. (6) Rubber washer
- K. (6) Crystal Shade W4 5/16*H3 11/16; XME10264SGLA4. 3IN
- L. (6) Check ring
- M. (6) Socket ring
- N. (6) LED Bulb
- O. (1) Wrench
- P. (1) Allen Wrench














