FIAMMA 98655Z114 Westfalia Custom Nugget Lift Roof Kit Instructions
Package contents


Installation instructions
Check that nothing has been damaged or deformed during transport. In the event of doubts or questions concerning the installation, use or limitations of the product, contact the dealer. We recommend that the installation is carried out by qualified personnel and in compliance with current local regulations.
ATTENTION: INSTALLATION ON FIXING KIT
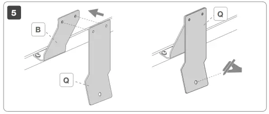
The awnings are to be fixed on the brackets so that the words “SUPPORT” on the awning are in correspondence of the brackets: this condition is necessary and indispensable for the two brackets situated at the extremities (which are located on the fixing point of the arms on the case-box). It is important, but not indispensable, for the central bracket/s as it/they provide/s only a mounting support. The brackets must always be well-aligned to each other to avoid later problems; in case they are not, they must be properly shimmed using the spacers to ensure the alignment. The installation of the awning can occur only when the adapter is perfectly aligned to the wall of the vehicle.







Important: use of SIKA 252 / Dekalin MS-5 / Zucchini MS Super Fast adhesive is essential for fixing the bracket (brackets). 





Important: use of SIKA 252 / Dekalin MS-5 / Zucchini MS Super Fast adhesive is essential for fixing the bracket (brackets). 



Before tightening the screws, make sure that the awning position doesn’t prevent the opening of the rear door.


WARNING! Standard delivered with the awning.
Dimension

Safety instructions
ATTENTION Periodically check the brackets to make sure they are firmly attached (especially after the first kilometers) make sure the bolts are not loose and that holding brackets have not shifted.
When using the awning please follow the instructions of the product.
Read the following instructions and warnings carefully; failure to observe these installation and usage instructions as well as the laws for driving in the relevant country may cause severe harm or damage for which the manufacturer declines all responsibility. Before installation, ensure compatibility with the vehicle on which the product must be installed. Checking that the wall/roof/rear door is sufficiently solid and suitable for guaranteeing the resistance of the anchoring points is always mandatory. If not, strength and compliance with the maximum load indicated in the instructions are not guaranteed and it will be necessary to reinforce it these points.
Warranty
In case of defects with regards to materials and manufacturing, the customer is entitled to the warranty in accordance with local laws and regulations of the country in which the product was purchased.
All rights reserved.
Fiamma S.p.A. reserves the right to modify at any time, without notice, prices, materials, specifi cations and models or to cease production of any model.


















