HARMON 011523 Garage Lift For A Roof Box

SAFETY INSTRUCTIONS
Read these instructions carefully before installation and use, and save them for future reference. Failure to follow all the instructions and safety instructions can lead to the risk of serious personal injury and/or material damage.
- Never exceed the maximum permitted load of 45 kg.
- Check before drilling and installation that there are no gas or water conduits in the roof or otherwise concealed in the work area and that there are no other concealed risks.
WARNING!
Drilling in power or gas conduits can result in serious personal injury or death.
- Do not install the product over areas frequented by people or pets, or where people are working or passing by.
- Check that the roof/mounting surface can support the maximum permitted load of 45 kg.
- Test the product with the maximum permitted load when the installation is complete to verify the bearing capacity of the roof and that the product is correctly installed.
- Do not use the product if the line shows signs of wear or damage. Replace the line before using the product.
- The product must not be used to lift persons – risk of overloading and breaking parts, with subsequent fall injuries, personal injury or death as a result.
- The product is only intended for indoor use. Do not install the product outdoors.
`SYMBOLS
Read the instructions.
Approved in accordance with the relevant directives.
Recycle discarded products in accordance with local – regulations.
TECHNICAL DATA
- Weight 45 kg


INSTALLATION
WHERE TO INSTALL
- Check before installation that there are no gas or water conduits in the roof where the product is to be installed or otherwise concealed in the work area and that there are no other concealed risks.
- If there are roof studs concealed behind plasterboard or anything else, use a stud detector to locate them.
- Check that the installation point provides ample distance to walls and other obstructions.
- The roof studs and the surrounding roof must support the weight of the product and the maximum product load.
- The roof brackets (pas. B) must be mounted in the middle of a heavy-duty and stable roof stud. To determine the correct distance between the two roof brackets (pas. B), measure the length of the object to be hung up and divide by 3. The gap between the roof brackets should be no more than 1.5 m. See example in

INSTALLATION ON ROOF STUD
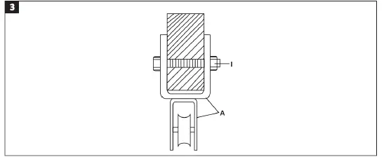
- Hold a line wheel holder (pas. A or D) against the stud and mark the holes.
- Drill two holes with a diameter of 9.5 mm where the holes are marked.
- Hold one line wheel holder (pas. A or D) in place on the stud, insert the retaining screws (pas. I) through the holes, fit the nuts and screw tight.
- Repeat steps 1 to 3 for the other line wheel holder.

INSTALLATION ON SMOOTH CEILING
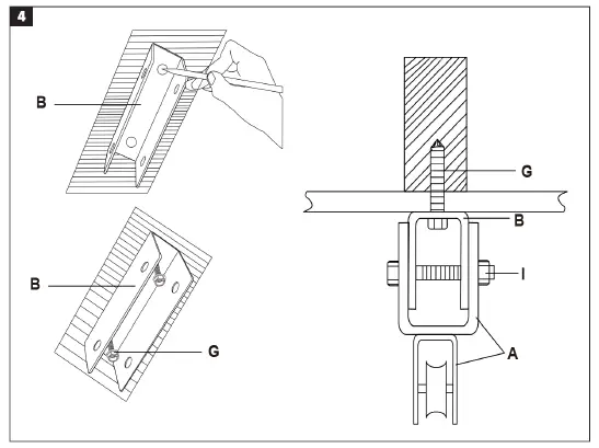
- Place a roof bracket (pas. B) on the centre line of the roof stud and mark the positions of the two mounting holes.
- Drill two holes with a diameter of 4.8 mm where the holes are marked.
- Fit the roof bracket (pas. B) in the roof with two roof bracket screws (pas. G). The roof bracket should be mounted with its open side down.
- Repeat steps 1 to 4 for the other roof bracket (pas. B).
- Before fitting the line wheel holders follow the instructions for inserting the line through the line wheel holder and the line wheel for the hook hanger.
- Fit the line wheel holders (pas. A and D) in the roof bracket (pas. B) with four roof bracket screws (pas. G).

INSTALLATION ON ROOF STUD AND SMOOTH CEILING
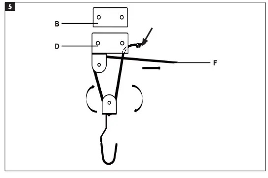
- Insert one end (pas. E) of the line through the opening in the line wheel holder without catch (pas. A) and tie a double knot. The second knot should be placed over the first knot. The double knot should be big enough to prevent it going through the hole.
- Insert the other end of the line through the hook hanger (pas. C) line wheel. Now insert the line through the line wheel holder without catch (pas. A).

- Insert the free end (pas. E) of the line through the line wheel holder with catch (pas. D) under the catch and through one of the holes (fig. 5).
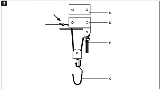
- Pull through the full length of line. Insert the free end of the line back through the line wheel holder with catch (pas. D).
- Insert the line end through the still unused second hole and back under the catch. Pull through an extra length of line and insert the end of the line over the second line wheel.

- Finally, insert the free end of the line (pas. E) through the second line hook hanger (pos. C) line wheel and through the hole in the line wheel holder with catch (pos. D).

- Tie another double knot on the free end of the line.

MOUNTING OF LINE FITTING
Complete the installation by mounting the line fastener (pos. F).
- The line fastener should be fastened to a vertical wall stud or equivalent structural element of solid wood with the retaining screws with crossheads (pos. H).

- The line fastener should be mounted at a wide angle. Always bind excess length of line to prevent the line catches releasing.
USE
- Use the hook hangers (pos. C) for hanging up bikes – one hook round the handlebars and the other under the saddle.
- Use the straps (pos. J) to hang up bulky objects. Release the catches in the strap extender (pos. K) connecting hook.
- Connect the strap (pos. J) coupling with the strap extender (pos. K) connecting hook. Replace the connecting hook catch to secure the connection. If necessary adjust the length (pos. J) of the strap with the adjustable strap.

- Insert the loops (pos. J + pos. K) under the object to be hung up. Put the loop in each strap end in the hook hangers (pos. C).
- Pull both lines at the same time to lift the object. Each line controls each end of the object, in order to trim the position.
- When the object has been lifted a little over the floor, slowly release the lines. The line catches will then engage and lock the object in raised position. Check that the object is suspended well-balanced, and that the straps are evenly spaced.
- Now lift up the object to the required height by pulling both lines at the same time. The line catches release when pulling one or both of the lines. For this reason hold both lines firmly when adjusting the position.
- When the object has reached the required position, release both lines at the same time to get the line catches to lock. Finally, always fasten the lines round the line fastener for extra security.
- To lower the object, slowly pull the line inwards to the line wheel. Pull both lines to release the line catches.

- Carefully release both lines at the same time to lower the object horizontally. Never attempt to lower the ends of the object separately. This will cause the other end to suddenly release and slide off the strap.

IMPORTANT:
Always hold both lines firmly when releasing the line catches. The line catches release both lines at the same time, even if you only pull one line.


















