![]()
Iconic® Connected Module
- Follow the installation instructions
- Download the Wiser™ by SE App
- Connect the Iconic device
- Configure the Iconic device
For your safety
DANGER HAZARD OF ELECTRIC SHOCK, EXPLOSION, OR ARC FLASH
- It is illegal for persons other than an appropriately licensed electrical contractors or other persons authorised by legislation to work on the fixed wiring of any electrical installation.
- To comply with all safety standards, the device must be used only for the purpose described in this instruction and must be installed in accordance with the wiring rules and regulation in the location where it is installed.
- Lock out and tag the input circuit before accessing the wiring connections.
- The Locking Bar on the grids must be set to the Closed position to ensure that the device cannot be removed during normal operation.
- There are no user serviceable parts inside the device.
Failure to follow these instructions will result in death or serious injury.
CAUTION EQUIPMENT DAMAGE HAZARD
- Install the device according to instructions in this document.
- Pay attention to the specifications and wiring diagrams related to the installation.
- Do not use the device for any other purpose than specified in this instruction.
- Dropping the device may damage the internal components. Check that the device operates after being dropped or if physical damage is shown.
Failure to follow these instructions can result in injury or equipment damage.
NOTICE EQUIPMENT DAMAGE HAZARD (LOAD AND OPERATION)
- Operation of the device at elevated temperatures or voltages outside of specification (240 V a.c. and 25 °C) may cause the over-temperature protection circuitry to operate.
- Reduce the size of the connected load or use a different brand of lamp to prevent recurrence.
- Do not operate the product for prolonged periods in extreme conditions.
Failure to follow these instructions can result in equipment damage.
NOTICE
MAXIMUM LOAD RATINGS APPLY Ensure that the number of low voltage lighting transformers connected to a single device does not exceed the maximum load rating of the device. Failure to follow these instructions can result in equipment damage.
Installation
Multi-gang orientation
![]()
Fitting the module to the grid
![]()
- Mounting the grid
- Wall box depth
- Module dimensions
![]()
Derating
For multi-gang applications, derate the maximum load rating of each module as shown in the table below. The load figures are based on a nominal voltage of 220-240 V a.c.
- Primary modules per plate/Max. load per primary module
- 1/10 A
- 2/7.5 A
- 3/6.5 A
Cabling and connections
(Typical 3-way installation using Iconic Connected Module)
Note: Set the ControlLink Module to Switch mode – see ControlLink Module instructions
![]()
Notes:
- All Active connections must be on the same phase.
- Up to 5-way switching (e.g. 1x 10AX Switch plus up to 4x ControlLink Modules, or up to 3x 10AX Switches plus 2x ControlLink Modules). In case of multiple 10AX Switches being installed, each switch must be connected to a separate load.
- Total length of CTL and Active loop: max. 50 m.
- Control and load cables must not be coupled.
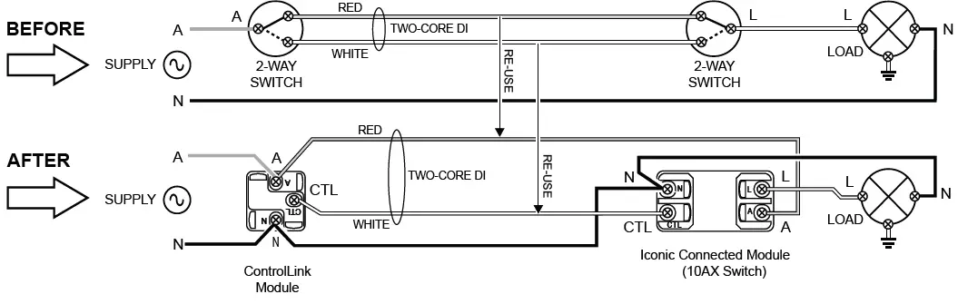
Retrofit (2-way installation shown)
![]()
Configuring the module (optional)
General information
This product operates as a switch ‘out-of-the-box’, with no configuration needed. The module can optionally be configured as a delay timer/run-on timer, and features a scheduler function. The module LED indicator behaviour can also be configured, if desired.
Note: The module must be paired with a mobile phone and the Wiser™ by SE App in order to perform these tasks.
Pairing
Note: When pairing the module with the Wiser by SE App, be in the same room and within a range of 8 to 10 m of the module. Range can be affected by walls and other structures.
![]()
- 1 Install the Wiser by SE App on your mobile phone and register an account.
- Tap Add Device in the Home page and select the module.
- Follow the animated instruction to pair the module.
- Module is paired to the App and displayed in the Home page.
Setting the LED indicator behaviour
![]()
- Tap the module in the Home page.
- Tap Settings in the module’s device Page
- Tap LED indicator settings in the device setting page.
- Tap the desired behavior in the list (default behavior: On when load is Off).
Setting the mode and timer type
![]()
- Tap Settings in the module’s device page.
- Tap Mode in the device setting page and choose from the available options.
Switch:
Timer feature is disabled.
Delay timer:
When the load is switched On, the load is automatically switched Off when the timer interval expires. (Example application: pantry light)
(Run-on timer option):
When the load is switched On and then Off, power is maintained to the load for the duration of the timer interval and then switched Off. (Example application: bathroom exhaust fan)
Note: If a delay timer is running when a scheduler event (switch On or switch Off) is actioned, the delay timer is cancelled.
Setting the timer interval
![]()
- Tap the timer display in the module’s device page.
- Select a time interval from the available options, then tap Confirm.
Setting the scheduler
![]()
Tap Schedule in the module’s device page and follow the steps in the App.
Restoring the device to factory defaults
Note: All customised settings and Bluetooth pairing information will be lost. Before restoring, remove the skin in order to see the module LED indicator.
Preparing the device for use with Wiser Hub
This module can be used as a device in a Wiser Hub network. The module must first be changed from BLE mode to Zigbee mode.
IMPORTANT: This operation will result in some data loss and the device needs to be re-configured after the mode has been changed successfully. For further details, please contact customer support.
![]()
For information on using the module with the Wiser Hub, refer to the Wiser System User Guide.
Technical data
Note: See product datasheet for full specifications.
| Operating voltage | 220–240 V a.c., 50 Hz |
| Max load rating | 15 A. Refer to Load Compatibility table |
| Switching technique | Relay |
| Protection | Over temperature: Yes Short circuit: No Over-current fuse: No Thermal protection: Yes |
| Design | 3-wire |
| Multiway control | Yes, via ControlLink |
| Multiway limits | Max. 5-way switching |
| ControlLink/Active cable limit | Total length of CTL and Active loop: max. 50 m |
| LED indicator | Yes |
| Supported protocols | BLE (default), Zigbee |
| Compatible plate ranges | Iconic, Iconic Styl, Iconic Essence, Pro Series |
| Mounting centres | 84 mm pattern plate |
| Compliance | Safety: AS/NZS 60669.2.1 EMC: AS/NZS 60669.2.1 RF: AS/NZS 4268 |
| Power failure data retention | Internal date/time retained for at least 6 hrs. Settings preserved indefinitely. |
| Environmental rating | IP20 (designed for indoor use only) |
| Operating humidity | 5%–90% RH, non-condensing |
Load compatibility
| Resistive load (e.g. incandescent lighting) | 15 A |
| MV halogen load |
10 A |
| Electronic LV lighting transformers | |
| LED lighting drivers | |
| Linear fluorescent ballasts | |
| Inductive load (e.g. exhaust fan) | 6 A @ 0.6 PF |
| M-rating | M.40 |
Disclaimer
Schneider Electric reserves the right to change specifications, modify designs and discontinue items without incurring obligation and whilst every effort is made to ensure that descriptions, specifications and other information in these instructions are correct, no warranty is given in respect thereof and the company shall not be liable for any error therein. © Schneider Electric 2020 This material is copyright under Australian, New Zealand and international laws. Except as permitted under the relevant law, no part of this work may be reproduced by any process without prior written permission of and acknowledgment to Schneider Electric. Android is a trademark of Google Inc. Apple is a trademark of Apple Inc., registered in the U.S. and other countries. Wiser™ is a trademark and the property of Schneider Electric SE, its subsidiaries and affiliated companies. Zigbee® is a registered trademark of the Zigbee Alliance.
















