B08ZND2SMN LED Lighted Medicine Cabinet
Instruction Manual

For easy and safe installation, please refer to the following:
Read all instructions thoroughly before installing the enclosed product.
Read and take note of all safety, care and maintenance information.
PLEASE KEEP THIS INSTRUCTION MANUAL FOR FUTURE REFERENCE DURING PRODUCT OPERATION AND MAINTENANCE.
INSTALLATION INSTRUCTIONS

WARNING AND SAFETY INSTRUCTIONS
Before installing your LED Medicine Cabinet fixture, please make sure that you carefully read through this instruction sheet, and refer back to them during installation to ensure your product is fitted safely and correctly. Keep these instructions for future use.
WARNING Risk of Fire and Electric Shock
- All fittings must be installed in accordance with current IEE wiring regulations. If in doubt, consult a qualified electrician.
- Switch off the electrical supply at the main circuit board BEFORE installation and maintenance.
- Suitable for indoor use only. This product should be positioned well away from curtains and fabrics. Never cover the mirror.
- Regularly check the cord, the transformer, and all other parts for damage, if any part is damaged the product should not be used.
INSTALLATION SAFETY
- Inspect the product immediately upon receipt for any possible damage during transportation or missing parts. Handle the product with care and protect against knocks to all sides and edges of the glass.
- Ensure there are no hidden pipes or cables in the wall before drilling.
- Wear suitable eye protection when drilling. Take care if drilling on tiled surfaces in case the drill slips.
CAUTION
The light source of this product is non-changeable light diodes (LED). Do not disassemble the product, as the light diodes can cause damage to the eyes.
NOTE: The important safeguards and instructions that appear in this manual are not meant to cover all possible conditions and situations that may occur. It must be understood that common sense, caution, and care are factors that can’t be built into any product. These factors must be supplied by the person(s) caring for and operating the fixture. Do not install this fixture in hazardous locations.
REQUIR TOOL SED

PARTS SUPPLIED

The doors and cabinet are separately packed, considering the huge weight, we suggest installing the cabinet first.
Cabinet installation Instructions for Hanging Walls
![]() | The side panels and cabinets are individually packaged, you need to follow STEP 5 to STEP 7 to install the side panels for the hanging walls version, for embedded installation no need to install the side boards. |
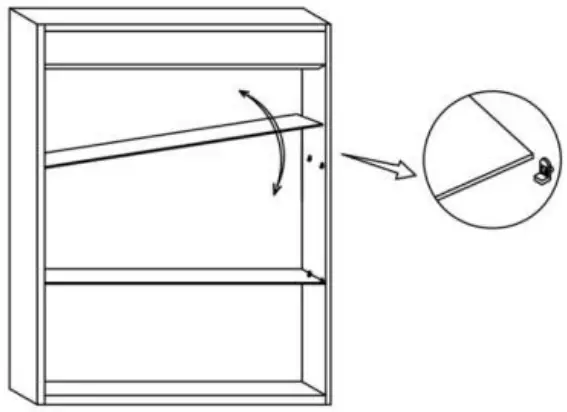
![]() | Insert the glass shelves between the layer board clips.![]() |
![]() | |
* All diagrams are for reference only. All model dimensions and proportion positions will vary.
Instructions for assembling the doors and cabinet
- Insert the hinges to the base, then connect the doors with the cabinet

- Adjust corresponding screws on the hinge to align the doors, and ensure that gaps are even and the doors open and close smoothly

- Insert the wire on the door into the terminal on the cabinet and tighten the screw


Manual to turn on/off light, dimming, CCT changing with touch switch
| • Short ‐touch the button to turn on/off the mirror. • Adjusting color temperatures (CCT) between warm white and cool white by long ‐touching the button for seconds. • Finish setting by withdrawing your finger when the color reaches the one you need. • Optional to be wired to wall switch by ON/OFF memory function. | |
| • Short‐touch the button to turn on/off the mirror. • Long touching the button to adjust the brightness (Dimming). • Finish setting by withdrawing your finger when the brightness reaches the one you need. | |
| • The mirror begins to be warm and defog after pressing the defogger button. • Press again to quit the anti-fog function. • Note: The defogger will stop automatically after 60 minutes of continuous operation to prevent any damage caused by prolonged high temperatures. |
Manual to setting clock with touch switch
- Choose and set the clock and temperature mode
-Turn off the light.
-Long-touch button 2 to choose and set the mode when it flashes.
There are two clock and temperature modes to choose from.
A: 12C/12F: Fahrenheit (F) and 12 hours
B: 24C/24F: Celsius (C) and 24 hours
The default mode is 12C/12F. - Setting the clock
-Turn off the light to set the clock.
-Long touch button 1 for seconds, the Hour will flash, then short-touch button1 and 2 to set Hour.
-Wait for seconds after setting up the Hour, then it will automatically switch to the Minute flash.
-Short-touch buttons 1 and 2 to set up the Minute.
-Wait seconds after you finish the time setting, the time will be saved automatically. - Turn on/off the touch switches’ blue background light
-In default mode, the touch switches are with blue background light , a long-touch button 3 to turn on/off the blue background light.
Remarks:
- The clock shows for 5s, and shifts to the temperature showing for 2s then goes back to show the clock.
- It automatically displays the indoor temperature by auto-sensing through the temperature sensor.
- , DO NOT cover the temperature sensor.

Website: http://www.exbriteusa.com
Email: [email protected]
Hotline: +13023368180

The side panels and cabinets are individually packaged, you need to follow STEP 5 to STEP 7 to install the side panels for the hanging walls version, for embedded installation no need to install the side boards.

























