WOODBRIDGE MCL2430 LED Medicine Cabinet

- Model: MCL2430
- Model: MCL3630
- Model: MCL4830
Thank you for choosing our products. Please read the instructions carefully before installation and keep it available for future maintenance or reference.
Please don’t hesitate to contact us if you have questions or concerns. Customer Service Phone: 562-229-0088 (Monday – Friday 9AM – 5PM Pacific Standard Time)
Safety Instructions
Please read the instructions carefully before installation and keep it available for future maintenance or reference.
Failure to observe this instruction can cause bodily injury and property damage
Explanation of symbols
| Warning | Refers to an immediately dangerous situation that will cause serious injury or death. |
| Caution | Refers to a potentially dangerous situation that may cause slight or moderate injury or property damage. |
Explanation of symbols
| Symbol | Indication |
| Caution | Refers to prohibited activities. |
| Caution | Refers to mandatory activities. |
| Warning — To reduce the risk of burns, electrocution, fire, or injury to persons: | |
|
Mandatory activities | Before using the product, install reachable power cut equipment outside the product. Only for safety use in areas with altitude below 2000m. (6561 foot) Grounding Instructions This product should be grounded. In the event of an electrical short circuit, grounding reduces the risk of electric shock by providing an escape wire for the electric current. This product is equipped with a cord having a grounding wire. WARNING – Improper use of the grounding plug can result in a risk of electric shock. If repair or replacement of the cord is necessary, do not connect the grounding wire to either flat blade terminal. The wire with insulation hsving an outer surface that is green with or without yellow stripes is the grounding wire. Check with a qualified electrician or service personnel if the grounding instructions are not completely understood, or in doubt as to whether the product is grounded properly. The product is factory equipped with a specific electric cord. If the product must be reconnected for use on a different type of electric circuit, the connection should be made by qualified service personnel. If the power cord is damaged, repairs should only be carried out by qualified technician. |
| Warning | |
|
| Do not try to disassemble the device. The disassembly of the device by unauthorized personnel may damage the device. And will also void the device warranty. Do not handle the electrical plug with wet hands. Never operate this product if it has a damaged cord or plug. Call for professional service. The product should be used with a grounded socket rated at lease 15A. Do not other electric appliances in the same socket. The plug should be fully inserted to socket. |
| Caution | |
| Caution
| Do not place the product in a location exposed to direct sunlight as this will shorten the life of the electronic components. Avoid placing other objects within a distance of at least (5”) below infrared sensor or mirror objects facing the sensor within a distance of (9.8”) , so that performance is not impaired. Only for indoor use. Avoid exposing the product to rain or moisture. Never immerse the product in water or other liquid. Avoid direct exposure to sunlight and keep away from heat sources. The device may not operate normally otherwise. Do not use any sharp items to damage the product as this may crush and cause injury. Do not attempt to disassemble the product for any kind of repairs. This is to prevent damage to the product and it also voids the warranty. Do not place the product in very cold (under -5℃) or very hot (over 40℃) environments as this may cause the device not to operate normally. Do not insert pins, iron wires or other objects into product holes. Do not move, shake or tilt the product during operation. Do not place the product in unstable or humid places. Keep a distance from the heating area when the defogger in operation, to avoid burns. |
Parts identification
MCL2430 (24 inches)

MCL3630(36 inches)

MCL4830 (48 inches)

Technical Specification
| Rated voltage | 120V | ||
| Rated frequency | 60Hz | ||
| Ambient temperature | -5℃ ~ 40℃ (23F~104F) | ||
| Power cord length | About 1.3m (51.2’’) | ||
|
Lighting | Rated voltage | DC 24V | |
| Max power | 7.5W*2 | ||
| Color temperature | LED 3000K、4500K、6000K | ||
| Installation location | Two side of cabinet | ||
| ※ UV sterilization lamp | Emission power | 15mW*3 | |
| Installation location | Top of right inner cabinet | ||
| Defogger (electrical heating) | Heating power | 18W | |
| Size | 300mm*400mm | ||
| Installation location | Back of outer mirror | ||
|
Socket | AC | American standard, 14A,3-hole ;Maximum output power:1680W | |
| DC | USB charging port (Maximum total current of 2 USB ports is 3.6A.) | ||
| Installation location | Inner cabinet | ||
Only 36 inches (2 doors) and 48 inches (3 doors) model with UV sterilization lamp.
This device complies with Part 15 of the FCC Rules. Operation is subject to the following two conditions:
- This device may not cause harmful interference, and
- This device must accept any interference received, including interference that may cause undesired operation.
Caution: Changes or modifications not expressly approved by the party responsible for compliance could void the user’s authority to operate the equipment.
NOTE: This equipment has been tested and found to comply with the limits for a Class B digital device, pursuant to Part 15 of the FCC Rules. These limits are designed to provide reasonable protection against harmful interference in a residential installation. This equipment generates, uses and can radiate radio frequency energy and, if not installed and used in accordance with the instructions, may cause harmful interference to radio communications.
However, there is no guarantee that interference will not occur in a particular installation. If this equipment does cause harmful interference to radio or television reception, which can be determined by turning the equipment off and on, the user is encouraged to try to correct the interference by one or more of the following measures:
- Relocate the receiving antenna.
- Increase the separation between the equipment and receiver.
- Connect the equipment into an outlet on a circuit different from that to which the receiver is connected.
- Consult the dealer or an experienced radio/TV technician for help.
Using the Mirrored Cabinet
Turning the device on/off
- Insert the leakage protection plug into a power socket, press the reset switch, plug indicator lights up, indicating that the power is on.
- Turn on power to enter standby mode, and off to shutdown mode.
Note: Press the test button prior to usage, the reset switch pops up indicating that the leakage protection function is normal. Press the TEST button (then RESET button) every month to assure proper operation.
Operation instructions
- Light on:When light is off, wave hand 3-5cm below light sensor to turn light on.
- Light off:When light is on for more than 10 seconds, wave hand 3-5cm under light sensor to turn light off.
- Switch light color:When light is turned on or light color is switched for less than 10 seconds, wave hand under light sensor to switch light color.
- Adjust light brightness:When light is on, place hand under light sensor for more than 1 second to adjust light brightness steplessly.
- Defog: Defogger and power switch controlled at same time.
- UV sterilization:When this function is off, place hand under UV sterilization sensor for 2 seconds until it beeps, indicating UV sterilization function is turned on. Place hand under sensor for 2 seconds again to turn off the function. The function will turned off automatically after 15 minutes or when the right door is opened.(Only for products with UV sterilization lamp)
Socket/USB
The socket/USB is located inside the cabinet
Cleaning the device
Please shut down the device before cleaning. Do not use any kind of chemical detergent to wipe the device. It is recommended to use a soft, fine, non-corrosive cloth.
Before Installation
WARNING: Risk of electric shock. Disconnect power before installation.
WARNING: Risk of electric shock. Connect only to a properly-grounded , grounding-type receptacle which is supplied by a 120~, 60Hz power and protected by Residual Current Device (RCD). It is important to identify the type of wall where the medicine cabinet will be installed and prepare the installation location accordingly.
Install an anchoring brace in the wall prior to installing the drywall, this can be a 2’’ x 6’’ piece of wood that will fit between the two studs, then install drywall and finish as usual. Due to excessive weight of this medicine cabinet, It should not be mounted to drywall ubless it is properly secure to the anchoring brace.
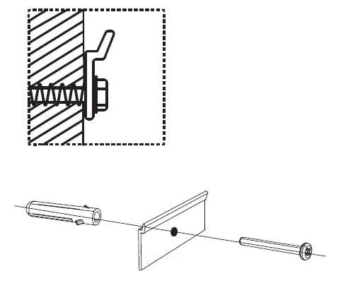
Tools and Materials
Dimensions
MCL2430 (24 inches)
MCL3630(36 inches)
MCL4830(48 inches)
Note:
- The drawing is for reference only, and we reserve the right to modify the product appearance, without prior notice.
- Product appearance is subject to change in kind, without prior notice.
Installation
- Mark the locations of mounting bars (determining the center point) and screws

- Drill installation holes at the marked locations, and insert the wall anchor where needed.

- Fix the mounting bar with screws.

- Put the cabinet on the mounting bar and connect to hook properly

- Slide two brackets into the grooves at the bottom of cabinet. Mark the installation locations, drill holes and insert the wall anchor

- Fix the bracket with screws

- Insert the clips into the side holes and fit the shelves into the clips

- If needed, align the door.

Please don’t hesitated to contact us if you have questions or concerns.
Customer Service Phone: 562-229-0088 (Monday – Friday 9AM – 5PM Pacific Standard Time)




























