The Home Depot MC2636 Aluminum Medicine Cabinet

List of Parts

Tools Needed

Rough Wall Opening
| Overall Size | Rough Wall Opening |
| 36 in.(W) X 26 in.(H) X 5 in.. (D) | 36-1/4 in(W) X 25-5/16 in. (H) X 3-7/8 in. (D) |
Use a 1/4 in. (6 mm) drill bit for drywallanchor installation. Use a 1/8 in. (3mm) drill bit for direct stud installation.
NOTE: If installing into a material otherthan drywall or into stud, consult professional for proper installation.
- Measure and mark two bottom mounting holes on the wall corresponding to the pre-drilled hole locations in the bottom mounting bar.

- Use a 1/4 in. (6 mm) drill bit for drywall anchor installation. Use a 1/8 in. (3mm) drill bit for direct stud installation.
NOTE: If installing into a material other than drywall or into stud, consult a professional for proper installation.
- Put the cabinet on the bottom bar hanger and hold the cabinet, please make sure that the hanger must mach the track from the bottom board of the cabinet

RECESS MOUNT INSTRUCTIONS
NOTE: Rough opening is not an exact measurement. The extra space allows cabinet to be inserted into the opening. Add shims to level and tighten space if necessary. Additional framing might be required.
- Prepare the opening in the wall for the cabinet body. Make sure that there is support on both sides of the opening to attach the cabinet body, as shown.
NOTE: Before cutting the rough opening, check for pipes, electrical cables, or heatingducts. If it is required to remove part of stud, make sure that the wall is not a load bearing wall.
NOTE: The cabinet height should be a minimum 2 in. above faucet.
- Position the cabinet body in the rough wall opening. Make sure that the cabinet body flange covers the wall opening uniformly. Secure both sides of the cabinet body to the wall supports using mounting screws.
NOTE: The cabinet body must be level for the door to work properly.
SHELF ADJUSTMENT
For your convenience, adjustable shelves have been pre-installed. In order to adjust shelf location:
- Carefully slide the shelf out from shelf clips. See fig. 1.
- Loosen each shelf clip screw (two for each shelf) and slide to the desired location.See fig 2.
- Carefully slide the shelf into the shelf clips making sure shelf is level and retighten shelf clip screws.

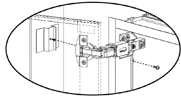
HINGE ADJUSTMENT

SIDE-TO-SIDE:
Door is adjustable side to side by turning screw A clockwise or counterclockwise.
UP-DOWN:
Loosen screw B on both top and bottom of hinge plate. Raise or lower door to the desired position and re-tighten both screws.
IN-OUT:
- Loosen screws C on both top and bottom hinges. Move the door in or out to desired position and re-tighten.
- If you have any questions please do not hesitate to contact [email protected]

























